«Գրանցված է»
ՀՀ արդարադատության
նախարարության կողմից
25 մայիսի 2007 թ.
Պետական գրանցման թիվ 32007222
ՀԱՅԱՍՏԱՆԻ ՀԱՆՐԱՊԵՏՈՒԹՅԱՆ
ԿԱՌԱՎԱՐՈՒԹՅԱՆՆ ԱՌԸՆԹԵՐ
ՔԱՂԱՔԱՑԻԱԿԱՆ ԱՎԻԱՑԻԱՅԻ ԳԼԽԱՎՈՐ ՎԱՐՉՈՒԹՅՈՒՆ
|
27 ապրիլի 2007 թ. |
N 68-Ն |
Հ Ր Ա Մ Ա Ն
ՀԱՅԱՍՏԱՆԻ ՀԱՆՐԱՊԵՏՈՒԹՅԱՆ ՄԻՋԱԶԳԱՅԻՆ ԵՎ ՆԵՐՔԻՆ ՕԴԱՆԱՎԱԿԱՅԱՆՆԵՐԻ ԱԵՐՈԴՐՈՄՆԵՐԻ ՍԵՐՏԻՖԻԿԱՑՄԱՆ ԿԱՐԳԸ ՍԱՀՄԱՆԵԼՈՒ ՄԱՍԻՆ
Ղեկավարվելով Հայաստանի Հանրապետության «Ավիացիայի մասին» օրենքի 12-րդ հոդվածի 4-րդ մասով և հիմք ընդունելով «Միջազգային քաղաքացիական ավիացիայի մասին» կոնվենցիայի (այսուհետ` Չիկագոյի կոնվենցիա) թիվ 14 «Աերոդրոմներ» Հավելվածի և Քաղաքացիական Ավիացիայի Միջազգային Կազմակերպության (այսուհետ` ԻԿԱՕ) ղեկավար ձեռնարկի (Դոկ. 9774) դրույթները.
ՀՐԱՄԱՅՈՒՄ ԵՄ`
1. Հաստատել «Հայաստանի Հանրապետության միջազգային և ներքին օդանավակայանների աերոդրոմների սերտիֆիկացման կարգը»` համաձայն հավելվածի:
2. Սույն հրամանը ուժի մեջ է մտնում պաշտոնական հրապարակման օրվան հաջորդող տասներորդ օրը:
| Գլխավոր վարչության պետ` |
Ա. Մովսեսյան |
|
Հավելված |
Կ ա ր գ
Հայաստանի Հանրապետության միջազգային եվ ներքին օդանավակայանների աերոդրոմների սերտիֆիկացման
Բ ա ժ ի ն I
Աերոդրոմների սերտիֆիկացում
Գ լ ու խ I
Ընդհանուր դրույթներ
1. Միջազգային և ներքին օդանավակայանների աերոդրոմների սերտիֆիկացման կարգը (այսուհետ` Կարգ) սահմանում է միջազգային և ներքին օդանավակայանների աերոդրոմների (այսուհետ` Աերոդրոմ) սերտիֆիկացումը, որտեղ շահագործվում են քաղաքացիական օդանավեր:
2. Կարգի դրույթները տարածվում են Հայաստանի Հանրապետության քաղաքացիական և քաղաքացիական ու ռազմական ավիացիայի օդանավերի համատեղ բազավորման և համատեղ օգտագործման աերոդրոմների վրա:
Գ լ ու խ II
Աերոդրոմների սերտիֆիկացումը
3. Կարգի իմաստով աերոդրոմների սերտիֆիկացում է համարվում գործառույթ, որի ընթացքում տեսական և գործնական եղանակներով ուսումնասիրվում է աերոդրոմի համապատասխանությունը Կարգի 2-րդ բաժնով և Չիկագոյի կոնվենցիայի թիվ 14 «Աերոդրոմներ» Հավելվածի թիվ 1 հատորով սահմանված չափանիշերին և միջազգային ստանդարտներին:
4. Աերոդրոմների սերտիֆիկացումն իրականացվում է Հայաստանի Հանրապետության կառավարությանն առընթեր քաղաքացիական ավիացիայի գլխավոր վարչության (այսուհետ` Գլխավոր վարչություն) պետի հրամանով ստեղծված հանձնաժողովի (այսուհետ` Հանձնաժողով) կողմից մեկամսյա ժամկետում. հետևյալ փուլերով և կարգով`
1) Նախնական հայտի ուսումնասիրություն: Աերոդրոմը շահագործողի (այսուհետ` Հայտատու) կողմից Գլխավոր վարչություն է ներկայացվում աերոդրոմը սերտիֆիկացնելու նախնական հայտ, ներառելով աերոդրոմի վերաբերյալ հետևյալ տեղեկությունները` աշխարհագրական դիրքը (կոորդինատները), երկրաչափական չափսերը, տարրերի (վազքուղի, ղեկուղի, կառամատույց) կրողունակությունը և օդանավերի տիպերը, որոնք նախատեսվում է շահագործել.
ա. Կարգի իմաստով աերոդրոմի շահագործող է համարվում օդանավակայանի սեփականատերը կամ այն իրավաբանական անձը, որն իրականացնում է օդանավակայանի կառավարումը և շահագործումը,
բ. եթե աերոդրոմի վազքուղին (ները) նախատեսվում է սերտիֆիկացնել ԻԿԱՕ-ի միջազգային ստանդարտներով սահմանված I, II կամ III կարգախմբերով, ապա նախնական հայտին կից ներկայացվում է մասնագիտացված կազմակերպության փորձագիտական եզրակացությունն աերոդրոմի շրջանի համապատասխանության վերաբերյալ,
գ. Հանձնաժողովը, հնգօրյա ժամկետում, ուսումնասիրելով վերը նշված տեղեկությունները, ինչպես նաև աերոդրոմի շրջակա տեղանքի պայմանները, գնահատում է աերոդրոմի անվտանգ շահագործման հնարավորություններն ու սերտիֆիկացման նպատակահարմարությունը և արդյունքների մասին գրավոր տեղեկացնում է Հայտատուին,
դ. նախնական հայտի ուսումնասիրությունների բացասական արդյունքի դեպքում աերոդրոմի սերտիֆիկացման գործընթացը դադարեցվում է,
ե. տվյալ փուլի աշխատանքները կարող են իրականացվել Հայտատուի հետ համատեղ:
2) Պաշտոնական հայտի ներկայացում: Նախնական հայտի վերաբերյալ դրական պատասխան ստանալու դեպքում Հայտատուն Գլխավոր վարչություն է ներկայացնում պաշտոնական հայտի փաթեթը, որն ընդգրկում է`
ա. աերոդրոմը սերտիֆիկացնելու հայտը, համաձայն Կարգի հավելված 1-ի,
բ. Հայտատուի պարտավորագիրը, համաձայն Կարգի հավելված 2-ի,
գ. տեղեկանք աերոդրոմում և դրա շրջանում օդային երթևեկության սպասարկման և հարակից միջոցների, ինչպես նաև օդերևութաբանական ապահովման ծառայություններ մատուցող կազմակերպությունների կամ դրանց ստորաբաժանումների մասին,
դ. «Աերոդրոմի ձեռնարկը» (այսուհետ` Ձեռնարկ), որը մշակվում և հաստատվում է Հայտատուի կողմից, համաձայն ԻԿԱՕ-ի թիվ 9774 փաստաթղթի (Դոկ. 9774) «C» և «Լրացում» բաժինների դրույթների: Ձեռնարկում պետք է ընդգրկված լինեն նաև Աերոդրոմի վթարափրկարարական և հակահրդեհային անվտանգության միջոցառումների ծրագիրը և տեղեկություններ թռիչքների անվտանգության կառավարման համակարգի վերաբերյալ, ICAO-ի թիվ 9859 փաստաթղթի (Դոկ. 9859) ուղեցույցների համաձայն,
ե. ի լրումն սույն կետում թվարկած փաստաթղթերի, Գլխավոր վարչության հարցման համաձայն, Հայտատուն ներկայացնում է տեղեկություններ աերոդրոմի շահագործումը և տեխնիկական սպասարկումն ապահովող ստորաբաժինների և դրանց աշխատակիցների մասնագիտական պատրաստվածության մասին:
3) Պաշտոնական հայտի գնահատում: Հանձնաժողովը, տասնօրյա ժամկետում ուսումնասիրում և գնահատում է`
ա. Ձեռնարկի համապատասխանությունը սույն կետի 2-րդ ենթակետի «դ» պարբերությունում ներկայացված պահանջներին,
բ. Ձեռնարկում ներկայացված աերոդրոմի տարրերի (վազքուղի(ներ), ղեկուղի(ներ), կառամատույց (ներ), անվտանգության եզրագոտիներ, թռիչքագոտի(ներ) ֆիզիկական բնութագրերի, աերոդրոմում տեղադրված և շահագործվող սարքավորումների, ինչպես նաև դրանց տեխնիկական ցուցանիշերի համապատասխանությունը Կարգի 2-րդ կետում ներկայացված փաստաթղթերով սահմանված չափանիշերին,
գ. Հայտատուի կողմից թռիչքային և ավիացիոն անվտանգության ապահովմանն ուղղված միջոցառումները,
դ. Աերոդրոմում և դրա շրջանում օդային երթևեկության սպասարկման և հարակից միջոցների, ինչպես նաև օդերևութաբանական ապահովման ծառայություններ մատուցող կազմակերպությունների կամ դրանց ստորաբաժանումների համապատասխան թույլտվությունները, համաձայն «Ավիացիայի մասին» Հայաստանի Հանրապետության օրենքի 11-րդ հոդվածի դրույթների,
ե. եթե Աերոդրոմում առկա են անհամապատասխանություններ միջազգային ստանդարտներից, ապա Ձեռնարկին կից Հայտատուի կողմից ներկայացվում են դրանց ցանկը և ձեռնարկված միջոցառումները, որոնցով ապահովվում է թռիչքային և ավիացիոն անվտանգության համազոր մակարդակը:
4) Ձեռնարկի վերաբերյալ դիտողությունների և առաջարկությունների բացակայության դեպքում այն հաստատվում է նաև Գլխավոր վարչության պետի կողմից, իսկ դրանց առկայության դեպքում այն պաշտոնապես վերադարձվում է Հայտատուին լրամշակման:
5) Աերոդրոմի գործնական ուսումնասիրություն: Հանձնաժողովը Հայտատուի հետ համատեղ ուսումնասիրում է աերոդրոմի փաստացի համապատասխանությունը Ձեռնարկում ներկայացված տվյալների հետ, ինչպես նաև անցկացնում է աերոդրոմում տեղադրված ու շահագործվող համակարգերի և մեքենասարքավորումների զննում:
6) Սույն կետի 5-րդ ենթակետում նշված գործառույթների շրջանակներում ուսումնասիրվում են`
ա. աերոդրոմի տարրերի ֆիզիկական վիճակը (չափերը, համակցումները, ծածկույթի վիճակը),
բ. աերոդրոմում և դրա շրջանում առկա օդային խոչընդոտները և դրանց մականշումները,
գ. աերոդրոմում տեղադրված նավիգացիոն լուսաազդանշանային համակարգը, խոչընդոտների գիշերային մականշումները (լուսափարոսները), կառամատույցի լուսարձակային լուսավորությունը,
դ. աերոդրոմի էներգամատակարարման համակարգը, այդ թվում` անխափան էներգասնուցման ապահովվումը և հոսանքի պահուստային աղբյուրները,
ե. աերոդրոմում տեղադրված քամու ուղղության ցուցիչը(ները) և դրա(նց) գիշերային լուսավորվածությունը,
զ. աերոդրոմի տարրերի մականշումները,
է. աերոդրոմային նշանները,
ը. կառամատույցում օդանավերի և դրանց սպասարկող տեխնիկական միջոցների հողանցման կետերը,
թ. աերոդրոմի փրկարարական և հրշեջ միջոցներն ու սարքավորումները,
ժ. աերոդրոմի տարրերի շահագործողական վիճակի պահպանման համար նախատեսված մեքենա-մեխանիզմները, այդ թվում` վազքուղու ծածկույթի շփման գործակիցը չափող միջոցները,
ի. աերոդրոմում և դրա շրջանում թռիչքների անվտանգությանը սպառնացող լույսերի առկայությունը:
5. Գործնական ուսումնասիրությունների արդյունքները և Աերոդրոմի սերտիֆիկացման վերաբերյալ եզրակացությունը Հանձնաժողովի կողմից, արձանագրության ձևով, ներկայացվում են Գլխավոր վարչության պետին:
6. Հանձնաժողովի դրական եզրակացության դեպքում, Գլխավոր վարչության համապատասխան հրամանով Հայտատուին տրվում է «Աերոդրոմի Սերտիֆիկատ» (այսուհետ` Սերտիֆիկատ), համաձայն Կարգի հավելված 3-ի:
7. Սերտիֆիկատը ստանալուց հետո, Հայտատուն. սահմանված կարգի համաձայն, ներկայացնում է հայտ Աերոդրոմի վերաբերյալ տեղեկություններն աերոնավիգացիոն տեղեկագրում հրապարակելու համար:
8. Եթե գործնական ուսումնասիրությունների արդյունքում Կարգի 4-րդ կետի 6-րդ ենթակետով ներկայացված աերոդրոմի և այնտեղ տեղադրված ու շահագործվող համակարգերի ցուցանիշները չեն համապատասխանում միջազգային ստանդարտներով սահմանված չափանիշներին և չեն ձեռնարկված համազոր միջոցառումներ` թռիչքային ու ավիացիոն անվտանգությունն ապահովելու նպատակով, Հանձնաժողովի եզրակացության հիման վրա Աերոդրոմի սերտիֆիկացման պաշտոնական հայտը մերժվում է Գլխավոր վարչության կողմից: Մերժման և դրա պատճառների մասին Գլխավոր վարչությունը գրավոր տեղեկացնում է Հայտատուին:
9. Կարգի 8-րդ կետում նշված պատճառները մեկամսյա ժամկետում վերացնելու դեպքում Հայտատուն կարող է կրկին դիմել Գլխավոր վարչություն. գործնական ուսումնասիրություններ անցկացնելու համար:
10. Աերոդրոմի սերտիֆիկացման հետ կապված ծախսերն ապահովվում են Հայտատուի կողմից:
Գ լ ու խ III
Աերոդրոմի սերտիֆիկատը
11. Սերտիֆիկատը տրվում է անժամկետ: Եթե Աերոդրոմում նախատեսվում է իրականացնել փոփոխություններ (աերոդրոմի տարրերի երկրաչափական չափերի և արհեստական ծածկույթի, աերոդրոմի լուսաազդանշանային և ռադիոնավիգացիոն համակարգերի փոփոխություններ, աերոդրոմի շրջանում օդային երթևեկության խոչընդոտներ հանդիսացող նոր օբյեկտների կառուցում), ապա տրվում է ժամանակավոր Սերտիֆիկատ. մինչև փոփոխությունների ավարտը:
12. Սերտիֆիկատի գործողությունը կարող է դադարեցվել Գլխավոր վարչության կողմից «Ավիացիայի մասին» Հայաստանի Հանրապետության օրենքի 12-րդ հոդվածի 7-րդ մասի դրույթների համաձայն կամ Հայտատուի ներկայացմամբ` Աերոդրոմի շահագործումը դադարեցնելու պատճառով: Նշված դեպքերում Սերտիֆիկատի բնօրինակը վերադարձվում է Գլխավոր վարչություն:
1) Համաձայն «Ավիացիայի մասին» Հայաստանի Հանրապետության օրենքի 12-րդ հոդվածի 11-րդ մասի դրույթների Գլխավոր վարչությունը կարող է անցկացնել սերտիֆիկացված Աերոդրմների ուսումնասիրություններ և տեսչական ստուգումներ և, եթե դրանց արդյունքում հայտնաբերվում են թերություններ, որոնք չեն ազդում թռիչքների և ավիացիոն անվտանգությանը, կարող է`
ա. սահմանել ժամկետ. դրանց վերացման համար,
բ. եթե սահմանված ժամկետում Աերոդրոմ շահագործողի կողմից ներկայացված թերությունները չեն վերացվում Գլխավոր վարչության պետի հրամանով կիրառել սահմանափակումներ Աերոդրոմի, դրա տարրերի կամ դրանց հատվածների շահագործման պայմանների նկատմամբ. մինչև թերությունների վերացնելը:
13. Սերտիֆիկատի և Ձեռնարկի բնօրինակները պահվում են Հայտատուի մոտ, իսկ պատճենները` Գլխավոր վարչությունում: Աերոդրոմը շահագործողի փոփոխման դեպքում Սերտիֆիկատի բնօրինակը վերադարձվում է Գլխավոր վարչություն:
Գ լ ու խ IV
Լրացուցիչ դրույթներ
15. Կարգի 4-րդ կետում նշված ժամկետը չի ներառում Հայտատուի կողմից Ձեռնարկի լրամշակման, ինչպես նաև պաշտոնական հայտի մերժման պատճառների վերացման ժամանակահատվածները:
16. Անհրաժեշտության դեպքում, Գլխավոր վարչությունը կարող է Հանձնաժողովի ներկայացմամբ Հանձնաժողովի աշխատանքներում ընդգրկել այլ կազմակերպությունների մասնագետների, այդ թվում` արտերկրներից:
17. Եթե Հայտատուի կողմից Սերտիֆիկացված Աերոդրոմում նախատեսվում է իրականացնել փոփոխություններ (աերոդրոմի տարրերի երկրաչափական չափերի և արհեստական ծածկույթի, աերոդրոմի լուսաազդանշանային և ռադիոնավիգացիոն համակարգերի փոփոխություններ, աերոդրոմի շրջանում օդային երթևեկության խոչընդոտներ հանդիսացող նոր օբյեկտների կառուցում), ապա դրանք նախապես համաձայնեցվում են Գլխավոր վարչության հետ:
18. Սույն Կարգը կիրառվում է նաև աերոդրոմների վազքուղուն ԻԿԱՕ-ի միջազգային ստանդարտներով սահմանված ավելի բարձր կարգախումբ շնորհելու դեպքում:
1) Նշված դեպքում Հայտատուի կողմից ներկայացվում է հայտ, համաձայն Կարգի հավելված 4-ի:
Բ ա ժ ի ն 2
Սերտիֆիկացված աերոդրոմների չափանիշները եվ դրանց ներկայացվող պահանջները
Գ լ ու խ V
Աերոդրոմի տարրերը եվ դրանց ֆիզիկական բնութագրերը
19. Վազքուղի (ՎՈՒ)` աերոդրոմի որոշակի ուղղանկյուն հատված, որը նախատեսված է օդանավերի թռիչք-վայրէջքի համար:
1) Աերոդրոմի վազքուղու և շահագործվող օդանավերի երկրաչափական բնութագրերի համապատասխան սահմանվում է Աերոդրոմի ծածկագիր, որը կազմված է երկու տարրերից` թվային և տառային:
2) Ծածկագրի թվային և տառային տարրերի ցուցանիշերը ներկայացված են հետևյալ աղյուսակում.
| Առաջին տարրը | Երկրորդ տարրը | |||
| Վազքուղու ծածկագրի թվային նիշը |
Վազքուղու երկարությունը ստանդարտ պայմաններում |
Վազքուղու ծածկագրի տառային նիշը |
Օդանավի թևերի բացվածքը |
Օդանավի հիմնական հենասարքի արտաքին անվադողերի միջև հեռավորությունը |
| 1 | մինչև 800մ | A | մինչև 15մ | մինչև 4.5մ |
| 2 | 800մ մինչև 1200մ | B | 15մ մինչև 24մ | 4.5մ մինչև 6մ |
| 3 | 1200մ մինչև 1800մ | C | 24մ մինչև 36մ | 6մ մինչև 9մ |
| 4 | 1800մ ավելի | D | 36մ մինչև 52մ | 9մ մինչև 14մ |
| E | 52մ մինչև 65մ | 9մ մինչև 14մ | ||
| F | 65մ մինչև 80մ | 14մ մինչև 16մ | ||
3) Ստանդարտ պայմաններում վազքուղու երկարություն համարվում է վազքուղու այն նվազագույն երկարությունը, որն անհրաժեշտ է առավել թռիչքային քաշ ունեցող օդանավերի շահագործման համար ստանդարտ օդերևութաբանական պայմաններում` ծովի մակերևույթի բարձրության վրա և վազքուղու զրոյական թեքության դեպքում և հաշվարկվում է հետևյալ բանաձևի համաձայն`
|
Lփաս |
||
|
L ստ.= |
---------------------------------------- |
|
|
KpKtKi |
որտեղ`
Lփաս - վազքուղու փաստացի երկարությունն է,
Kp - վազքուղու հարաբերական բարձրության ճշգրտման գործակիցն է, որը որոշվում է հետևյալ բանաձևով`
Kp = 1 + 2,33x10-4Hվու, որտեղ`
Hվու - ծովի մակարդակի նկատմամբ վազքուղու առավելագույն բարձր կետի բարձրություն` աերոդրոմի գերազանցումը, որը չափվում է մինչև 0.5մ կամ 1ֆուտ ճշտությամբ,
Kt - աերոդրոմի միջավայրի ջերմաստիճանի ճշգրտման գործակիցն է, որը որոշվում է հետևյալ բանաձևով`
Kt = 0,82 + 1,07x10-2t13, որտեղ`
t13-աերոդրոմի միջավայրի օդի միջին ամսական ջերմաստիճանն է Ցելսիուսի սանդղակով. տարվա առավելագույն շոգ ամսվա ժամը 1300-ի կտրվածքով,
Ki - վազքուղու երկայնակի թեքության ճշգրտման գործակիցն է, որը
ա. Lփաս. ≤ 1000մ դեպքում հավասար է 1 + 5 iմիջ.
բ. Lփաս. > 1000մ դեպքում հավասար է 1 + 9 iմիջ., որտեղ.
iմիջ - վազքուղու երկայնակի թեքության միջին մեծությունն է:
20. Ըստ նավիգացիոն միջոցների հագեցվածության վազքուղիները դասակարգվում են հետևյալ կարգախմբերի`
1) Չսարքավորված վազքուղիներ, որտեղ օդանավերի թռիչք-վայրէջքը կատարվում է տեսողական թռիչքների կանոններով:
2) Սարքավորված վազքուղիներ, որտեղ օդանավերի թռիչք-վայրէջքը կատարվում է սարքավորումների միջոցով իրականացվող թռիչքների կանոններով, որոնք իրենց հերթին դասկարգվում են`
ա. վազքուղի օդանավերի ոչ ճշգրիտ վայրէջքի համար, որը սարքավորված է տեսողական միջոցներով և ոչ տեսողական որևիցե միջոցով, որոնք առնվազն ապահովում են օդանավի ուղղորդումը դեպի վայրէջքագիծը,
բ. ճշգրիտ վայրէջքի համար I կարգախմբի վազքուղի, որը սարքավորված է տեսողական միջոցներով և վայրէջքային ILS և/կամ/ MLS ռադիոնավիգացիոն համակարգով, և նախատեսված է օդանավերի վայրէջքի համար հետևյալ պայմաններում`
վայրէջքի մասին որոշումն ընդունվում է 60 մ (200ֆուտ) ոչ ցածր բարձրության վրա,
օդերևութաբանական կամ վազքուղու վրայի տեսանելիությունները պետք է լինեն ոչ պակաս համապատասխանաբար 800 և 550 մետրից,
գ. ճշգրիտ վայրէջքի համար II կարգախմբի վազքուղի, որը սարքավորված
է տեսողական միջոցներով և վայրէջքային ILS և/կամ/ MLS ռադիոնավիգացիոն համակարգով, և նախատեսված է օդանավերի վայրէջքի համար հետևյալ պայմաններում`
վայրէջքի մասին որոշումն ընդունվում է 60 մ (200ֆուտ) ցածր, բայց ոչ ցածր 30 մ (100ֆուտ) բարձրության վրա,
տեսանելիությունը վազքուղու վրա պետք է լինի ոչ պակաս 350 մ,
դ. ճշգրիտ վայրէջքի համար III կարգախմբի վազքուղի, որը սարքավորված է վայրէջքային ILS և/կամ/ MLS ռադիոնավիգացիոն համակարգով, և նախատեսված է օդանավերի վայրէջքի համար հետևյալ պայմաններում`
|
III-A - |
վայրէջքի մասին որոշումն ընդունվում է 30 մետրից (100ֆուտ) ցածր բարձրության վրա կամ առանց նշված բարձրության սահմանափակման, եթե վազքուղու վրա տեսանելիությունն առնվազն 200 մետր է, |
|
III-B - |
վայրէջքի մասին որոշումն ընդունվում է 15 մետրից (50 ֆուտ) ցածր բարձրության վրա կամ առանց նշված բարձրության սահմանափակման, եթե վազքուղու վրա տեսանելիությունը քիչ է 200 մետրից, բայց ոչ պակաս 50 մետրից, |
|
III-C - |
վայրէջքի մասին որոշման ընդունման բարձրության և վազքուղու վրայի տեսանելիության նկատմամբ սահմանափակումներ չեն սահմանվում: |
ե. սույն կետում նշված վայրէջքի մասին որոշում ընդունելու բարձրությունները համարվում են հարաբերական վազքուղու շեմի բարձրության նկատմամբ:
21. Վազքուղու լայնությունը` կապված աերոդրոմի ծածկագրի թվային նիշից, պետք է լինի ոչ պակաս հետևյալ աղյուսակում ներկայացված մեծություններից`
|
Ծածկագրի |
Ծածկագրի տառային նիշը | ||||
|
A |
B |
C |
D |
E | |
| 1 | 18մ | 18մ | 23մ | - | - |
| 2 | 23մ | 23մ | 30մ | - | - |
| 3 | 30մ | 30մ | 30մ | 45մ | - |
| 4 | - | - | 45մ | 45մ | 45մ |
1) Օդանավերի ճշգրիտ վայրէջքի համար սարքավորված «1» և «2» ծածկագրով վազքուղիների լայնությունը պետք է լինի առնվազն 30մ:
22. Վազքուղու վրա ջրակուտակումները բացառելու նպատակով անհրաժեշտ է ապահովել ծածկույթի երկայնակի և լայնակի թեքություններ:
1) Վազքուղու ամբողջ երկարությամբ երկայնակի թեքությունը չպետք է գերազանցի`
ա. 1% -«3» կամ «4» ծածկագրով վազքուղիների համար,
բ. 2% -«1» կամ «2» ծածկագրով վազքուղիների համար:
2) Վազքուղու ցանկացած հատվածի երկայնակի թեքությունը չպետք է գերազանցի`
ա. 1.25 % - «4» ծածկագրով վազքուղիների համար, բացառությամբ վազքուղու առաջին և վերջին քառորդների համար, որտեղ այն չպետք է գերազանցի 0.8%,
բ. 1.5 % - «3» ծածկագրով վազքուղիների համար, բացառությամբ ճշգրիտ վայրէջքի համար II կամ III կարգախմբով սարքավորված վազքուղիների առաջին և վերջին քառորդների համար, որտեղ այն չպետք է գերազանցի 0.8%-ը:
3) Եթե վազքուղու երկարությամբ երկայնակի թեքությունների փոփոխություններն անխուսափելի են, ապա հարակից թեքությունների տարբերությունը չպետք է գերազանցի`
ա. 1.5 % - «3» կամ «4» ծածկագրով վազքուղիների համար,
բ. 2% - «1» կամ «2» ծածկագրով վազքուղիների համար:
4) Հարակից հատվածների թեքությունների անցումը պետք է իրականացվի կորագծային մակերևույթով, որի ցուցանիշները չպետք է գերազանցեն`
ա. 0.1%- 30 մ վրա (կորագծի նվազագույն շառավիղը` 30000մ)- «4» ծածկագրով վազքուղիների համար;
բ. 0.2%- 30 մ վրա (կորագծի նվազագույն շառավիղը` 15000մ)-«3» ծածկագրով վազքուղիների համար,
գ. 0.4%- 30 մ վրա (կորագծի նվազագույն շառավիղը` 7500մ)-«1» կամ «2» ծածկագրով վազքուղիների համար:
5) Եթե վազքուղու երկարությամբ թեքությունների փոփոխություններն անխուսափելի են, ապա դրան պետք է ապահովեն լիարժեք տեսանելիություն`
ա. վազքուղու 3մ բարձրության վրա գտնվող ցանկացած կետից վազքուղու երկարության առնվազն կեսի և նույն բարձրության վրա գտնվող կետերի միջև, եթե վազքուղու լայնությունը համապատասխանում է «C», «D», «E» կամ «F» ծածկագրին,
բ. վազքուղու 2մ բարձրության վրա գտնվող ցանկացած կետից վազքուղու երկարության առնվազն կեսի և նույն բարձրության վրա գտնվող կետերի միջև, եթե վազքուղու լայնությունը համապատասխանում է «B» ծածկագրին,
գ. վազքուղու 1.5մ բարձրության վրա գտնվող ցանկացած կետից վազքուղու երկարության առնվազն կեսի և նույն բարձրության վրա գտնվող կետերի միջև, եթե վազքուղու լայնությունը համապատասխանում է «A» ծածկագրին:
23. Վազքուղու վրա անհրաժեշտ է բացառել վազքուղու ծածկույթի անհարթությունները կամ իրարից մոտ գտնվող թեքությունների զգալի փոփոխությունները:
1) Երկու հաջորդող կորագծերի հատման կետերի միջև հեռավորությունը պետք է լինի ոչ պակաս`
ա. թեքության համապատասխան փոփոխությունների բացառիկ թվային արժեքների գումարը բազմապատկած`
30000 մ -«4» ծածկագրով վազքուղիների համար,
15000 մ -«3» ծածկագրով վազքուղիների համար,
5000 մ -«1» կամ «2» ծածկագրով վազքուղիների համար,
բ. 45մ, կապված նրանից թե որ մեծությունն է ավելի մեծ:
24. Վազքուղիների լայնակի կտրվածքը պետք է լինի երկլանջային:
1) Յուրաքանչյուր լանջի լայնակի թեքությունը չպետք է գերազանցի`
ա. 1.5 % - «C», «D», «E» կամ «F» ծածկագրով վազքուղիների համար,
բ. 2% - «A» կամ «B» ծածկագրով վազքուղիների համար,
բացառությամբ վազքուղու և ղեկուղու հատման հատվածների թեքությունների:
2) Լանջերի լայնակի թեքությունները պետք է լինեն հավասար և սիմետրիկ: Վազքուղու ամբողջ երկարությամբ լայնակի թեքությունը հիմնականում պետք է լինի անփոփոխ, բացառությամբ վազքուղու և ղեկուղու հատման հատվածի:
3) Վազքուղիները կարող են ունենալ նաև միալանջ կտրվածք, եթե դրա երկայնակի թեքությունը նվազող է քամու գերակշռող ուղղությամբ և ապահովում է մակերևութային ջրերի արագ հեռացումը:
25. Վազքուղու անվտանգության եզրագոտի` վազքուղու արհեստական ծածկույթին կից հատված, որն օդանավերի վայրէջքի ուղղությունից շեղման դեպքում ապահովում է դրանց հարթ անցումը վազքուղու արհեստական ծածկույթից դեպի ազատ գոտի:
1) Վազքուղու անվտանգության եզրագոտին ձգվում է վազքուղու ամբողջ երկարությամբ` սիմետրիկ վազքուղու առանցքագծի նկատմամբ:
2) Վազքուղու անվտանգության եզրագոտիները պետք է նախատեսված լինեն`
ա. «D» և «E» ծածկագրով վազքուղիների համար, եթե վազքուղու լայնությունը քիչ է 60 մ,
բ. «F» ծածկագրով վազքուղիների համար:
3) Վազքուղու և վազքուղու անվտանգության եզրագոտիների ընդհանուր լայնությունը պետք է լինի առնվազն`
ա. 60 մ «D» և «E» ծածկագրով վազքուղիների համար,
բ. 75 մ «F» ծածկագրով վազքուղիների համար:
4) Վազքուղու անվտանգության եզրագոտիները կարող են ունենալ արհեստական կամ գրունտային ծածկույթ, որը պետք է համակցված լինի վազքուղու ծածկույթի հետ նույն մակարդակի վրա և դրանց ամրությունը պետք է համապատասխանի տվյալ աերոդրոմում շահագործվող օդանավերի առավելագույն թռիչքային քաշին: Վազքուղու անվտանգության եզրագոտիների թեքությունը չպետք է գերազանցի 2.5%:
26. Վազքուղու հետադարձի հրապարակ` վազքուղու վերջնամասերին հարող որոշակի հատված, որը նախատեսված է օդանավերի 1800 շրջադարձի համար:
1) «D», «E» և «F» ծածկագրով վազքուղիները պետք է ապահովված լինեն օդանավերի 1800 հետադարձի համար նախատեսված հրապարակներով: Հրապարակները տեղակայվում են վազքուղու վերջնամասերում: «A», «B» և «C» ծածկագրով վազքուղիների համար առաջարկվում է նախատեսել հետադարձի հրապարակ:
2) ՎՈՒ հետադարձի հրապարակները տեղակայվում են վազքուղու վերջնամասերի աջ կամ ձախ կողմերում` վազքուղու հարթության վրա: Եթե վազքուղու վերջնամասերում առկա են ղեկուղիներ կամ, եթե աերոդրոմն ունի օդանավերի հետադարձի համար նախատեսված ղեկուղի, վազքուղու հետադարձի հրապարակներ կարող են չնախատեսվել:
3) Հետադարձի հրապարակի հատման անկյունը վազքուղու հետ չպետք է գերազանցի 300, իսկ օդանավի գետնավարման ուղու շրջադարձի անկյունը` 450:
4) Հետադարձի հրապարակի երկրաչափական չափսերը պետք է ապահովեն հետևյալ աղյուսակում ներկայացվող հեռավորությունները` հրապարակի եզրերի և օդանավի հիմնական անվասայլակի միջև, երբ օդանավը գտնվում է գետնավարման ուղու վրա`
| Վազքուղու ծածկագրի տառային նիշը |
Օդանավի հիմնական անվա- սայլակի և հետադարձի հրապարակի եզրի միջև նվազագույն հեռավորությունը |
Ծանոթություն |
| A | 1.5 մետր | |
| B | 2.25 մետր | |
| C | 3 մետր | շահագործվող օդանավերի հիմնական անվասայլակների միջև հեռավորությունը քիչ է 18 մետրից |
| C | 4.5 մետր | շահագործվող օդանավերի հիմնական անվասայլակների միջև հեռավորությունը հավասար և շատ է 18 մետրից |
| D,E,F | 4.5 մետր |
5) Հետադարձի հրապարակի ծածկույթը պետք է լինի հարթ և ապահովված համապատասխան թեքությամբ` օդանավերի վնասումները և ջրակուտակումները բացառելու նպատակով, իսկ դրա կրողունակությունը համապատասխանի ՎՈՒ կրողունակությանը:
6) Հետադարձի հրապարակի ծածկույթը պետք է ապահովի օդանավի անվադողերի հետ բավարար կցորդումը:
7) Հետադարձի հրապարակը պետք է ապահովված լինի անվտանգության եզրագոտիներով, որոնց լայնությունը հաշվարկվում է` ելնելով շահագործվող առավել խոշոր օդանավի եզրային շարժիչների հեռավորությունից: Անվտանգության եզրագոտիների ծածկույթը և ամրությունը պետք է բացառեն օդանավերի վնասումները:
27. Թռիչքային գոտի (թռիչքագոտի)` աերոդրոմի որոշակի տարածք, որը բաղկացած է վազքուղուց և արգելակման վերջնագոտուց, եթե այդպիսինը կա, և դրանց շարունակությունների վրա գտնվող սահմանված հատված, որը նախատեսված է վազքուղու սահմաններից օդանավի դուրս գալու դեպքում վերջինիս վնասումները նվազեցնելու, ինչպես նաև թռիչք-վայրէջքի ժամանակ թռիչքագոտու վրայով թռչող օդանավերի անվտանգությունն ապահովելու համար:
1) Վազքուղու շարունակությունների վրա գտնվող թռիչքագոտու սահմանված հատվածի երկարությունը պետք է լինի առնվազն`
ա. 60 մ -«2», «3» կամ «4» ծածկագրով ՎՈՒ համար,
բ. 60 մ -«1» ծածկագրով և սարքավորված ՎՈՒ համար,
գ. 30 մ -«1» ծածկագրով և չսարքավորված ՎՈՒ համար:
2) Թռիչքագոտու լայնությունը սահմանվում է վազքուղու առանցքագծի նկատմամբ և պետք է լինի առնվազն`
ա. սարքավորված վազքուղիների համար`
150 մ -«3» կամ «4» ծածկագրերի դեպքում,
75 մ -«1» կամ «2» ծածկագրերի դեպքում,
բ. չսարքավորված վազքուղիների համար`
75 մ -«3» կամ «4» ծածկագրերի դեպքում,
40 մ -«2» ծածկագրի դեպքում,
30 մ -«1» ծածկագրի դեպքում:
3) Թռիչքագոտու վրա գտնվող ցանկացած օբյեկտ, որը կարող է սպառնալ թռիչքների անվտանգությունը, դիտվում է որպես խոչընդոտ և հնարավորության սահմաններում ենթակա է վերացման:
4) Բացառությամբ աերոնավիգացիոն տեսողական միջոցների, չի թույլատրվում այլ անշարժ օբյեկտների տեղադրում թռիչքագոտու վրա` ՎՈՒ առանցքագծից հետևյալ սահմաններում`
ա. 77.5մ - I, II կամ III կարգախմբով սարքավորված և «4F» ծածկագրով ՎՈՒ համար,
բ. 60մ - I, II կամ III կարգախմբով սարքավորված և «3» կամ «4» ծածկագրով ՎՈՒ համար,
գ. 45մ - I կարգախմբով սարքավորված և «1» կամ «2» ծածկագրով ՎՈՒ համար:
5) Օդանավերի թռիչք-վայրէջքի ընթացքում թռիչքագոտու սահմաններում շարժական օբյեկտների առկայությունը բացառվում է:
6) «3» կամ «4» և «1» կամ «2» ծածկագրերով սարքավորված վազքուղիների առանցքագծից համապատասխանաբար 75մ և 40մ սահմաններում պետք է նախատեսվի թռիչքագոտու հարթեցված տարածք:
7) Չսարքավորված «1» ծածկագրով վազքուղու համար թռիչքագոտու հարթեցված տարածքի լայնությունը սահմանվում է 30մ:
8) Վազքուղուն հարող թռիչքագոտու հատվածների մակերևույթը պետք է գտնվի վազքուղու մակերևույթի մակարդակին:
9) Թռիչքագոտու հարթեցված տարածքի երկայնակի թեքությունը չպետք է գերազանցի`
ա. 1.5 % -«4» ծածկագրով վազքուղիների համար,
բ. 1.75 % -«3» ծածկագրով վազքուղիների համար,
գ. 2 % - «1» կամ «2» ծածկագրով վազքուղիների համար:
10) Երկայնակի թեքությունների փոփոխությունները թռիչքագոտու ամբողջ երկարությամբ անհրաժեշտ է իրականացնել հնարավորինս սահուն` առանց կտրուկ անցումների և խոշոր հակառակ թեքությունների:
11) Թռիչքագոտու հարթեցված տարածքի լայնակի թեքությունները պետք է բացառեն ջրի կուտակումները և չգերազանցեն`
ա. 2.5% - «3» կամ «4» ծածկագրով վազքուղիների համար,
բ. 3 % - «1» կամ «2» ծածկագրով վազքուղիների համար,
բացառությամբ վազքուղուն հարող 3մ լայնությամբ հատվածների, որոնց թեքությունը կարող է կազմել 5% վազքուղուց արագ ջրահեռացումն ապահովելու նպատակով:
12) Թռիչքագոտու հարթեցված տարածքների ամրությունը պետք է համապատասխանի տվյալ աերոդրոմում շահագործվող օդանավերի առավելագույն թռիչքային քաշին, իսկ մակերեսը պետք է նախապատրաստված լինի այնպես, որպեսզի բացառի օդանավերի վնասումները:
13) Թռիչքագոտու հարթեցված հատվածներին հարող մյուս հատվածների լայնակի թեքությունը չպետք է գերազանցի վազքուղու ուղղությամբ հաշված աճող թեքության 5%:
28. Անվտանգության վերջնագոտի` աերոդրոմի որոշակի հատված, որը տեղակայված է վազքուղու շեմերի շարունակությունների վրա և նախատեսված է օդանավի վնասումները կանխելու համար, հետվայրէջքային գերվազքի կամ նախավազքուղային գոտում վայրէջք կատարելու դեպքերում:
1) Անվտանգության վերջնագոտիներով պետք է ապահովված լինեն`
ա. «3» կամ «4» ծածկագրով վազքուղիները,
բ. «1» կամ «2» ծածկագրով սարքավորված վազքուղիները:
2) Անվտանգության վերջնագոտու երկարությունը պետք է լինի առնվազն 90մ, սակայն «3» կամ «4» և «1» կամ «2» ծածկագրերով վազքուղիների համար անվտանգության վերջնագոտիների երկարությունն առաջարկվում է ապահովել համապատասխանաբար 240մ և 120մ սահմաններում:
3) Անվտանգության վերջնագոտու լայնությունը պետք է առնվազն երկու անգամ գերազանցի վազքուղու լայնությանը, իսկ հնարավորության սահմաններում անվտանգության վերջնագոտու լայնությունը պետք է համապատասխանի թռիչքագոտու հարթեցված հատվածի լայնությանը:
4) Անվտանգության վերջնագոտու սահմաններում գտնվող ցանկացած օբյեկտ, որը կարող է սպառնալ թռիչքների անվտանգությանը, համարվում է խոչընդոտ և հնարավորության սահմաններում ենթակա է վերացման:
5) Անվտանգության վերջնագոտու մակերևույթը պետք է լինի հարթեցված ու ամրացված և պիտանի լինի օգտագործման` օդանավերի թերի վայրէջքի կամ թռիչքի ժամանակ:
6) Անվտանգության վերջնագոտու երկայնակի և լայնակի թեքությունները չպետք է գերազանցեն 5% նվազող թեքության պայմաններում: Թեքությունների փոփոխությունները պետք է իրականացվեն առավելագույնս մեղմ:
29. Խոչընդոտներից ազատ գոտի` աերոդրոմ շահագործողի վերահսկողության տակ գտնվող գետնի ուղղանկյուն հատված, որն ընտրված և նախապատրաստված է որպես անվտանգ գոտի` օդանավերի վերելքի ժամանակ բարձրություն հավաքելու համար:
1) Խոչընդոտներից ազատ գոտին սկսվում է օդանավերի թափավազքի համար նախատեսված հատվածից հետո և դրա երկարությունը չպետք է գերազանցի թափավազքի հատվածի երկարության կեսից ավելիին:
2) Իր լայնությամբ խոչընդոտներից ազատ գոտին տարածվում է վազքուղու առանցքագծից 75մ սահմաններում:
3) Խոչընդոտներից ազատ գոտու թեքությունը չպետք է գերազանցի 1.25% աճող թեքությամբ հարթության մակերեսը:
4) Խոչընդոտներից ազատ գոտու սահմաններում չի թույլատրվում որևիցե օբյեկտների տեղադրում, բացառությամբ աերոնավիգացիայի համար օգտագործվողների, որոնք տեղադրվում են հնարավորինս ցածր` դյուրաբեկ ամրանների վրա:
30. Արգելակման վերջնագոտի` որոշակի ուղղանկյուն հատված, որը գտնվում է օդանավերի թափավազքի համար նախատեսված հատվածի շարունակության վրա և նախատեսված է օդանավերի ընդհատված թռիչքի ժամանակ թափավազքն ավարտելու համար:
1) Արգելակման վերջնագոտին կարող է հանդիսանալ ինչպես վազքուղու որոշակի հատված, այնպես էլ տեղակայվել դրա շարունակությունների վրա, ինչը պայմանավորված է վազքուղու ճակատներին կից հողագոտիների ֆիզիկական բնութագրերից:
2) Արգելակման վերջնագոտու լայնությունը, երկայնակի և լայնակի թեքությունները, ինչպես նաև կրողունակությունը և ծածկույթը պետք է համապատասխանեն ՎՈՒ ցուցանիշերին:
31. Յուրաքանչյուր վազքուղու համար սահմանվում են հետևյալ հեռավորությունները`
ա. թափավազքի համար տրամադրվող երկարություն` ՎՈՒ համապատասխան հատվածի երկարություն, որը նախապատրաստված և հայտարարված է թռիչք կատարող օդանավերի թափավազքի համար,
բ. թռիչքի համար տրամադրով երկարություն` աերոդրոմի համապատասխան հատվածի երկարություն, որում ընդգրկվում են թափավազքի համար տրամադրվող և խոչընդոտներից ազատ գոտու, եթե այդպիսին նախատեսված է, երկարությունները,
գ. ընդհատված թռիչքի համար տրամադրվող երկարություն` աերոդրոմի համապատասխան հատվածի երկարություն, որում ընդգրկվում են թափավազքի համար տրամադրվող և արգելակման վերջնագոտու, եթե այդպիսին նախատեսված է, երկարությունները,
դ. վայրէջքի համար տրամադրվող երկարություն` ՎՈՒ համապատասխան հատվածի երկարություն, որը նախապատրաստված և հայտարարված է վայրէջք կատարող օդանավերի վազուրդի համար:
1) Սույն կետում նշված հեռավորությունները ներկայացվում են Աերոդրոմի ձեռնարկում. մինչև 1մ ճշտությամբ:
32. Ղեկուղի (ՂՈՒ)` - աերոդրոմի որոշակի հատված, որը նախատեսված է օդանավերի արագ ու անվտանգ վերգետնյա երթևեկման (գետնավարման) և աերոդրոմի համապատասխան գոտիները (վազքուղի, կառամատույց, կայանատեղ) իրար միացնելու համար:
1) Իրենց նշանակությամբ ղեկուղիները կարող են լինել միացնող` մուտքային, ելքային և/կամ/ արագընթաց, որոնք նախատեսված են օդանավերի մուտքը և ելքը դեպի վազքուղի ապահովելու համար, ինչպես նաև գլխավոր և կառամատուցային, որոնք ապահովում են օդանավերի երթևեկումը կառամատույցում և դեպի օդանավերի կայանատեղեր:
2) Ղեկուղիների ուղղագծային հատվածի նվազագույն լայնություններն ըստ ՎՈՒ ծածկագրի ներկայացված են հետևյալ աղյուսակում`
| ՎՈՒ ծածկագրի տառային նիշը |
ՂՈՒ ուղղագծային հատվածի նվազագույն լայնությունը (մ) |
Ծանոթություն |
| A | 7.5 | |
| B | 10 | |
| C | 15 | եթե շահագործվող օդանավերի անիվային հենասարքի բազան քիչ է 18 մետրից |
| C | 18 | եթե շահագործվող օդանավերի անիվային հենասարքի բազան հավասար կամ շատ է 18 մ |
| D | 18 | եթե շահագործող օդանավերի հիմնական հենասարքերի արտաքին անվադողերի միջև հեռավորությունը քիչ է 9մ |
| 23 | եթե շահագործող օդանավերի հիմնական հենասարքերի արտաքին անվադողերի միջև հեռավորությունը քիչ է 9մ | |
| E,F | 23 մետր |
3) Ղեկուղիների լայնությունը պետք է ապահովի հետևյալ նվազագույն հեռավորությունները ղեկուղու եզրի և օդանավի հիմնական հենասարքի արտաքին անվադողի միջև, երբ օդանավը գտնվում է ղեկուղու առանցքագծի վրա`
ա. 1.5մ, եթե վազքուղին նշված է «A» ծածկագրով,
բ. 2.25մ, եթե վազքուղին նշված է «B» ծածկագրով,
գ. 3մ, եթե վազքուղին նշված է «C» ծածկագրով և շահագործող օդանավերի անիվային հենասարքի բազան քիչ է 18մ,
դ. 4.5մ, եթե վազքուղին նշված է «C» ծածկագրով և շահագործող օդանավերի անիվային հենասարքի բազան հավասար կամ շատ է 18մ,
ե. 4.5մ, եթե վազքուղին նշված է «D», «E» և «F» ծածկագրով:
4) Ղեկուղիների շրջադարձի, ինչպես նաև վազքուղու, կառամատույցի և այլ ղեկուղիների հետ հատման հատվածներում պետք է ապահովվեն նախորդ պարբերությունում ներկայացված պահանջները, ինչի համար նշված հատվածներում կարող է իրականացվել ղեկուղիների լայնացում:
5) Ղեկուղու երկայնակի թեքությունը չպետք է գերազանցի`
ա. 1.5%, եթե վազքուղին նշված է «C», «D», «E» կամ «F» ծածկագրով,
բ. 3%, եթե վազքուղին նշված է «A» կամ «B» ծածկագրով:
6) Եթե ղեկուղու երկայնակի թեքությունների փոփոխություններն անխուսափելի են, ապա դրանց անցումներն իրականացվում են կորագծային մակերևույթով, որի փոփոխության ցուցանիշը չպետք է գերազանցի`
ա. 1%-ը 30մ վրա (կորագծի նվազագույն շառավիղը` 3000մ), եթե վազքուղին նշված է «C», «D», «E» կամ «F» ծածկագրով,
բ. 1%-ը 25մ վրա (կորագծի նվազագույն շառավիղը` 2500մ), եթե վազքուղին նշված է «A» կամ «B» ծածկագրով:
7) Ղեկուղու լայնակի թեքությունը պետք է բացառի մակերևութային ջրերի կուտակումները և չպետք է գերազանցի`
ա. 1.5%, եթե վազքուղին նշված է «C», «D», «E» կամ «F» ծածկագրով,
բ. 2%, եթե վազքուղին նշված է «A» կամ «B» ծածկագրով:
8) Եթե ղեկուղու լայնակի թեքությունների փոփոխություններն անխուսափելի են, ապա դրանք պետք է իրականացվեն այնպես, որպեսզի ղեկուղու ցանկացած հատվածի`
ա. 3մ բարձրության վրայից տեսանելի լինի 300մ հեռավորության վրա գտնվող մակերևույթը, եթե վազքուղին նշված է «C», «D», «E» կամ «F» ծածկագրով,
բ. 2մ բարձրության վրայից տեսանելի լինի 200մ հեռավորության վրա գտնվող մակերևույթը, եթե վազքուղին նշված է «B» ծածկագրով,
գ. 1.5մ բարձրության վրայից տեսանելի լինի 150մ հեռավորության վրա գտնվող մակերևույթը, եթե վազքուղին նշված է «A» ծածկագրով:
9) Ղեկուղու ամրությունը պետք է առնվազն համապատասխանի վազքուղու ամրությանը, որի համար այն նախատեսված է:
10) Ղեկուղու մակերևույթը պետք է լինի հարթ` օդանավի վնասումները բացառելու համար և ապահովի օդանավի անվադողերի հետ լավ կցորդումը մակերևույթի խոնավ ժամանակ:
11) Ղեկուղու առանցքագծի և վազքուղու և/կամ/ մյուս ղեկուղիների առանցքագծերի ու անշարժ օբյեկտների միջի, ինչպես նաև կառամատուցային ղեկուղու ու անշարժ օբյեկտների միջի նվազագույն հեռավորությունները ներկայացված են հետևյալ աղյուսակում`
| ՎՈՒ ծած. տառ. նիշը |
ՎՈՒ և ՂՈՒ առանցքագծերի միջի |
ՂՈՒ միջև հեռա- վոր. մ |
ՂՈՒ և օբյեկտ. միջև հեռ. մ |
Կառ. ՂՈՒ և օբյեկտ. միջև հեռ. մ | |||||||
| Սարքավորված ՎՈՒ | Չսարքավորված ՎՈՒ | ||||||||||
| ՎՈՒ ծած. թվային նիշը | ՎՈՒ ծած. թվային նիշը | ||||||||||
| 1 | 2 | 3 | 4 | 1 | 2 | 3 | 4 | ||||
| A | 82.5 | 82.5 | - | - | 37.5 | 47.5 | - | - | 23.75 | 16.25 | 12 |
| B | 87 | 87 | - | - | 42 | 42 | - | - | 33.5 | 21.5 | 16.5 |
| C | - | - | 168 | - | - | - | 93 | - | 44 | 26 | 24.5 |
| D | - | - | 176 | 176 | - | - | 101 | 101 | 66.5 | 40.5 | 36 |
| E | - | - | - | 182.5 | - | - | - | 107.5 | 80 | 47.5 | 42.5 |
| F | - | - | - | 190 | - | - | - | 115 | 97.5 | 57.5 | 50.5 |
12) Ղեկուղին պետք է ապահովված լինի անվտանգության եզրագոտիներով, եթե աերոդրոմի վազքուղին նշված է «C», «D», «E» կամ «F» ծածկագրով: Ղեկուղու ուղղագծային հատվածի և անվտանգության եզրագոտիների ընդհանուր նվազագույն լայնությունը պետք է կազմի`
ա. 60մ, եթե վազքուղին նշված է «F» ծածկագրով,
բ. 44մ, եթե վազքուղին նշված է «E» ծածկագրով,
գ. 38մ, եթե վազքուղին նշված է «D» ծածկագրով,
դ. 25մ, եթե վազքուղին նշված է «C» ծածկագրով:
13) Ղեկուղու կորագծային հատվածների անվտանգության եզրագոտիների լայնությունը պետք է լինի ոչ պակաս հարակից ուղղագծային հատվածների անվտանգության եզրագոտիների լայնությունից:
14) Ղեկուղու անվտանգության եզրագոտիների մակերեսը պետք է նախապատրաստված լինի այնպես, որպեսզի բացառի օդանավերի վնասումները:
15) Ղեկուղու գոտի է համարվում աերոդրոմի այն հատվածը, որը կազմված է ղեկուղուց և դրան կից հողային տարածքներից, որոնք նախատեսված են նվազեցնելու օդանավերի վնասումները` ղեկուղու սահմաններից դուրս գալու դեպքում:
16) Ղեկուղու գոտին տեղակայված է սիմետրիկ` ղեկուղու առանցքագծի ամբողջ երկարության նկատմամբ:
17) Ղեկուղու գոտու նվազագույն լայնությունն առանցքագծի նկատմամբ պետք է լինի`
ա. 16.25մ, եթե վազքուղին նշված է «A» ծածկագրով,
բ. 21.5մ, եթե վազքուղին նշված է «B» ծածկագրով,
գ. 26մ, եթե վազքուղին նշված է «C» ծածկագրով,
դ. 40.5մ, եթե վազքուղին նշված է «D» ծածկագրով,
ե. 47.5մ, եթե վազքուղին նշված է «E» ծածկագրով,
զ. 57.5մ, եթե վազքուղին նշված է «F» ծածկագրով:
18) Ղեկուղու գոտում չպետք է տեղակայվեն օբյեկտներ, որոնք կարող են վտանգ հանդիսանալ ղեկուղով գետնավարող օդանավերի համար:
19) Ղեկուղու գոտու կենտրոնական հատվածը պետք է լինի հարթեցված, առանցքագծից առնվազն հետևյալ հեռավորությունների վրա`
ա. 11մ, եթե վազքուղին նշված է «A» ծածկագրով,
բ. 12.5մ, եթե վազքուղին նշված է «B» կամ «C» ծածկագրով,
գ. 19մ, եթե վազքուղին նշված է «D» ծածկագրով,
դ. 22մ, եթե վազքուղին նշված է «E» ծածկագրով,
ե. 30մ, եթե վազքուղին նշված է «F» ծածկագրով:
33. Ելնելով աերոդրոմներում իրականացվող թռիչքների ինտենսիվությունից օդանավերի ժամանակավոր կայանման համար ղեկուղիների և/կամ/ վազքուղիների (եթե դրանք հանդիսանում են օդանավերի գետնավարման երթուղի) վրա նախատեսվում են սպասման հրապարակներ և/կամ/ տեղեր:
1) Սպասման տեղերը նախատեսված են օդանավերի կամ տրանսպորտային միջոցների մուտքը վազքուղի կամ ռադիոնավիգացիոն համակարգերի զգայուն գոտի կանոնակարգելու համար:
2) Սպասման տեղը սահմանվում է այնպես, որպեսզի դրա մոտ կայանված օդանավը կամ տրանսպորտային միջոցը չխախտի խոչընդոտներից ազատ գոտու, վայրէջքի և բարձրությունը հավաքելու հարթությունները, կամ ILS/MLS ռադիոնավիգացիոն համակարգերի կրիտիկական գոտին և առաջացնի խափանումներ այլ ռադիոնավիգացիոն միջոցների աշխատանքում:
3) Սպասման հրապարակների և/կամ/ տեղերի նվազագույն հեռավորությունները վազքուղու առանցքագծի նկատմամբ ներկայացված են հետևյալ աղյուսակում`
| ՎՈՒ սարքավորվածությունը և նշանակությունը |
ՎՈՒ թվային ծածկագիրը | |||
| 1 | 2 | 3 | 4 | |
| Չսարքավորված | 30մ | 40մ | 75մ | 75մ |
| Սարքավորված ոչ ճշգրիտ վայրէջքի համար | 40մ | 40մ | 75մ | 75մ |
| I կարգախմբով սարքավորված | 60մբ | 60մբ | 90մա,բ | 90մա,բ,գ |
| II և III կարգախմբով սարքավորված | - | - | 90մա,բ | 90մա,բ,գ |
| Վերելքի վազքուղի | 30մ | 40մ | 75մ | 75մ |
որտեղ`
ա. եթե սպասման կետի հարաբերական բարձրությունը քիչ է ՎՈՒ շեմի հարաբերական բարձրությունից, տվյալ հեռավորությունը կարող է նվազեցվել 5 մետրով` բարձրությունների տարբերության յուրաքանչյուր 1 մետրի հաշվարկով` չխախտելով ներքին անցումային հարթությունը,
բ. ելնելով աերոդրոմում շահագործվող ILS և/կամ/ MLS ռադիոնավիգացիոն համակարգերի կրիտիկական գոտիներին ներկայացվող պահանջներից, տվյալ հեռավորությունը կարող է մեծացվել,
գ. եթե վազքուղին նշված է «F» ծածկագրով, տվյալ հեռավորությունը պետք է լինի 107.5մ:
4) Եթե աերոդրոմի գերազանցումը շատ է 700մ, ապա «4» ծածկագրով վազքուղիների համար աղյուսակում սահմանված 90մ ավելացվում է` համաձայն հետևյալ դրույթների`
ա. մինչև 2000մ գերազանցման դեպքում 700մ գերազանցող յուրաքանչյուր 100մ համար ավելացվում է 1 մետր,
բ. 2000-4000մ գերազանցման դեպքում ավելացվում է 13մ գումարած 1.5մ` 2000մ գերազանցող բարձրության յուրաքանչյուր 100մ համար,
գ. 4000-5000մ գերազանցման դեպքում ավելացվում է 43մ գումարած 2մ` 4000մ գերազանցող բարձրության յուրաքանչյուր 100մ համար:
5) Եթե սպասման տեղի գերազանցումը շատ է վազքուղու շեմի գերազանցումից, ապա «4» ծածկագրով ճշգրիտ վայրէջքի համար սարքավորված վազքուղու համար սույն կետում ներկայացված աղյուսակի 90մ կամ համապատասխան դեպքերում 107.5մ մեծություններն ավելացվում են 5 մետրով:
34. Կառամատույց` աերոդրոմի որոշակի հատված, որը նախատեսված է օդանավերի կայանման համար` տեխնիկական և առևտրային սպասարկման նպատակով:
1) Կառամատույցի չափերը պետք է ապահովեն աերոդրոմի թողունակությունը` երթևեկության առավել բարձր ինտենսիվության պայմաններում:
2) Կառամատույցի ծածկույթի կրողունակությունը պետք է համապատասխանի շահագործվող օդանավերի առավելագույն թռիչքային քաշերին:
3) Կառամատույցի ծածկույթի թեքությունները պետք է բացառեն ջրակուտակումները, լինեն հնարավորինս հորիզոնական և չգերազանցեն 1%:
4) Կառամատույցում պետք է ապահովվի օդանավերի կայանատեղերի և կից շինությունների միջև հետևյալ նվազագույն հեռավորությունները`
ա. 3մ, եթե վազքուղին նշված է «A» կամ «B» ծածկագրով,
բ. 4.5մ, եթե վազքուղին նշված է «C» ծածկագրով,
գ. 7.5մ եթե վազքուղին նշված է «D», «E» կամ «F» ծածկագրով:
5) Եթե վազքուղին նշված է «D», «E» կամ «F» ծածկագրով, սահմանված հեռավորությունը կարող է կրճատվել, եթե կայանատեղում օդանավը կայանվում է առաջամասով ուղղված դեպի օդանավակայանային համալիրը:
35. Ի լրումն կառամատույցում նախատեսված օդանավերի հիմնական կայանատեղերի, աերոդրոմում կարող են առանձնացվել օդանավերի մեկուսացված կայանատեղ և օդանավերի հակասառցակալման ապահովման գոտի:
1) Օդանավերի մեկուսացված կայանատեղն օգտագործվում է, երբ օդանավը ենթարկվել է հարձակման կամ որոշակի հանգամանքներից ելնելով այն ենթակա է մեկուսացման:
ա. մեկուսացված կայանատեղը պետք է հնարավորության սահմաններում հեռու լինի հիմնական կայանատեղերից, հասարակական և ծառայողական կառույցներից. առնվազն 100մ ոչ մոտիկ:
2) Օդանավերի հակասառցակալման ապահովման գոտին նախատեսվում է այն աերոդրոմներում, որտեղ հնարավոր է օդանավերի սառցակալում:
3) Օդանավերի հակասառցակալման ապահովման գոտին իրենից ներկայացնում է հատուկ հրապարակ (կայանատեղ), որտեղ իրականացվում է օդանավերի մշակումը հակասառցապատող հեղուկով:
4) Հրապարակը կարող է գտնվել ինչպես օդանավերի կայանատեղերում, այնպես էլ հատուկ հատկացված աերոդրոմի գոտիներում` ելքային ղեկուղիների մոտ, որպեսզի ապահովի`
ա. հակասառցակալման մշակման ազդեցությունը մինչ օդանավի գետնավարման ավարտը և թռիչքը,
բ. գտնվի խոչընդոտների համար սահմանված մակերևույթներից դուրս և չառաջացնի խափանումներ ռադիոնավիգացիոն միջոցների աշխատանքում,
գ. բացառի օդանավերի գետնավարման դժվարությունները դեպի հակասառցակալման ապահովման գոտի և դրանից դուրս գալու ժամանակ,
դ. տեսանելի լինի աերոդրոմի կարգավարական կետից:
5) Հրապարակը պետք է ապահովված լինի հետևյալ գոտիներով`
ա. ներքին գոտի, որը նախատեսված է մշակվող օդանավերի կայանման համար և դրա չափերը պետք է համապատասխանեն տվյալ աերոդրոմում շահագործվող ամենամեծ օդանավին,
բ. արտաքին գոտի, որը նախատեսված է օդանավերի մշակումն իրականացնող տրանսպորտային միջոցների համար և դրա լայնությունը պետք է լինի առնվազն 3.8մ:
6) Ելնելով աերոդրոմի բնակլիմայական պայմաններից, ինչպես նաև թռիչքների ինտենսիվությունից և օգտագործվող հակասառցակալող նյութերի տիպերից, աերոդրոմում կարող են նախատեսվել մի քանի հրապարակներ:
7) Հակասառցակալման ապահովման հրապարակների ջրահեռացումը պետք է իրականացվի առանձին համակարգով` բացառելով գրունտային ջրերի ախտոտումը: Հրապարակների թեքությունը պետք է ապահովի հակասառցակալող հեղուկի հեռացումը դեպի ջրահեռացման համակարգ: Հրապարակների երկայնակի թեքությունը պետք է լինի հնարավորինս նվազագույնը, իսկ լայնակի թեքությունը չպետք է գերազանցի 1%:
8) Հակասառցակալման ապահովման հրապարակների ծածկույթի կրողունակությունը պետք է ապահովի օդանավերի բեռնվածությունը, որոնց համար դրանք նախատեսված են:
9) Հակասառցակալման ապահովման հրապարակների համար պետք է ապահովվեն Կարգի 34-րդ «4» ենթակետում սահմանված հեռավորությունները, իսկ եթե այն հարում է ղեկուղուն, ապա Կարգի 33-րդ կետում սահմանված հեռավորությունները:
36. Սույն գլխում ներկայացված աերոդրոմի տարրերի վերաբերյալ բոլոր աշխարհագրական (կոորդինատներ, իրական ազիմուտները, գերազանցումները և այլն) և շահագործողական (երկրաչափական չափսերը, կրողունակությունները) ներկայացվում են Աերոդրոմի ձեռնարկում և հրապարակվում են աերոնավիգացիոն տեղեկագրերում:
Գ լ ու խ VI
Աերոդրոմի օդային տարածքի բաժանումն ըստ թռիչքների համար նախատեսված ազատ գոտիների ապահովման հարթությունների, դրանց բնութագրերը եվ ներկայացվող պահանջները
37. Աերոդրոմի շրջանի օդային տարածքը թռիչքների համար նախատեսված ազատ գոտիների ապահովման տեսանկյունից բաժանվում է հետևյալ հարթությունների`
1) Կոնային- թեք հարթություն է, որի ստորին սահմանը համընկնում է ներքին հորիզոնական հարթության մակերևույթի վերին սահմանի հետ և հանդիսանում է վերջինիս շարունակությունը:
2) Ներքին հորիզոնական- ներքին հորիզոնական հարթությունը հորիզոնական շրջան է, որը գտնվում է աերոդրոմի և մերձաերոդրոմային օդային տարածքում: Շրջանի շառավիղը և բարձրությունը սահմանվում են աերոդրոմի տեղորոշիչ կետի նկատմամբ:
3) Վայրէջքի- հարթությունն իրենից ներկայացնում է երկրաչափական սեղանի ձևով հարթություն, որը գտնվում է վազքուղու շեմերի շարունակության վրա: Վայրէջքի կորագծային սխեմաների կամ դրանց շեղվածության դեպքերում հնարավոր է վայրէջքի հարթության ձևի փոփոխում: Վայրէջքի հարթության ներքին սահմանի հարաբերական բարձրությունը հավասար է վազքուղու տվյալ շեմի հարաբերական միջին բարձրությանը, իսկ թեքությունները սահմանվում են վայրէջքի առանցքագծով անցնող ուղղահայաց մակերեսի նկատմամբ: Վայրէջքի հարթության սահմաններ են հանդիսանում`
ա. ներքին սահմանը- սեղանի հիմքերից մեկը, որը ուղղահայաց է վազքուղու առանցքագծի շարունակությանը և գտնվում է վազքուղու շեմերից սահմանված հեռավորության վրա,
բ. եզրային սահմանները- սեղանի կողմերը, որոնք սկսվում են վայրէջքի ներքին մակերևույթի սահմանից և հավասարաչափ շեղված են վազքուղու առանցքագծի նկատմամբ,
գ. արտաքին սահմանը- սեղանի երկրորդ հիմքը:
4) Վայրէջքի ներքին- հարթությունն իրենից ներկայացնում է ուղղանկյուն, որը գտնվում է անմիջապես վազքուղու շեմի առջև: Վայրէջքի ներքին հարթության սահմաններ են հանդիսանում`
ա. ներքին սահմանը- սահմանված երկարությամբ վազքուղու առանցքագծին ուղղահայաց, որը համընկնում է վայրէջքի հարթության ներքին սահմանի հետ,
բ. եզրային սահմանները- սահմանված երկարությամբ վազքուղու առանցքագծին զուգահեռներ, որոնք սկսվում են հարթության ներքին սահմանից,
գ. արտաքին սահմանը- հարթության ներքին սահմանին զուգահեռ:
5) Անցումային- իրենից ներկայացնում է բարդ հարթություն, որը տեղաբաշխված է վազքուղու թռիչքային գոտու և վայրէջքի հարթության երկայնքով և թեքությամբ տարածվում է վեր` մինչև ներքին հորիզոնական հարթությունը: Անցումային հարթության հարաբերական բարձրությունը վայրէջքի հարթության երկայնքով համապատասխանում է վերջինիս բարձրությանը, իսկ թռիչքային գոտու երկայնքով` վազքուղու առանցքագծի մոտակա կետի բարձրությանը: Հարթության երկայնքով թեքությունը հաշվարկվում է վազքուղու առանցքագծով անցնող ուղղաձիգ հարթության նկատմամբ, իսկ ճակատային հատվածների թեքությունը` վազքուղու առանցքագծին ուղղահայաց: Անցումային հարթության սահմաններ են հանդիսանում`
ա. ներքին սահմանը, որը սկսվում է վայրէջքի և ներքին հորիզոնական հարթությունների հատման եզրային սահմանից և տարածվում է ներքև վայրէջքի հարթության եզրի երկայնքով մինչև վայրէջքի հարթության ներքին սահմանը` վազքուղու առանցքագծին զուգահեռ,
բ. վերին սահմանը, որը համընկնում է ներքին հարթության մակերեսի սահմանի հետ:
6) Ներքին անցումային-վազքուղուն ավելի մոտ գտնվող անցումային հարթությանը համանման հարթություն: Ներքին անցումային հարթության ստորին սահմանի հարաբերական բարձրությունը, վայրէջքի և երկրորդ շրջանի հարթությունների երկայնքով, համապատասխանում է կոնկրետ հարթության բարձրությանը, իսկ թռիչքագոտու երկայնքով` վազքուղու առանցքագծի կամ դրա շարունակության մոտակա կետի բարձրությանը: Հարթության թեքությունը հաշվարկվում է վազքուղու առանցքագծով անցնող ուղղաձիգ հարթության նկատմամբ: Ներքին հարթության սահմաններ են հանդիսանում`
ա. ստորին սահմանը, որը սկսվում է վայրէջքի ներքին հարթության եզրից և տարածվում է դրա երկայնքով` զուգահեռ վազքուղու առանցքագծին մինչև ընդհատված վայրէջքի ժամանակ երկրորդ շրջան անցնելու (այսուհետ` երկրորդ շրջան) հարթության ներքին սահմանը և դեպի վեր տվյալ հարթության եզրային սահմանի ուղղությամբ մինչև ներքին հորիզոնական հարթության եզրային սահմանը,
բ. վերին սահմանը, որը գտնվում է ներքին հորիզոնական հարթության վրա:
7) Ընդհատված վայրէջքի ժամանակ երկրորդ շրջան անցնելու հարթություն-իրենից ներկայացնում է թեք հարթություն, որը գտնվում է ներքին անցումային հարթությունների միջև վազքուղու շեմից սահմանված հեռավորության վրա: Ընդհատված վայրէջքի ժամանակ երկրորդ շրջան անցնելու հարթության ներքին սահմանի հարաբերական բարձրությունը համապատասխանում է վազքուղու առանցքագծի բարձրությանը ներքին սահմանի գոտում: Հարթության թեքությունը հաշվարկվում է վազքուղու առանցքագծով անցնող ուղղաձիգ հարթության նկատմամբ: Հարթության սահմաններ են հանդիսանում`
ա. ներքին սահմանը- վազքուղու շեմերից համապատասխան հեռավորության վրա գտնվող և առանցքագծին ուղղահայաց հորիզոնականը,
բ. եզրային սահմանները- սկսվում են ներքին սահմանի եզրերից և հավասարաչափ շեղված վազքուղու առանցքագծով անցնող հարթության նկատմամբ տարածվում են մինչև արտաքին սահմանը,
գ. արտաքին սահմանը- ներքին հորիզոնական հարթությունում տեղակայված և ներքին սահմանին զուգահեռ սահման:
8) Բարձրություն հավաքելու- վազքուղու շեմերի կամ խոչընդոտներից ազատ գոտու սահմաններից դուրս թեք կամ նշված ձևի հարթություն: Բարձրություն հավաքելու ներքին սահմանի բարձրությունը համապատասխանում է վազքուղու շեմի և ներքին սահմանի միջև ընկած հատվածում վաքուղու առանցքագծի շարունակության առավելագույն բարձրության վրա գտնվող կետի բարձրությանը, սակայն խոչընդոտներից ազատ գոտու առկայության դեպքում ներքին սահմանի բարձրությունը համապատասխանում է խոչընդոտներից ազատ գոտու առանցքագծի վրա գտնվող հողատարածքի առավելագույն բարձր կետի բարձրությանը: Եթե բարձրություն հավաքելու հետագիծն ուղղագիծ է, բարձրություն հավաքելու մակերևույթի թեքությունը սահմանվում է վազքուղու առանցքագծով անցնող ուղղաձիգ հարթության նկատմամբ: Եթե բարձրություն հավաքելու հետագիծը շրջադարձով է և ունի բարդ գծանկար, առանցքագծի թեքությունը համանման է ուղղագիծ հետագծի թեքությանը: Բարձրություն հավաքելու սահմաններ են հանդիսանում`
ա. ներքին սահմանը` վազքուղու առանցքագծին ուղղահայաց հորիզոնական է, որը կարող է տեղակայված լինել կամ վազքուղու շեմից սահմանված հեռավորության վրա, կամ խոչընդոտներից ազատ գոտու առկայության դեպքում դրա վերջնասահմաններում,
բ. եզրային սահմանները, որոնք սկսվում են ներքին սահմանի եզրերից և սահմանված անկյան տակ հավասարաչափ շեղված են թռիչքագծի նկատմամբ մինչև սահմանված լայնությունը, որից սկսած շարունակվում են բարձրություն հավաքելու հարթության երկարության մնացած ամբողջ հատվածի չափով,
գ. արտաքին սահմանը` թռիչքագծին ուղղահայաց հորիզոնական է սահմանված հեռավորության վրա:
38. Աերոդրոմի շրջանի օդային տարածքի հարթությունների գծանկարները և բնութագրերը ներկայացված են Կարգի 1 և 2 աղյուսակներում և 1 և 2 նկարներում:
Աղյուսակ 1
Վայրէջքի համար վազքուղի
| Հարթությունը և չափսերը |
Աերոդրոմի դասակարգումը | |||||||||
| Սարքավորված վազքուղի օդանավերի ճշգրիտ վայրէջքի համար | ||||||||||
| Չսարքավորված վազքուղի |
Սարքավորված վազքուղի օդանավերի ոչ ճշգրիտ վայրէջքի համար |
I կարգախմբի | II և III կարգախմբի | |||||||
| Վազքուղու ծածկագրի նիշը |
Վազքուղու ծածկագրի նիշը |
Վազքուղու ծածկագրի նիշը |
Վազքուղու ծածկագրի նիշը | |||||||
| 1 | 2 | 3 | 4 | 1.2 | 3 | 4 | 1.2 | 3.4 | 3.4 | |
| Կոնային | ||||||||||
| Թեքությունը | 5% | 5% | 5% | 5% | 5% | 5% | 5% | 5% | 5% | 5% |
| Բարձրությունը | 35մ | 55մ | 75մ | 100մ | 60մ | 75մ | 100մ | 60մ | 100մ | 100մ |
| Ներքին հորիզոնական | ||||||||||
| Բարձրությունը | 45մ | 45մ | 45մ | 45մ | 45մ | 45մ | 45մ | 45մ | 45մ | 45մ |
| Շառավիղը | 2000մ | 2500մ | 4000մ | 4000մ | 3500մ | 4000մ | 4000մ | 3500մ | 4000մ | 4000մ |
| Վայրէջքի ներքին | ||||||||||
| Լայնությունը | - | - | - | - | - | - | - | 90մ | 120մ | 120մ |
| Հեռավորութ. շեմից | - | - | - | - | - | - | - | 60մ | 60մ | 60մ |
| Երկարությունը | - | - | - | - | - | - | - | 900մ | 900մ | 900մ |
| Թեքությունը | - | - | - | - | - | - | - | 2.5% | 2% | 2% |
| Վայրէջքի | ||||||||||
| Ներք. սահմ.երկար. | 60մ | 80մ | 150մ | 150մ | 150մ | 300մ | 300մ | 150մ | 300մ | 300մ |
| Հեռավորութ. շեմից | 30մ | 60մ | 60մ | 60մ | 60մ | 60մ | 60մ | 60մ | 60մ | 60մ |
| Շեղվածություն (յուրաքանչյուր ուղղությամբ) |
10% | 10% | 10% | 10% | 15% | 15% | 15% | 15% | 15% | 15% |
| Առաջին հատված | ||||||||||
| Երկարությունը | 1600 | 2500մ | 3000մ | 3000մ | 2500մ | 3000մ | 3000մ | 3000մ | 3000մ | 3000մ |
| Թեքությունը | 5% | 4% | 3.33% | 2.5% | 3.33% | 2% | 2% | 2.5% | 2% | 2% |
| Երկրորդ հատված | ||||||||||
| Երկարությունը | - | - | - | - | - | 3600մ | 3600մ | 12000 | 3600 | 3600 |
| Թեքությունը | - | - | - | - | - | 2.5% | 2.5% | 3% | 2.5% | 2.5% |
| Հորիզոնական հատված | ||||||||||
| Երկարությունը | - | - | - | - | - | 8400մ | 8400մ | - | 8400մ | 8400մ |
| Թեքությունը | - | - | - | - | - | 15000մ | 15000մ | 15000մ | 15000մ | 15000մ |
| Անցումային | ||||||||||
| Թեքությունը | 20% | 20% | 14.3% | 14.3% | 20% | 14.3% | 14.3% | 14.3% | 14.3% | 14.3% |
| Ներքին անցումային | ||||||||||
| Թեքությունը | - | - | - | - | - | - | - | 40% | 3.33% | 3.33% |
| Ընդհատված վայրէջքի | ||||||||||
| Ներք. սահմ. երկար. | - | - | - | - | - | - | - | 90մ | 120մ | 120մ |
| Հեռավորութ. շեմից | - | - | - | - | - | - | - | - | 1800մ | 1800մ |
| Շեղվածություն (յուրաքանչյուր ուղղությամբ) |
- | - | - | - | - | - | - | 10% | 10% | 10% |
| Թեքությունը | - | - | - | - | - | - | - | 4% | 3.33% | 3.33% |
Աղյուսակ 2
Վերելքի համար նախատեսված վազքուղի
| Վազքուղու ծածկագրի համարը | |||
| Հարթությունը և չափսերը | 1 | 2 | 3 կամ 4 |
| Ներքին սահմանագծի երկարությունը | 60մ | 80մ | 180մ |
| Հեռավորություն վազքուղու շեմից | 30մ | 60մ | 60մ |
| Շեղվածությունը (յուրաքանչյուր ուղղությամբ) | 10% | 10% | 12.5% |
| Վերջնահատվածի լայնությունը | 380մ | 580մ | 1200մ |
| Երկարությունը | 1600մ | 2500մ | 15000մ |
| Թեքությունը | 5% | 4% | 2% |
39. Աերոդրոմի շրջանի օդային տարածքի հարթություններին ներկայացվող պահանջները պայմանավորված են աերոդրոմի ծածկագրային ցուցանիշով և վազքուղու նավիգացիոն միջոցների հագեցվածությամբ:
40. Չսարքավորված վազքուղիների համար սահմանվում են խոչընդոտների սահմանափակման հետևյալ մակերևույթները`
ա. կոնային,
բ. ներքին հորիզոնական,
գ. վայրէջքի,
դ. անցումային:
1) Հարթությունների հարաբերական բարձրությունները և թեքությունները չպետք է գերազանցեն Կարգի աղյուսակ 1 ներկայացված մեծությունները:
2) Նոր կառուցվող կամ վերակառուցվող օբյեկտների բարձրությունները չպետք է գերազանցեն վայրէջքի կամ անցումային հարթությունների սահմանները կամ կոնային կամ ներքին հորիզոնական մակերևույթների սահմանները, բացառությամբ այն դեպքերի, եթե դրանք ստվերարկված են այլ օբյեկտներով կամ աերոդրոմի շրջանի օդային տարածքի աերոնավիգացիոն ուսումնասիրությունների արդյունքում արձանագրվել է, որ նոր կառուցվող կամ վերակառուցվող օբյեկտները բացասաբար չեն ազդում թռիչքների անվտանգությանը:
41. Օդանավերի ոչ ճշգրիտ վայրէջքի համար սարքավորված վազքուղիների համար սահմանվում են խոչընդոտների սահմանափակման հետևյալ մակերևույթները`
ա. կոնային,
բ. ներքին հորիզոնական,
գ. վայրէջքի,
դ. անցումային:
1) Հարթությունների հարաբերական բարձրությունները և թեքությունները չպետք է գերազանցեն Կարգի աղյուսակ 1 ներկայացված մեծությունները, բացառությամբ վայրէջքի հարթության հորիզոնական հատվածի:
2) Վայրէջքի հարթության հորիզոնական հատվածը գտնվում է այն կետից հետո, որտեղ 2,5% գրադիենտով թեքությունը հատում է`
ա. վազքուղու շեմի 150մ բարձրության վրա գտնվող հորիզոնական հարթությունը կամ
բ. խոչընդոտների անցման բացարձակ/հարաբերական բարձրությունը սահմանող ցանկացած օբյեկտի առավել բարձր կետով անցնող հորիզոնական հարթությունը` կախված նրանից, թե որն է դրանցից ավելի բարձր:
3) Նոր կառուցվող կամ վերակառուցվող օբյեկտների բարձրությունները չպետք է գերազանցեն վայրէջքի հարթության, նեքրին սահմանից 3000 մետրի սահմաններում կամ անցումային հարթության սահմանը, բացառությամբ այն դեպքերի, եթե դրանք ստվերարկված են այլ օբյեկտներով կամ աերոդրոմի շրջանի օդային տարածքի աերոնավիգացիոն ուսումնասիրությունների արդյունքում արձանագրվել է, որ նոր կառուցվող կամ վերակառուցվող օբյեկտները բացասաբար չեն ազդում թռիչքների անվտանգությանը:
42. Օդանավերի ճշգրիտ վայրէջքի համար I-ին, II-րդ և III-րդ կարգախմբի վազքուղիների համար սահմանվում են խոչընդոտների սահմանափակման հետևյալ մակերևույթները`
ա. կոնային,
բ. ներքին հորիզոնական,
գ. վայրէջքի,
դ. վայրէջքի ներքին,
ե. անցումային,
զ. ներքին անցումային,
է. ընդհատված վայրէջքի ժամանակ երկրորդ շրջան անցնելու:
1) Հարթությունների հարաբերական բարձրությունները և թեքությունները չպետք է գերազանցեն Կարգի աղյուսակ 1 ներկայացված մեծությունները, բացառությամբ վայրէջքի հարթության հորիզոնական հատվածի:
2) Վայրէջքի մակերևույթի հորիզոնական հատվածը գտնվում է այն կետից հետո, որտեղ 2,5% գրադիենտով թեքությունը հատում է`
ա. վազքուղու շեմի 150 մ բարձրության վրա գտնվող հորիզոնական հարթությունը կամ
բ. խոչընդոտների անցման բացարձակ/հարաբերական բարձրությունը սահմանող ցանկացած օբյեկտի առավել բարձր կետով անցնող հորիզոնական հարթությունը, կախված նրանից, թե որն է դրանցից ավելի բարձր:
3) Անշարժ օբյեկտները չպետք է գերազանցեն վայրէջքի ներքին, ներքին անցումային և ընդհատված վայրէջքի ժամանակ երկրորդ շրջան անցնելու հարթությունների սահմանները, բացառությամբ իրենց ֆունկցիոնալ նշանակությամբ անհրաժեշտ օբյեկտների, որոնք պետք է տեղադրված լինեն դյուրաբեկ ամրանների վրա:
4) Նշված հարթությունների սահմաններում բացառվում է շարժական օբյեկտների առկայությունը:
5) Նոր կառուցվող կամ վերակառուցվող օբյեկտների բարձրությունները չպետք է գերազանցեն վայրէջքի կամ անցումային հարթությունների սահմանները, բացառությամբ այն դեպքերի, եթե դրանք ստվերարկված են այլ օբյեկտներով կամ աերոդրոմի շրջանի օդային տարածքի աերոնավիգացիոն ուսումնասիրությունների արդյունքում արձանագրվել է, որ նոր կառուցվող կամ վերակառուցվող օբյեկտները բացասաբար չեն ազդում թռիչքների անվտանգության վրա:
43. Օդանավի վերելքի անվտանգությունն ապահովելու նպատակով սահմանվում է
ա. վերելքի ընթացքում բարձրություն հավաքելու հարթություն, որի երկրաչափական չափսերը ներկայացված են Կարգի աղյուսակ 2:
1) Նոր կառուցվող կամ վերակառուցվող օբյեկտների բարձրությունները չպետք է գերազանցեն վերելքի ընթացքում բարձրություն հավաքելու հարթության սահմանները, բացառությամբ այն դեպքերի, եթե դրանք ստվերարկված են այլ օբյեկտներով:
44. Սույն գլխում ներկայացված հարթությունների սահմաններից դուրս տեղակայված անշարժ օբյեկտները, որոնց բարձրությունը գետնի մակերևույթի նկատմամբ գերազանցում է 150մ, աերոնավիգացիոն ուսումնասիրությունների արդյունքում կարող են դիտվել որպես խոչընդոտներ:
45. Աերոդրոմում և դրա շրջանում առկա բոլոր խոչընդոտները հաշվառվում են Աերոդրոմ շահագործողի կողմից և դրանց վերաբերյալ տեղեկությունները (տիպը, աշխարհագրական կոորդինատները, հարաբերական բարձրությունը, մականշման առկայությունը և ձևը) ներկայացվում են Աերոդրոմի ձեռնարկում և հրապարակվում են աերոնավիգացիոն տեղեկագրերում:
Գ լ ու խ VII
Աերոնավիգացիոն տեսողական միջոցներ
46. Սույն Կարգի իմաստով աերոնավիգացիոն տեսողական միջոցներ են համարվում աերոդրոմային այն միջոցները, սարքավորումները և համալիրները, որոնք ցուցանշում են օդանավի թռիչք-վայրէջքի և գետնավարման ուղղությունները:
47. Աերոդրոմային աերոնավիգացիոն տեսողական միջոցներ են հանդիսանում`
ա. քամու ուղղության ցուցիչը,
բ. մականշանները,
գ. լուսարձակները և լուսաազդանշանային համակարգը,
դ. նշանները:
1) Աերոդրոմում կիրառվող աերոդրոմային աերոնավիգացիոն տեսողական միջոցների մասին տեղեկատվությունը (տեսակները, քանակները, գծապատկերները, տեղադրման կոորդինատները) ներկայացվում են Աերոդրոմի ձեռնարկում և հրապարակվում են աերոնավիգացիոն տեղեկագրերում:
48. Աերոդրոմը պետք է ապահովված լինի առնվազն երկու քամու ուղղության ցուցիչներով, որոնք տեղադրվում են այնպիսի գոտիներում, որպեսզի տեսանելի լինեն թռիչք-վայրէջք իրականացնող կամ գետնավարող օդանավի անձնակազմի համար և դրանց վրա չազդեն օդի կողմնակի տատանումները:
1) Քամու ուղղության ցուցիչն ունի կտրված կոնի ձև. հետևյալ նվազագույն չափերով`
ա. հիմքի շառավիղը` 0.9մ,
բ. երկարությունը` 3.6մ:
2) Քամու ուղղության ցուցիչի գույնը պետք է ապահովի դրա տեսանելիությունը 300մ բարձրությունից: Նախընտրելի են համարվում սպիտակ կամ նարնջագույն գույները:
3) Ելնելով շրջակա միջավայրի ընդհանուր ֆոնից կարող է կիրառվել գույների զուգակցում` նարնջագույն և սպիտակ, կարմիր և սպիտակ կամ սև և սպիտակ` ապահովելով դրանց հաջորդականությունը:
4) Քամու ուղղության ցուցիչի տեղադրման վայրը մականշվում է 15մ շառավիղ ունեցող շրջանով, ընդ որում, նշագծի լայնությունը պետք է լինի առնվազն 1.2մ: Եթե աերոդրոմը շահագործվում է նաև գիշերային ժամերին, ապա պետք է ապահովվի նաև քամու ուղղության ցուցչի լուսավորությունը:
49. Աերոնավիգացիոն տեղեկատվության տրամադրման նպատակով աերոդրոմի տարրերը (վազքուղի, ղեկուղի, կառամատույց) պետք է ապահովված լինեն մականշաններով:
1) Եթե աերոդրոմը շահագոծվում է նաև գիշերային ժամերին, աերոդրոմի տարրերի մականշման համար նախընտրելի է կիրառել լուսաանդրադարձիչ նյութեր պարունակող ներկեր:
50. Արհեստական ծածկույթով վազքուղու մականշումն իրականացվում է սպիտակ գույնի հետևյալ գծանշանների միջոցով`
ա. վազքուղու թվի և ուղղության,
բ. վազքուղու շեմի,
գ. վազքուղու առանցքագծի,
դ. օդանավերի վայրէջքի գոտու,
ե. օդանավերի վայրէջքի ճշգրիտ կետի,
զ. վազքուղու եզրերի:
51. Վազքուղին արտահայտվում է ամբողջական թվերով և ցույց է տալիս ՎՈՒ մագնիսական ուղղվածությունը (մագնիսական ուղղվածության ամբողջականացված արժեքի 1/10):
1) Եթե աերոդրոմում շահագործվում են մեկից ավելի վազքուղիներ, դրանք մականշվում են «L», «R», «C» տառերով կամ դրանց զուգակցումներով:
2) Վազքուղու թիվը և ուղղությունը մականշվում են վազքուղու առանցքագծի վրա` համաձայն Կարգի նկար 3-ի միջազգային ստանդարտներով սահմանված թվային և տառային նշաններով:
52. Արհեստական ծածկույթով վազքուղիները պետք է ապահովված լինեն վազքուղու շեմի մականշմամբ` համաձայն Կարգի նկար 3-ի:
1) Վազքուղու շեմի մականշումն իրականացվում է վազքուղու առանցքագծին համաչափ, առնվազն 30մ երկարությամբ և մոտ 1.8մ լայնությամբ` վազքուղու ճակատից 6մ հեռավորության վրա գծանշված զոլագծերով, որոնց քանակը պայմանավորված է վազքուղու լայնությամբ`
ա. 18մ լայնության դեպքում` 4 զոլագիծ,
բ. 23մ լայնության դեպքում` 6 զոլագիծ,
գ. 30մ լայնության դեպքում` 8 զոլագիծ,
դ. 45մ լայնության դեպքում` 12 զոլագիծ,
ե. 60մ լայնության դեպքում` 16 զոլագիծ:
2) Կողային զոլագծերը գծանշվում են վազքուղու եզրից առնվազն 3մ կամ առանցքագծից 27մ հեռավորությունների վրա: Զոլագծերը գծանշվում են վազքուղու ամբողջ լայնությամբ` ապահովելով դրանց միջև հեռավորությունները մոտ 1.8մ սահմաններում, բացառությամբ առանցքագծին կից զոլագծերի, որոնց միջև հեռավորությունը պետք է լինի կրկնակի` 3.6մ:
3) Եթե վազքուղու ճակատն ուղղահայաց չէ առանցաքագծին, վազքուղու շեմը լրացուցիչ մականշվում է առնվազն 1.8մ լայնությամբ վազքուղու առանցքագծին ուղղահայաց գծանշանով:
4) Վազքուղու շեմի մշտական կամ ժամանակավոր տեղափոխման դեպքում դրա մականշումներն իրականացվում են Կարգի նկար 4 ներկայացված գծապատկերների համաձայն:
5) Եթե վազքուղու շեմը տեղափոխված է կարճ ժամանակով, արհեստական ծածկույթի մականշման փոխարեն կարող են օգտագործվել նույն գույնի և գծապատկերներով ցուցանակներ:
53. Վազքուղու առանցաքագիծը մականշվում է ընդհատվող շերտագծերով` առնվազն 30մ երկարությամբ, ընդ որում, առաջին շերտագիծը գծանշվում է վազքուղու թվանշանից 12մ հեռավորության վրա:
1) Մեկ շերտագծի և ընդհատվող հատվածի ընդհանուր երկարությունը պետք է լինի առնվազն 50մ, սակայն ոչ ավելի 75մ:
2) Վազքուղու առանցքագծի մականշման գծապատկերը ներկայացված է Կարգի նկար 3-ին:
3) Ելնելով ՎՈՒ ցուցանիշներից` սահմանվում են շերտագծերի հետևյալ լայնությունները`
ա. II կամ III կարգախմբով սարքավորված վազքուղու համար` 0.90մ,
բ. I կարգախմբով սարքավորված կամ ոչ ճշգրիտ վայրէջքի համար սարքավորված «3» կամ «4» ծածկագրով նշված վազքուղիների համար` 0.45մ,
գ. չսարքավորված կամ ոչ ճշգրիտ վայրէջքի համար սարքավորված «1» կամ «2» ծածկագրով նշված վազքուղիների համար` 0.30մ:
54. «2», «3» և «4» ծածկագրով նշված վազքուղիները պետք է ապահովված լինեն օդանավերի վայրէջքի գոտու մականշումով` համաձայն Կարգի նկար 5 ներկայացված երկու տարբերակների` «Ա»` հեռավորությունների նշումով և «Բ»` հիմնական:
1) «Բ» տարբերակով մականշումն իրականացվում է վազքուղու առանցքագծին
համաչափ զույգ ուղղանկյուն գծանշանների միջոցով, որոնցից յուրաքանչյուրի երկարությունը պետք կազմի առնվազն 22.5մ, իսկ լայնությունը` 3մ: Գծանշանների զույգերի քանակը պայմանավորված է վազքուղու շեմերի միջև հեռավորությամբ`
ա. մինչև 900մ` 1 զույգ,
բ. 900 - 1199մ` 2 զույգ,
գ. 1200-1499մ` 3 զույգ,
դ. 1500-2399մ` 4 զույգ,
ե. 2400մ և ավելի` 6 զույգ, իսկ դրանց միջև հեռավորությունները պետք է կազմի 150մ:
2) «Ա» տարբերակով մականշումն իրականացվում է վազքուղու առանցքագծին համաչափ զույգ բազմաշերտային գծանշանների միջոցով: Գծանշանների զույգերի քանակը և դրանց միջև հեռավորությունները սահմանվում են նախորդ պարբերության համաձայն: Յուրաքանչյուր շերտագծի երկարությունը պետք կազմի առնվազն 22.5մ, լայնությունը` 3մ, իսկ հարակից շերտագծերի միջև հեռավորությունը` 1.5մ:
3) Վայրէջքի գոտու գծանշանների առաջին զույգը գծանշվում է վազքուղու շեմից 150մ հեռավորության վրա:
4) Յուրաքանչյուր զույգի գծանշանների ներքին կողմերի միջև հեռավորությունները ներկայացված են հետևյալ աղյուսակում`
| Գծանշանների դիրքը և չափերը |
Վայրէջքի համար տրամադրվող երկարություն | |||
| մինչև 800մ | 800-1199մ | 1200-2399մ | 2400մ և ավելի | |
| Հեռավորությունը ՎՈՒ շեմից | 150մ | 250մ | 300մ | 400մ |
| Գծանշանի երկարությունը | 30-45մ | 30-45մ | 45-60մ | 45-60մ |
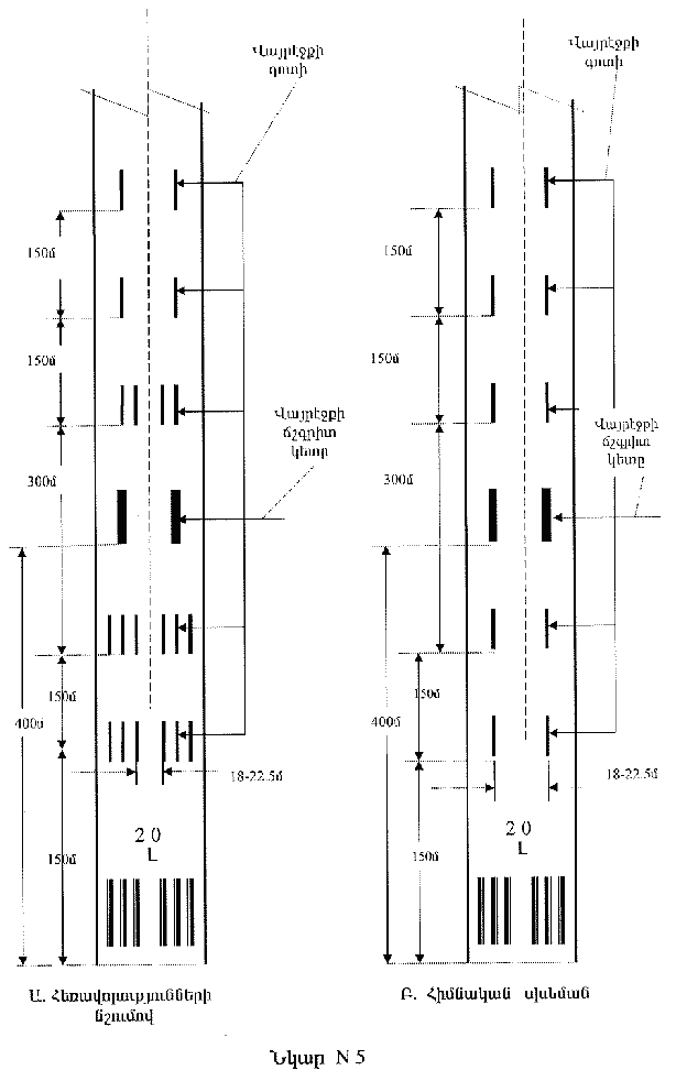
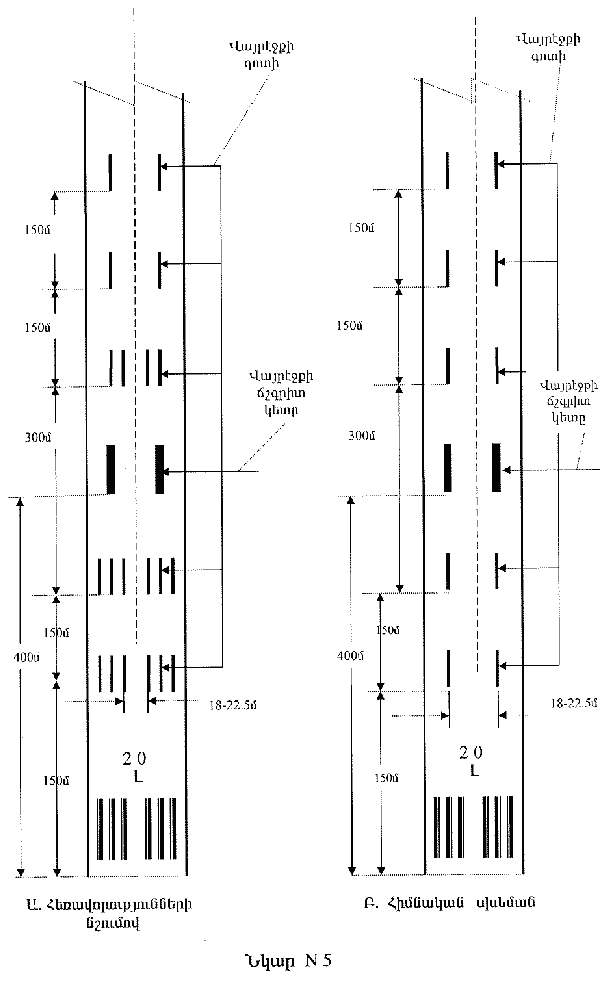
| Գծանշանի լայնությունը | 4մ | 6մ | 6-10մ | 6-10մ |
| Գծանշանների ներքին կողմերի միջև հեռավորությունը |
6մ | 9մ | 18-22.5մ | 18-22.5մ |
55. Օդանավերի վայրէջքի ճշգրիտ կետի մականշումն իրականացվում է վազքուղու առանցքագծին համաչափ զույգ ուղղանկյուն գծանշանների միջոցով, որոնց չափերը պետք է համապատասխանեն Կարգի 54-րդ կետի աղյուսակում ներկայացված մեծություններին, իսկ գծանշումները` Կարգի նկար 5:
56. Վազքուղու եզրերի մականշումն իրականացվում է, եթե վազքուղին ցայտուն արտահայտված չէ շրջակա միջավայրում:
1) Միաժամանակ առաջարկվում է վազքուղու եզրերի մականշումն իրականացնել ճշգրիտ վայրէջքի համար սարքավորված բոլոր վազքուղիների վրա:
2) Վազքուղու եզրերի մականշումն իրականացվում է 0.9 լայնությամբ շերտագծով, եթե վազքուղու լայնությունը հավասար կամ շատ է 30 մետրից և 0.45մ լայնությամբ շերտագծով, եթե վազքուղու լայնությունը քիչ է 30 մետրից:
3) Շերտագծերը պետք է համընկնեն վազքուղու եզրերի հետ, եթե վազքուղու լայնությունը քիչ է 60 մետրից: Եթե վազքուղու լայնությունը գերազանցում է 60մ` շերտագծերը գծանշվում են վազքուղու առանցքագծից 30մ հեռավորության վրա:
57. Աերոդրոմի ղեկուղին, կառամատույցը և ՎՈՒ հետդարձի հրապարակը մականշվում են դեղին գույնի գծանշաններով:
58. Ղեկուղու մականշաններ են համարվում`
ա. ղեկուղու առանցքագծի,
բ. սպասման տեղերի գծանշանները:
1) Ղեկուղու առանցքագիծը մականշվում է առնվազն 0.15մ լայնությամբ հոծ շերտագծով: Ղեկուղու ուղղագծային հատվածներում շերտագիծը գծանշվում է օդանավերի գետնավարման ղեկուղու առանցքագծով: ՂՈՒ շրջադարձի հատվածներում առանցքագծի շերտագիծը գծանշվում է որպես ուղղագծային հատվածի շարունակություն` ապահովելով հաստատուն հեռավորությունները կորագծային հատվածների եզրերի նկատմամբ:
2) Վազքուղու հետ հատման հատվածներում ղեկուղու առանցքագիծը կորագծով պետք է համընկնի վազքուղու առանցքագծի հետ և շարունակվի դրան զուգահեռ առնվազն 60մ երկարությամբ` «3» կամ «4» ծածկագրով վազքուղիների համար և 30մ երկարությամբ` «1» կամ «2» ծածկագրով վազքուղիների համար:
3) Եթե վազքուղին հանդիսանում է օդանավերի գետնավարման երթուղու մաս և դրա վրա բացակայում է առանցքագիծ կամ այն չի համընկնում գետնավարման երթուղու հետ, ապա վազքուղին մականշվում է ղեկուղու առանցքագծով:
4) Սպասման տեղերը մականշվում են` համաձայն Կարգի նկար 6-ում ներկայացված գծապատկերների:
5) Եթե ղեկուղու վրա սահմանվում է մեկ սպասման տեղ, ապա այն մականշվում է «Ա» տարբերակի համաձայն, իսկ մեկից ավելի սպասման տեղերի սահմանման դեպքում` «Բ» տարբերակի համաձայն, ընդ որում, վազքուղուն մոտակա սպասման տեղը մականշվում է «Ա» տարբերակի համաձայն:
59. Ելնելով օդանավերի գետնավարման երթուղիների բարդությունից կամ շահագործողական փորձից, ի լրումն աերոդրոմում տեղադրված տեղեկատվական ցուցանակների, ղեկուղիները կարող են մականշվել ցուցանակներով կամ ցուցագծանշաններով:
1) Ցուցանակների ձևերը, չափերը, գրառումները և տեղադրման բարձրությունները պետք է համապատասխանեն միջազգային ստանդարտներով սահմանված չափանիշներին:
2) Գծացուցանշանների մականշումն իրականացվում է դեղին և սև գույներով`
ա. սև ֆոնի վրա դեղին գրառում, եթե ցուցանշվում է գտնվելու վայրը,
բ. դեղին ֆոնի վրա սև գրառում, եթե ցուցանշվում է երթևեկման ուղղությունը:
60. Կառամատույցի մականշումն իրականացվում է առնվազն 0.10մ լայնությամբ անվտանգության գծանշաններով, որոնք սահմանում են օդանավերի կայանատեղերում օդանավերի եզրերից անվտանգ հեռավորությունները և դրանց սպասարկող տեխնիկական միջոցների երթևեկման ուղիներն ու կայանման նվազագույն հեռավորությունները:
1) Օդանավերի եզրերից անվտանգ հեռավորությունները և տեխնիկական միջոցների կայանման գոտիները մականշվում են կարմիր գույնի գծանշաններով, իսկ տեխնիկական միջոցների երթևեկման ուղիները` սպիտակ գծանշաններով:
61. Օդանավերի հետդարձի հրապարակի մականշվում 0.15մ լայնությամբ հոծ գծով:
1) Հրապարակի առանցքագիծը պետք է իրականացվի զուգահեռ վազքուղու առանցքագծի հետ առնվազն`
ա. 60մ վրա` «3» կամ «4» ծածկագրով վազքուղիների համար,
բ. 30մ վրա` «1» կամ «2» ծածկագրով վազքուղիների համար,
իսկ դրա կորագծային հատվածը պետք է ապահովի օդանավերի անվտանգ հետդարձը 1800, հաշվի առնելով օդանավի առջևի անվասարքի շրջադարձի առավել անկյունը` 450:
2) Վազքուղու առանցքագծի հետ հատման հրապարակի առանցքագծի մականշումը չպետք է գերազանցի 300:
Գ լ ու խ VIII
Լուսաազդանշանային համակարգը
62. Ելնելով վազքուղու սարքավորվածության կարգախմբից` աերոդրոմի ընդհանուր լուսաազդանշանային համակարգը կազմվում է հետևյալ հիմնական ենթահամակարգերից`
ա. մոտեցման լույսեր,
բ. ՎՈՒ վայրէջքային լույսեր,
գ. ՎՈՒ մուտքային լույսեր,
դ. ՎՈՒ սահմանափակիչ լույսեր,
ե. ՎՈՒ առանցքագծային լույսեր,
զ. ՎՈՒ վայրէջքի գոտու լույսեր,
է. գետնավարման լույսեր,
ը. գետնավարման առանցքագծային լույսեր:
63. Կարգի 62-րդ կետի «ա», «բ», «գ», «դ», և «է» ենթակետերում նշված ենթահամակարգերը կազմվում են վերգետնյա լուսարձակներից, իսկ «ե», «զ» և «ը» ենթակետերում նշված ենթահամակարգերը` խորացված լուսարձակներից:
64. Վերգետնյա լուսարձակները պետք է տեղադրվեն դյուրաբեկ ամրանների վրա և հնարավորության սահմաններում գետնից նվազագույն բարձրության վրա:
1) Վազքուղու շեմից 300մ սահմաններից դուրս տեղադրված մոտեցման լույսերի ենթահամակարգի լուսարձակների ամրանները կարող են լինել ոչ դյուրաբեկ, եթե`
ա. ամրանի բարձրությունը չի գերազանցում 12մ (12մ գերազանցող հատվածը պետք է լինի դյուրաբեկ),
բ. լուսարձակի շրջանում առկա են ավելի բարձր ոչ դյուրաբեկ օբյեկտներ:
2) Եթե լուսարձակների ամրանները բավարար տեսանելի չեն, դրանք պետք է ապահովվեն մականշմամբ:
65. Խորացված լուսարձակները պետք է տեղադրվեն աերոդրոմի տարրերի արհեստական ծածկույթին հավասար, և դրանց կառուցվածքը պետք է դիմակայի օդանավերից առաջացվող բեռնվածությանը:
66. Ելնելով լուսարձակների լուսաճառագայթման ինտենսիվությունից` լուսաազդանշանային համակարգերը դասակարգվում են 3 խմբի` բարձր, միջին և ցածր ինտենսիվության:
1) Լուսաազդանշանային համակարգում կիրառվող լուսարձակների և լույսերի տեխնիկական բնութագրերը պետք է համապատասխանեն Միջազգային ստանդարտներով սահմանված պահանջներին, որոնք ներկայացված են Չիկագոյի կոնվենցիայի «Աերոդրոմներ» թիվ 14 Հավելվածի Լրացում 2-ում:
2) Ճշգրիտ վայրէջքի համար I, II կամ III կարգախմբով սարքավորված վազքուղիները պետք է ապահովված լինեն բարձր ինտենսիվության լուսաազդանշանային համակարգով:
3) Չսարքավորված կամ ճշգրիտ վայրէջքի համար սարքավորված վազքուղիների վրա կարող է տեղադրվել միջին կամ ցածր ինտենսիվության լուսաազդանշանային համակարգ:
67. Լուսաազդանշանային համակարգերը պետք է ապահովեն ինտենսիվության կարգավորումը` ելնելով տեսանելիության փաստացի պայմաններից:
1) Բարձր ինտենսիվության համակարգերում պետք է նախատեսվի ինտենսիվության կարգավորման 5 աստիճան` լույսի ուժի նոմինալ արժեքի 100, 30, 10, 3 և 1% չափով:
2) Միջին ինտենսիվության համակարգերում պետք է նախատեսվի ինտենսիվության կարգավորման 3 աստիճան` լույսի ուժի նոմինալ արժեքի 100, 30 և 10% չափով:
3) Ցածր ինտենսիվության համակարգերում պետք է նախատեսվի ինտենսիվության կարգավորման 2 աստիճան` լույսի ուժի նոմինալ արժեքի 100 և 30% չափով:
4) Յուրաքանչյուր ենթահամակարգի լույսերի ինտենսիվության կարգավորումն իրականացվում է առանձին կարգավորիչների միջոցով:
5) ՎՈՒ լուսաազդանշանային համակարգը պետք է դիտարկվի որպես մի ամբողջություն և ենթահամակարգերի լույսերի ինտենսիվության սահմանման ժամանակ անհրաժեշտ է խուսափել կտրուկ անցումներից` տեսանելիության կեղծ պատկերը բացառելու նպատակով:
68. Լուսաազդանշանային համակարգի արդյունավետությունը բարձրացնելու և օդաչուների հնարավոր կուրացումը բացառելու նպատակով պետք է ապահովվեն լուսարձակների տեղադրման սահմանված անկյունները` համաձայն հետևյալ աղյուսակի`
| Լույսերի ենթահամակարգերը և խմբերը |
Տեղադրան անկյունը (0) | Ծանոթություն | |
| Ուղ. հարթ. | Հորիզ. հարթ. | ||
| Մոտեցման լույսերի կետրոնական շարքը և լուսային հորիզոնները |
5.5 | 0 | ՎՈՒ շեմից 0-315մ վրա |
| 6.0 | 0 |
ՎՈՒ շեմից 316-475մ վրա | |
| 7.0 | 0 |
ՎՈՒ շեմից 476-640մ վրա | |
| 8.0 | 0 |
ՎՈՒ շեմից 641մ և ավելի | |
| Մոտեցման լույսերի կողային շարքերը |
5.5 | 2 |
ՎՈՒ շեմից 0-115մ վրա |
| 6.0 | 2 |
ՎՈՒ շեմից 116-215 վրա | |
| 6.5 | 2 |
ՎՈՒ շեմից 216 և ավելի | |
| ՎՈՒ մուտքային լույսերը | 5.5 | 3.5 | |
| ՎՈՒ վայրէջքային լույսերը | 3.5 | 3.5 |
եթե ՎՈՒ լայնությունը 45մ |
| 3.5 | 4.5 |
եթե ՎՈՒ լայնությունը 60մ | |
| ՎՈՒ սահմանափակիչ լույսերը | 2.5 | 0 |
|
| ՎՈՒ վայրէջքի գոտու լույսերը | 5.5 | 4 |
|
| ՎՈՒ առանցքագծային լույսերը |
4.5 | 0 |
7.5 կամ 15մ (*) |
| 3.5 | 0 |
30մ (*) | |
| ՂՈՒ եզրային լույսերը | 4.0 | 3.0 |
|
| ՂՈՒ առանցքագծային լույսերը |
4.5 | 0 |
7.5 կամ 15մ (*) |
| 2.5 |
30մ (*) | ||
որտեղ (*) աստղանիշով նշված են առանցքագծային լույսերի միջև հեռավորությունները
69. Մոտեցման լույսերի ենթահամակարգը կազմվում է`
ա. կենտրոնական շարքից,
բ. լուսային հորիզոններից,
գ. կողային շարքերից, որոնք նախատեսվուն են ճշգրիտ վայրէջքի համար II կամ III կարգախմբով սարքավորված վազքուղիների համար:
1) Կենտրոնական շարքի և լուսային հորիզոնների լուսարձակները հանդիսանում են սպիտակ լույս ճառագայթող, իսկ կողային շարքերի լուսարձակները` կարմիր:
2) Ելնելով ՎՈՒ սարքավորվածությունից և նշանակությունից, մոտեցման լույսերի ենթահամակարգը կարող է ունենալ լուսարձակների քանակի և դրանց տեղադրման տարբեր գծապատկերներ:
70. «3» կամ «4» ծածկագրով չսարքավորված և ոչ ճշգրիտ վայրէջքի համար սարքավորված վազքուղիների համար առաջարկվում է կիրառել մոտեցման լույսերի պարզեցված սխեմա` համաձայն Կարգի նկար 7-ի:
1) Կենտրոնական շարք կազմող լուսարձակները տեղադրվում են ՎՈՒ առանցքագծի շարունակության և շեմից 420մ հեռավորության վրա: Ելնելով հնարավորություններից, լուսարձակները տեղադրվում են ՎՈՒ շեմից և իրարից 30 կամ 60մ հեռավորությունների վրա:
2) Եթե տեղանքի ռելիեֆի պայմանների պատճառով հնարավոր չէ ապահովել ՎՈՒ շեմից սահմանված 420մ հեռավորությունը, այն կարող է նվազեցվել մինչև 300մ:
3) Կենտրոնական շարքը կարող է կազմված լինել կամ առանձին լուսարձակներից (նկար 7 «Ա» տարբերակ) կամ առնվազն 3մ լայնությամբ գծային լույսերից (նկար 7 «Բ» տարբերակ):
4) Կարգի իմաստով գծային լույս է համարվում երեք կամ ավելի վերգետնյա աերոնավիագացիոն լուսարձակները, որոնք լայնակի տեղակայված են մեկ գծի վրա իրարից նվազագույն հեռավորությունների վրա այնպես, որ նմանվում են մեկ հոծ լուսային գծի:
5) Մոտեցման լույսերի ենթահամակարգի պարզեցված սխեմայի համար գծային լույսեր կազմող լուսարձակների միջև հեռավորությունը կարող է լինել 1.5մ սահմաններում:
6) Լուսային հորիզոնը տեղադրվում է ՎՈՒ շեմից 300մ հեռավորության վրա և պետք է ունենա 18մ կամ 30մ լայնություն:
7) Լուսային հորիզոնը կարող է կազմված լինել լուսարձակների (նկար 7 «Ա» տարբերակ) կամ գծային լույսերի երկու խմբերից (նկար 7 «Բ» տարբերակ): Եթե լուսային հորիզոնի լայնությունը կազմում է 30մ` խմբերի միջև հեռավորությունը չպետք է գերազանցի 6մ:
8) «Ա» տարբերակի դեպքում յուրաքանչյուր խումբ կազմվում է 5 եզակի լուսարձակներից, որոնց միջև հեռավորությունը չպետք է գերազանցի 3մ, իսկ «Բ» տարբերակի գծային լույսերի լայնությունը պետք է կազմի մոտ 10.5մ:
9) Հնարավորության սահմաններում կարող է տեղադրվել լուսային հորիզոնի երկրորդ շարքը` ՎՈՒ շեմից 150մ վրա:
10) Մոտեցման լույսերի պարզեցված սխեմայում օգտագործվում են մշտական ճառագայթման լուսարձակներ, որոնք իրենց գույնով և ճառագայթման հզորությամբ պետք է տարբերվեն կողմնակի լույսերից, եթե այդպիսիք կան:
11) Մոտեցման լույսերի ենթահամակարգը պետք է տեսանելի լինի օդաչուի համար`
ա. օդանավի վայրէջքամուտի վերջնական փուլում և աերոդրոմի թռիչքային շրջանի 3-րդ և 4-րդ շրջադարձերի միջև ընկած գոտում գտնվելու ժամանակ` «3» կամ «4» ծածկագրով չսարքավորված վազքուղու համար և
բ. բոլոր ուղղություններով` ոչ ճշգրիտ վայրէջքի համար սարքավորված ՎՈՒ համար:
71. Ճշգրիտ վայրէջքի համար I կարգախմբով սարքավորված վազքուղիների մոտեցման լույսերի ենթահամակարգի տեղադրման գծանկարները ներկայացված են Կարգի նկար 8-ում: Լուսարձակների տեղադրման տարբերակի ընտրությունը կապված է տեղանքի ռելիեֆի պայմաններից և հնարավորություններից:
1) Կենտրոնական շարք կազմող լուսարձակները («Ա» տարբերակ) կամ գծային լույսերը («Բ» տարբերակ) տեղադրվում են ՎՈՒ առանցքագծի շարունակության և շեմից 900մ հեռավորության վրա` ՎՈՒ շեմից և իրարից 30մ հեռավորության վրա:
2) Մոտեցման լույսերի ենթահամակարգի «Ա» տարբերակի կիրառման դեպքում սահմանվում են կենտրոնական շարքում տեղադրվող առանձին լուսարձակների հետևյալ քանակները`
ա. 1 հատ` ՎՈՒ շեմից առաջին 300մ վրա,
բ. 2 հատ` ՎՈՒ շեմից երկրորդ 300մ վրա,
գ. 3 հատ` ՎՈՒ շեմից երրորդ 300մ վրա:
3) Մոտեցման լույսերի ենթահամակարգի «Բ» տաբերակի կիրառման դեպքում կենտրոնական շարքը կազմվում է գծային լույսերից, որոնց լայնությունը պետք է լինի առնվազն 4մ, իսկ դրանք կազմող լուսարձակների միջև հեռավորությունը` ոչ ավելի 1.5մ:
4) Յուրաքանչյուր գծային լույս պետք է լրացվի կուտակչային պարպիչով իմպուլսային լույսով, որը մեկ վայրկյանում պետք է ապահովի երկու առկայծում: Իմպուլսային լուսերի կառավարումը պետք է իրականացվի անկախ կենտրոնական շարքի և լուսային հորիզոնի լույսերի կառավարումից: Իմպուլսային լույսերի կառավարման շղթան պետք է ապահովի լույսերի փոխառփոխ առկայծումն օդանավի վայրէջքի ուղղությամբ կենտրոնական շարքի հեռավոր լուսարձակից դեպի ՎՈՒ շեմին մոտակա լուսարձակը:
5) «Ա» տարբերակի կիրառման դեպքում մոտեցման լույսերի ենթահամակարգը պետք է ապահովվի 5 լուսային հորիզոններով, որոնք տեղադրվում են ՎՈՒ շեմից և իրարից 150մ հեռավորության վրա:
6) Լուսային հորիզոնների յուրաքանչյուր շարքը կազմվում է լուսարձակների երկու խմբից: Յուրաքանչյուր շարքի լայնությունը և այնտեղ տեղադրվող լուսարձակների քանակը սահմանվում են` ելնելով ՎՈՒ շեմից լուսային հորիզոնի հեռավորությունից`
ա. ՎՈՒ շեմից 150մ վրա. լայնությունը` 22.5մ, ընդհանուր քանակը` 8,
բ. ՎՈՒ շեմից 150-300մ վրա. լայնությունը` 30.0մ, ընդհանուր քանակը` 10,
գ. ՎՈՒ շեմից 300-450մ վրա. լայնությունը` 37.5մ, ընդհանուր քանակը` 12,
դ. ՎՈՒ շեմից 450-600մ վրա. լայնությունը` 45.0մ, ընդհանուր քանակը` 14,
ե. ՎՈՒ շեմից 600-750մ վրա. լայնությունը` 52.5մ, ընդհանուր քանակը` 16:
7) Յուրաքանչյուր խմբում լուսարձակների միջև հեռավորությունը չպետք է գերազանցի 3մ:
8) Մոտեցման լույսերի ենթահամակարգի «Բ» տարբերակի դեպքում լուսային հորիզոնը կազմվում է 10.5մ լայնությամբ գծային լույսերի երկու խմբերից, որոնք տեղադրվում են ՎՈՒ շեմից 300մ հեռավորության վրա: Գծային լույսերի խմբերի միջև հեռավորությունը չպետք է գերազանցի 6մ:
72. Ճշգրիտ վայրէջքի համար II կամ III կարգախմբով սարքավորված վազքուղիների մոտեցման լույսերի ենթահամակարգի տեղադրման գծանկարները ներկայացված են Կարգի նկար 9: Լուսարձակների տեղադրման տարբերակի ընտրությունը կապված է տեղանքի ռելիեֆի պայմաններից և հնարավորություններից:
1) Մոտեցման լույսերի ենթահամակարգի կենտրոնական շարքը տեղադրվում է ՎՈՒ առանցքագծի շարունակության և շեմից 900մ հեռավորության վրա ՎՈՒ շեմից և իրարից 30մ հեռավորությունների վրա:
2) «Ա» տարբերակի դեպքում կենտրոնական շարքը կարող է կազմված լինել`
ա. միայն գծային լույսերից կամ
բ. գծային լույսերից, որոնք տեղադրվում են ՎՈՒ շեմից հաշված առաջին 300մ հատվածում և երկուական ու երեքական առանձին լուսարձակներից, որոնք տեղադրվում են ՎՈՒ շեմից հաշված համապատասխանաբար երկրորդ և երրորդ 300մ հատվածներում կամ
գ. առանձին լույսերից, եթե ՎՈՒ ճակատը և շեմը չեն համընկնում և վերջինս տեղափոխված է դեպի վազքուղու կենտրոն 300մ և ավելի:
3) «Բ» տարբերակի դեպքում ՎՈՒ շեմից մինչև 300մ հատվածում կենտրոնական շարքը կարող է կազմված լինել`
ա. գծային լույսերից, եթե ամբողջ շարքի մնացած հատվածը կազմված է գծային լույսերից կամ
բ. հերթափոխվող եզակի լուսարձակներից և գծային լույսերից, եթե շարքի մնացած հատվածը կազմված է եզակի լուսարձակներից, ընդ որում, ՎՈՒ շեմից 30մ հեռավորության վրա տեղադրվում է եզակի լուսարձակ, իսկ 60մ վրա` գծային լույս կամ
գ. եզակի լուսարձակներից, եթե ՎՈՒ ճակատը և շեմը չեն համընկնում և վերջինս տեղափոխված է դեպի վազքուղու կենտրոն 300մ և ավելի, իսկ մնացած հատվածում`
դ. գծային լույսերից կամ
ե. եզակի լուսարձակներից:
4) Եթե կենտրոնական շարքը կազմված է միայն գծային լույսերից, ապա ՎՈՒ շեմից հաշված 600-900 մ հատվածում տեղադրված գծային լույսերը պետք է լրացվեն կուտակչային պարպիչով իմպուլսային լույսերով, որոնց ներկայացվող պահանջները սահմանված են սույն կետի «Բ» պարբերությունում:
5) Ճշգրիտ վայրէջքի համար II կամ III կարգախմբով սարքավորված վազքուղիների մոտեցման լույսերի ենթահամակարգի կենտրոնական շարքը լրացվում է գծային լույսերի երկու կողային շարքերով, որոնք տեղադրվում են ՎՈՒ շեմից 270մ հեռավորության վրա` «Ա» տարբերակի դեպքում և 240մ հեռավորության վրա` «Բ» տարբերակի դեպքում:
6) Կողային շարքեր կազմող գծային լույսերը տեղադրվում են ՎՈՒ շեմից և իրարից 30 և 60մ վրա` համապատասխանաբար «Ա» և «Բ» տարբերակների դեպքում:
7) Կողային շարքերի միջև հեռավորությունը պետք է համապատասխանի ՎՈՒ վայրէջքի գոտու լուսերի միջև հեռավորությանը և պետք է լինի առնվազն 18մ, սակայն ոչ ավելի 22.5մ (նախընտրելի է 18մ):
8) Մոտեցման լույսերի կենտրոնական և կողային շարքերի գծային լույսերի լայնությունը պետք է լինի առնվազն 4մ, իսկ դրանք կազմող լուսարձակների միջև հեռավորությունը ոչ ավելի 1.5մ:
9) Ճշգրիտ վայրէջքի համար II կամ III կարգախմբով սարքավորված վազքուղիների մոտեցման լույսերի ենթահամակարգը պետք է ապահովված լինի երկու լուսային հորիզոններով, որոնք տեղադրվում են ՎՈՒ շեմից 150 և 300մ հեռավորության վրա:
10) Լուսային հորիզոն կազմող լուսարձակների շարքերի լայնությունները ՎՈՒ շեմից 150մ հեռավորության վրա պետք է համապատասխանի կողային շարքերի միջև հեռավորությանը, իսկ 300մ հեռավորության վրա պետք է լինի 30մ (ՎՈՒ առանցքագծի նկատմամբ 15մ յուրաքանչյուր կողմի վրա): Յուրաքանչյուր շարքում լուսարձակների միջև հեռավորությունը չպետք է գերազանցի 2.7մ:
11) Եթե ՎՈՒ շեմից հաշված 300-900մ հատվածում տեղադրված են եզակի լուսարձակներ, ապա մոտեցաման լույսերի համակարգը պետք է ապահովվի լրացուցիչ լուսային հորիզոններով, որոնք տեղադրվում են ՎՈՒ շեմից համապատասխանաբար 450, 600 և 750մ հեռավորության վրա:
12) Մոտեցման լույսերի ենթահամակարգի լուսարձակները պետք է հնարավորության սահմաններում տեղադրված լինեն ՎՈՒ շեմով անցնող հորիզոնական հարթությունում` ապահովելով հետևյալ պայմանները.
ա. ՎՈՒ առանցքագծից 60մ սահմաններում ոչ մի կողմնակի օբյեկտ, բացառությամբ ռադիոնավիգացիոն համակարգերի (ILS կամ MLS) ազիմուտալ ալեհավաքներից, չի գերազանցում լուսարձակների հարթությունը,
բ. բոլոր լույսերը պետք է տեսանելի լինեն վայրէջք կատարող օդանավից, բացառությամբ լուսային հորիզոնի կենտրոնական մասի սահմաններում տեղադրված լույսից կամ առանցքագծի գծային լույսից (բացի եզրայիններից):
13) Լույսերի հարթությունից դուրս ցցված ցանկացած ILS կամ MLS ազիմուտալ ալեհավաք համարվում է խոչընդոտ և համապատասխան ձևով մականշվում ու լուսավորում է:
73. ՎՈՒ վայրէջքային լույսերի ենթահամակարգը նախատեսվում է`
ա. գիշերային ժամերին շահագործվող չսարքավորված վազքուղիների կամ
բ. ցերեկային կամ գիշերային ժամերին շահագործվող ճշգրիտ վայրէջքի համար սարքավորված վազքուղիների համար, ինչպես նաև
գ. վերելքի համար նախատեսված վազքուղիների համար, որոնք ցերեկային ժամերին շահագործվում են 800մ պակաս ՎՈՒ վրայի տեսանելիության պայմաններում:
1) ՎՈՒ վայրէջքային լույսերի ենթահամակարգը կազմվում է լուսարձակների երկու զուգահեռ շարքերից, որոնք տեղադրվում են ՎՈՒ ողջ երկարությամբ և առանցքագծից հավասար հեռավորության վրա` ՎՈՒ եզրերին կամ դրանցից առավելագույնը 3մ սահմաններում: Շարքերի լուսարձակները պետք է տեղադրվեն ՎՈՒ առանցքագծին ուղղաձիգ մեկ գծի վրա:
2) Յուրաքանչյուր շարքում լուսարձակների միջև հեռավորությունները պետք է լինեն հավասարչափ և չպետք է գերազանցեն 60մ` ճշգրիտ վայրէջքի համար սարքավորված ՎՈՒ համար և 100մ` չսարքավորված ՎՈՒ համար, բացառությամբ ՎՈՒ աերոդրոմի այլ տարրերի հետ հատման հատվածների:
3) ՎՈՒ վայրէջքային լույսերի ենթահամակարգի լուսարձակները պետք է տեսանելի լինեն բոլոր ուղղություններով և ճառագայթեն սպիտակ լույս, բացառությամբ`
ա. եթե ՎՈՒ ճակատը և շեմը չեն համընկնում և վերջինս տեղափոխված է դեպի վազքուղու կենտրոն ՎՈՒ ճակատի և տեղափոխված շեմի հատվածում տեղադրված լուսարձակները պետք է ճառագայթեն կարմիր լույս,
բ. օդանավերի վայրէջքի ուղղությամբ ՎՈՒ վերջին 600մ կամ մեկ երրորդ երկարությամբ (կապված նրանից, թե որն է քիչ) հատվածի, որտեղ տեղադրվում են դեղին լույս ճառագայթող լուսարձակներ:
74. ՎՈՒ մուտքային լույսերը նախատեսվում են վայրէջքային լույսերով սարքավորված ՎՈՒ համար, բացառությամբ չսարքավորված վազքուղիների կամ ոչ ճշգրիտ վայրէջքի համար սարքավորված վազքուղիների, որտեղ ՎՈՒ շեմը տեղափոխված է և տեղադրված են թևային հորիզոնի լույսեր:
1) Եթե ՎՈՒ շեմը համընկնում է ճակատի հետ, մուտքային լույսերի ենթահամակարգը կազմվում է ՎՈՒ առանցքագծին ուղղահայաց լուսարձակների մեկ շարքից, որը տեղադրվում է ՎՈՒ ճակատի վրա կամ դրանից առավելագույնը 3մ սահմաններում:
2) Եթե ՎՈՒ շեմը տեղափոխված է ճակատի նկատմամբ, մուտքային լույսերը տեղադրվում են ՎՈւ շեմի վրա ՎՈՒ առանցքագծին ուղղահայաց լուսարձակների մեկ շարքով:
3) ՎՈՒ մուտքային լույսերի ենթահամակարգի լուսարձակների քանակը որոշվում է ՎՈՒ սարքավորվածության աստիճանից`
ա. չսարքավորված կամ ոչ ճշգրիտ վայրէջքի համար սարքավորված ՎՈՒ համար լուսարձակների նվազագույն քանակը սահմանվում է 6 հատ, որոնք տեղադրվում են ՎՈՒ վայրէջքային լույսերի միջև իրարից հավասար հեռավորությունների վրա,
բ. ճշգրիտ վայրէջքի համար I, II կամ III կարգախմբերով սարքավորված ՎՈՒ համար լուսարձակների անհրաժեշտ քանակը պետք է ապահովի դրանց հավասարաչափ բաշխումը ՎՈՒ վայրէջքային լույսերի միջև ընկած հատվածում, ընդ որում, լուսարձակների միջև հեռավորությունը չպետք է գերազանցի 3մ-ից:
4) Չսարքավորված կամ ոչ ճշգրիտ վայրէջքի համար սարքավորված կամ ճշգրիտ վայրէջքի համար I կարգախմբով սարքավորված վազքուղիների համար մուտքային լույսերը կարող են կազմվել ՎՈՒ առանցքագծին համաչափ լուսարձակների երկու խմբերից, որոնց միջև հեռավորությունը պետք է համապատասխանի վայրէջքի գոտու մականշանների կամ լույսերի (եթե այդպիսիք նախատեսված են) միջև հեռավորությանը: Յուրաքանչյուր խմբում լուսարձակները պետք է տեղադրվեն իրարից հավասար հեռավորությունների վրա:
5) Եթե չսարքավորված կամ տեղափոխված շեմով ոչ ճշգրիտ վայրէջքի համար սարքավորված վազքուղիների վրա բացակայում է մուտքային լույսերի ենթահամակարգ, ապա դրանք պետք է ապահովվեն թևային հորիզոնի լույսերով: Թևային հորիզոնի լույսեր կարող են նախատեսվել ճշգրիտ վայրէջքի համար սարքավորված ՎՈՒ վրա, երբ ցանկալի է ունենալ առավել տեսանելի կողմնորոշիչներ:
6) Թևային հորիզոնի լույսերը տեղադրվում են երկու խմբերով ՎՈՒ շեմի վրա` առանցքագծին համաչափ: Թևային հորիզոնի խումբը տեղադրվում է վայրէջքային լույսերին ուղղահայաց, ընդ որում, վազքուղուն մոտակա թևային հորիզոնի լուսարձակը պետք է գտնվի վայրէջքային լույսերի հետ մեկ գծի վրա: Թևային հորիզոնի յուրաքանչյուր խումբը կազմվում է առնվազն 5 լուսարձակներից և դրա լայնությունը պետք է կազմի առնվազն 10մ:
7) ՎՈՒ մուտքային և թևային հորիզոնի լույսերի լուսարձակները հանդիսանում են վայրէջքի ուղղությամբ մենուղղորդված կանաչ լույս ճառագայթող լույսեր:
75. ՎՈՒ սահմանափակիչ լույսերի ենթահամակարգը նախատեսվում է վայրէջքային լույսերով սարքավորված ՎՈՒ համար:
1) ՎՈՒ սահմանափակիչ լույսերի ենթահամակարգը կազմվում է ՎՈՒ առանցքագծին ուղղահայաց լուսարձակների մեկ շարքից, որը տեղադրվում է ՎՈՒ ճակատի վրա կամ դրանից առավելագույնը 3մ սահմաններում:
2) Սահմանափակիչ լույսերի շարքը պետք է կազմված լինի առնվազն 6 լուսարձակներից, ընդ որում, դրանք կարող են տեղադրվել`
ա. հավասարաչափ բաշխված ՎՈՒ վայրէջքային լույսերի միջև կամ
բ. ՎՈՒ առանցքագծին համաչափ երկու խմբերով, որոնց միջև հեռավորությունը չպետք է գերազանցի ՎՈՒ վայրէջքային լույսերի շարքերի միջև եղած հեռավորության կեսից ավելին:
3) Յուրաքանչյուր խմբում լուսարձակները պետք է տեղադրվեն իրարից հավասար հեռավորությունների վրա:
4) Ճշգրիտ վայրէջքի համար III կարգախմբով սարքավորված ՎՈՒ համար սահմանափակիչ լույսերի լուսարձակների միջև հեռավորությունները, բացառությամբ ՎՈՒ առանցքագծին մոտակա երկու լուսարձակների, չպետք է գերազանցի 6 մետրը:
5) ՎՈՒ սահմանափակիչ լույսերի լուսարձակները հանդիսանում են դեպի վազքուղին մենուղղորդված կարմիր լույս ճառագայթող լույսեր:
76. ՎՈՒ առանցքագծային լույսերի ենթահամակարգը նախատեսվում է ճշգրիտ վայրէջքի համար II կամ III կարգախմբով սարքավորված վազքուղիների համար, ինչպես նաև վերելքի վազքուղու համար, որը նախատեսվում է շահագործել դրա վրա 400մ ցածր տեսանելիության պայմաններում:
1) ՎՈՒ առանցքագծային լույսերի ենթահամակարգը կարող է նախատեսվել ճշգրիտ վայրէջքի համար I կարգախմբով սարքավորված ՎՈՒ համար, եթե այն օգտագործվում է բարձր վայրէջքային արագություններով օդանավերի կողմից կամ ՎՈՒ վայրէջքային լույսերի ենթահամակարգի լուսարձակների միջև հեռավորությունը գերազանցում է 50մ:
2) ՎՈՒ առանցքագծային լույսերը տեղադրվում են ՎՈՒ առանցքագծով կամ հավասարաչափ շեղված դրա նկատմամբ, սակայն 0.6մ ոչ ավելի հեռավորության վրա:
3) ՎՈՒ առանցքագծային լույսերը տեղադրվում են ՎՈՒ շեմից մինչև վերջը` իրարից 15մ հեռավորության վրա (նկար 9, «Ա» տարբերակ): Եթե աերոդրոմը շահագործվում է վազքուղու վրա 350 մ կամ ավելի տեսանելիության պայմաններում առանցքագծային լույսերի միջև հեռավությունը կարող է կազմել 30մ (նկար 9, «Բ» տարբերակ):
4) ՎՈՒ առանցքագծային լույսերը ՎՈՒ շեմից մինչև վերջի 900մ երկարությամբ հատվածը հանդիսանում են սպիտակ գույնի լույս ճառաքայթող լույսեր: ՎՈՒ վերջի 900մ երկարությամբ հատվածի 600մ վրա տեղադրվում են իրար հաջորդող սպիտակ և կարմիր գույնի լույսեր ճառագայթող լույսեր, իսկ վերջին 300մ երկարությամբ հատվածի վրա միայն կարմիր գույնի լույս ճառաքայթող լույսեր:
5) Եթե ՎՈՒ երկարությունը քիչ է 1800 մետրից, կարմիր և սպիտակ գույնի լույս ճառագայթող լույսերը տեղադրվում են ՎՈՒ միջնակետից սկսած մինչև վերջի 300մ հատվածը:
6) Եթե տեղափոխված շեմով ՎՈՒ շահագործման դեպքում ՎՈՒ ճակատից մինչև տեղափոխված շեմն ընկած հատվածն օգտագործվում է օդանավերի վերելքի նպատակով, ապա օդանավն առանցքագծի վրա ճիշտ կողմնորոշելու նպատակով նշված հատվածն անհրաժեշտ է ապահովել`
ա. մոտեցման լույսերի համակարգով, եթե դրա բնութագրերը և ինտենսիվության մակարդակներն ապահովում են օդանավի կողմնորոշումը և չեն կուրացնում օդաչուին կամ
բ. ՎՈՒ առանցքային լույսերով կամ
գ. առնվազն 3մ լայնությամբ գծային լույսերով` հավասարաչափ տեղադրված ՎՈՒ առանցքագծի շարունակության վրա` իրարից 30մ հեռավորության վրա, որոնց լուսամետրական բնութագրերը և ինտենսիվության մակարդակը պետք է բացառեն օդաչուների կուրացումը:
77. ՎՈՒ վայրէջքային գոտու լույսերի ենթահամակարգը նախատեսվում է ճշգրիտ վայրէջքի համար` II կամ III կարգախմբով սարքավորված վազքուղիների համար:
1) ՎՈՒ վայրէջքի գոտու լույսերը հանդիսանում են գծային լույսեր և տեղադրվում են ՎՈՒ շեմից սկսած 900մ երկարությամբ հատվածի վրա, բացառությամբ 1800 մետրից պակաս երկարություն ունեցող վազքուղիների համար, որի դեպքում ենթահամակարգի երկարությունը նվազեցվում է այնքան, որպեսզի լույսերը չգերազանցեն ՎՈՒ միջնակետի սահմաններից:
2) Գծային լույսերը կազմվում են առնվազն երեք լուսարձակներից, որոնց միջև հեռավորությունը չպետք է գերազանցի 1.5մ և դրա լայնությունը պետք է լինի առնվազն 3մ, սակայն չգերազանցի 4.5մ:
3) Գծային լույսերը տեղադրվում են ՎՈՒ առանցքագծին համաչափ երկու շարքերով, որոնց միջև ներքին հեռավորությունը պետք է համապատասխանի ՎՈՒ վայրէջքի գոտու մականշանների միջև հեռավորությանը:
4) Յուրաքանչյուր շարքում գծային լույսերի միջև հեռավորությունը կարող է կազմել 30մ (նկար 9, «Ա» տարբերակ) կամ 60մ (նկար 9, «Բ» տարբերակ): Անբավարար տեսանելիության պայմաններում թռիչքների անվտանգության ապահովման նպատակով առաջարկվում է գործնականում կիրառել «Ա» տարբերակը:
78. Եթե ՎՈՒ վրա նախատեսված է արգելակման վերջնագոտի, ապա այն պետք է ապահովված լինի գիշերային մականշման լուսարձակներով, որոնք տեղադրվում են արգելակման վերջնագոտու ողջ երկարությամբ վազքուղու առանցքագծից հավասար հեռավորության վրա երկու զուգահեռ շարքերով և պետք է համընկնի ՎՈՒ վայրէջքային լույսերի շարքերին, ինչպես նաև արգելակման վերջնագոտու ճակատի վրա կամ դրանից առավելագույնը 3մ սահմաններում` ուղղահայաց ՎՈՒ առանցքագծին:
1) Արգելակման վերջնագոտու լուսարձակները հանդիսանում են դեպի վազքուղին մենուղղորդված կարմիր լույս ճառագայթող լույսեր:
79. Աերոդրոմի գետնավարման լույսերի ենթահամակարգը նախատեսված է ապահովելու օդանավերի գետնավարումն աերոդրոմի տարրերով:
1) Գետնավարման լույսերի ենթահամակարգը կազմված է ղեկուղիների, կառամատույցի, ՎՈՒ հետադարձի հրապարակի, օդանավերի հակասառցակալման ապահովման գոտու, ինչպես նաև օդանավերի գետնավարման երթուղի հանդիսացող վազքուղու հատվածի եզրագոտիների լուսարձակներից:
2) Բացառությամբ ՎՈՒ հետդարձի հրապարակի, վերը նշված աերոդրոմի մյուս տարրերի ուղղագիծ հատվածներում գետնավարման լուսարձակները տեղադրվում են տարրերի եզրերի վրա կամ դրանցից առավելագույնը 3մ սահմաններում իրարից 60մ հեռավորության վրա: Տարրերի կորագծային հատվածներում սահմանված հեռավորությունը կարող է նվազեցվել` շրջադարձի կորագիծը հստակ նշելու նպատակով:
3) ՎՈՒ հետդարձի հրապարակի լուսարձակները պետք է տեղադրվեն իրարից 30մ չգերազանցող հեռավորության վրա` հրապարակի եզրերին կամ դրացից առավելագույնը 3մ սահմաններում:
4) Գետնավարման լուսարձակները հանդիսանում են կապույտ գույն ճառաքայթող լույսեր:
5) Օդաչուների ապակողմնորոշումը բացառելու նպատակով տարրերի հատման գոտիներում գետնավարման լույսերը կարող են էկրանավորվել, որպեսզի տեսանելի չլինեն այն ուղղություններով, որտեղ դրանք հեշտությամբ կարելի է շփոթել այլ լույսերի հետ:
80. Գետնավարման առանցքագծային լույսերի ենթահամակարգը նախատեսվում է այն աերոդրոմներում, որոնք շահագործվում են վազքուղու վրա 350մ կամ ավելի ցածր տեսանելիության պայմաններում: Ղեկուղու առանցքագծային լույսեր հարկավոր է նախատեսել նաև այն աերոդրոմներում, որոնք շահագործվում են վազքուղու վրա 350 մ ավելի տեսանելիության պայմաններում, սակայն գետնավարման երթուղիների բարդության պատճառով առաջանում է անհրաժեշտություն դրանց հստակեցման համար:
1) Գետնավարման առանցքագծային լույսերի ենթահամակարգ հարկավոր է նախատեսել ՎՈՒ վրա տեսանելիության բոլոր պայմանների համար, եթե դա հանդիսանում է կատարելագործված լուսաազդանշանային համակարգի բաղադրամաս:
2) Գետնավարման առանցքագծային լույսերով պետք է ապահովված լինեն աերոդրոմի հետևյալ տարրերը` ղեկուղիները (մուտքային, ելքային, կառամատուցային), օդանավերի հակասառցակալման ապահովման գոտիները, ինչպես նաև վազքուղու այն հատվածները, որոնք հանդիսանում են օդանավերի գետնավարման երթուղի:
3) Նշված աերոդրոմի տարրերի ուղղագիծ հատվածներում գետնավարման առանցքագծային լույսերը պետք է տեղադրվեն իրարից 30մ չգերազանցող հեռավորության վրա, բացառությամբ`
ա. եթե գերակշռող օդերևութաբանական պայմաններում ապահովվում է օդանավերի գետնավարման պատշաճ կողմնորոշումը, առանցքագծային լույսերը կարող են տեղադրվել իրարից 60մ չգերազանցող հեռավորությունների վրա,
բ. եթե տարրերի ուղղագիծ հատվածները կարճ են, առանցքագծային լույսերի միջև հեռավորությունը կարող է նվազեցվել,
գ. եթե աերոդրոմը շահագործվում է ՎՈՒ վրա 350մ ցածր տեսանելիության պայմաններում, առանցքագծային լույսերի միջև հեռավորությունը չպետք է գերազանցի 15մ:
4) Գետնավարման առանցքագծային լույսերը պետք է տեղադրվեն օդանավերի գետնավարման համար մականշված առանցքագծով կամ հավասարաչափ շեղված դրա նկատմամբ, սակայն 0.3մ ոչ ավելի հեռավորությունների վրա:
5) Ղեկուղիների կորագծային հատվածներում առանցքագծային լույսերը պետք է տեղադրվեն որպես ուղղագիծ հատվածի առանցքագծային լույսերի շարունակություն և գտնվեն շրջադարձի արտաքին եզրից հաստատուն հեռավորության վրա:
6) Եթե աերոդրոմը շահագործվում է ՎՈՒ վրա 350մ ցածր տեսանելիության պայմաններում, ղեկուղիների կորագծային հատվածներում գետնավարման առանցքագծային լույսերի միջև հեռավորությունը չպետք է գերազանցի 15մ: Ելնելով կորագծի շառավղի մեծությունից, սահմանվում են առանցքագծային լույսերի միջև հետևյալ հեռավորությունները`
ա. մինչև 400մ -7.5մ,
բ. 400 - 899մ - 15մ,
գ. 900մ և ավելի-30մ:
7) Առանցքագծային լույսերի միջև սահմանված հեռավորությունները պետք է ապահովվեն կորագծի շարունակություն հանդիսացող ուղղագիծ հատվածի 60մ սահմաններում:
8) Ղեկուղիների, բացառությամբ ելքային ղեկուղիների և գետնավարման երթուղի հանդիսացող վազքուղու հատվածների, առանցքագծային լույսերը հանդիսանում են կանաչ գույնի լույս ճառագայթող լույսեր, որոնք տեսանելի են միայն գետնավարող օդանավից:
9) Ելքային ղեկուղիների առանցքագծային լույսերը` ՎՈՒ առանցքագծից մինչև ILS և/կամ/ MLS ռադիոնավիգացիոն համակարգի կրիտիկական գոտու սահմանը, հանդիսանում են իրար հաջորդող կանաչ և դեղին գույնի լույս ճառագայթող լույսեր, ընդ որում, կրիտիկական գոտու սահմանի վրա տեղադրվում է դեղին գույնի լույս ճառագայթող լույս: Ելքային ղեկուղիների մնացած հատվածում տեղադրվում են կանաչ գույնի լույս ճառագայթող լույսեր:
10) Ելքային ղեկուղիների առանցքագծային լույսերը ՎՈՒ վրա տեղադրվում են զուգահեռ վազքուղու առանցքագծային լույսերին` կորագծային հատվածից առնվազն 60մ երկարությամբ հատվածի վրա և դրանցից 0.6մ ոչ ավելի հեռավորության վրա:
11) Եթե ելքային ղեկուղին օգտագործվում է նաև որպես մուտքային, ապա դեպի վազքուղի գետնավարումն ապահովող առանցքագծային լույսերը պետք է ճառագայթեն կանաչ գույնի լույս:
12) Եթե ելքային ղեկուղին հանդիսանում է արագընթաց և աերոդրոմը շահագործվում է ՎՈՒ վրա 350մ ցածր տեսանելիության կամ թռիչքների բարձր ինտենսիվության պայմաններում, ապա վերը նշված գետնավարման առանցքագծային լույսերի ենթահամակարգը լրացվում է «ՌԵՏԻԼՍ» («RETILS») արագընթաց ելքային ղեկուղու լույսերի համալիրով, որոնք տեղադրվում են վազքուղու վրա և նախատեսված են հետվայրէջքային վազուրդ կատարող օդանավի օդաչուին տրամադրել տեղեկատվություն առագընթաց ելքային ղեկուղուց օդանավի գտնվելու հեռավորության մասին և պետք է տեսանելի լինեն վայրէջք կատարող օդանավից:
13) «ՌԵՏԻԼՍ» («RETILS») համալիրի կառավարման սխեման պետք է ապահովի համալիրի անջատումը որևիցէ լույսի անսարքության դեպքում` օդաչուների ապակողմնորոշումը բացառելու նպատակով:
14) «ՌԵՏԻԼՍ» («RETILS») համալիրը կազմվում է դեղին լույս ճառագայթող լույսերի երեք շարքից, որոնք տեղադրվում են ՎՈՒ առանցքագծից 2մ հեռավորության վրա, իրարից և վազքուղու ու ղեկուղու կցորդման կետից` 100մ հեռավորությունների վրա, ընդ որում, ըստ նշված հեռավորությունների սահմանվում են շարքերում տեղադրվող լույսերի քանակները`
ա. կցորդման կետի շարքում-մեկ լույս,
բ. երկրորդ շարքում-երկու,
գ. երրորդ շարքում -երեք լույս:
15) Երկրորդ և երրորդ շարքերի լույսերի միջև հեռավորությունը սահմանվում է 2 մետր:
16) ՎՈՒ հետադարձի հրապարակի առանցքագծային լույսերը պետք է տեղադրվեն իրարից 30մ չգերազանցող հեռավորության վրա. հրապարակի եզրերի վրա կամ դրանցից առավելագույնը 3մ սահմաններում:
17) Եթե աերոդրոմը շահագործվում է ՎՈՒ վրա 350մ ցածր տեսանելիության պայմաններում, գետնավարման առանցքագծային լույսերով պետք է ապահովված լինեն նաև ՎՈՒ հետադարձի հրապարակները:
18) Հետադարձի գետնավարման առանցքագծային լույսերը հանդիսանում են կանաչ գույնի լույս ճառագայթող լույսեր, որոնք պետք է տեղադրվեն օդանավերի գետնավարման համար մականշված առանցքագծով կամ հավասարաչափ շեղված դրա նկատմամբ, սակայն 0.3մ ոչ ավելի հեռավորության վրա, իրարից 15մ և 7.5մ հեռավորությունների վրա, համապատասխանաբար, ուղղագիծ և կորագծային հատվածներում:
19) Օդանավերի հակասառցակալման ապահովման գոտու գետնավարման լույսեր են համարվում գոտու ելքային լույսերը, որոնք իրարից 6մ հեռավորության վրա տեղադրվում են ղեկուղու հետ հատման սահմանի վրա կամ դրանից դեպի գոտի 0.3մ հեռավորության վրա:
20) Օդանավերի հակասառցակալման ապահովման գոտու լույսերը հանդիսանում են դեղին գույնի լույս ճառագայթող խորացված լույսեր:
81. Եթե աերոդրոմը շահագործվում է ՎՈՒ վրա 350մ ցածր տեսանելիության պայմաններում, ապա միացնող ղեկուղիները ՎՈՒ հետ հատման տեղերը պետք է ապահովվեն «Կանգնիր» գծի լույսերով, բացառությամբ այն դեպքերի, երբ.
ա. ձեռնարկված են միջոցառումներ և ընթացակարգեր` ուղղված օդանավերի և տրանսպորտային միջոցների դեպի ՎՈՒ չկանխամտածված մուտքի կանխմանը կամ
բ. կիրառվում են շահագործման կանոններ ՎՈՒ վրա 550մ ցածր տեսանելիության պայմաններում, որոնցով սահմանափակվում են օդանավերի և տրանսպորտային միջոցների քանակները մանևրման հրապարակում:
1) «Կանգնիր» գծի լույսերը տեղադրվում են ղեկուղու առանցքագծին ուղղահայաց և դրա այն հատվածում, որտեղ անհրաժեշտ է կառավարել օդանավի կամ տրանսպորտային միջոցի երթևեկումն աերոդրոմի համապատասխան տարրով` դադարեցնել կամ թույլատրել դրանց հետագա երթևեկումը:
2) «Կանգնիր» գծի լույսերը հանդիսանում են միաուղղված կարմիր գույնի լույս ճառագայթող խորացված լուսարձակներ, որոնց միջև հեռավորությունը պետք է կազմի 3մ:
3) Անհրաժեշտության դեպքում ղեկուղու վրայի «Կանգնիր» գծի լույսերը կարող են լրացվել կողային վերգետնյա լուսարձակների երկու զույգով, որոնք տեղադրվում են «Կանգնիր» գծի շարունակության վրա` ղեկուղու աջ և ձախ կողմերում` դրա եզրից 3 մ հեռավորության վրա:
4) Լրացուցիչ լուսարձակների միջև հեռավորությունները, ճառագայթող լույսի գույնը և ինտենսիվությունը պետք է համապատասխանեն «Կանգնիր» գծի հիմնական լուսարձակներին:
5) «Կանգնիր» գծի լույսերի կառավարման սխեման պետք ապահովի`
ա. աերոդրոմում մեկից ավելի «Կանգնիր» գծի լույսերի առկայության դեպքում` դրանց առանձնացված կառավարումը,
բ. «Կանգնիր» գծից հետո գտնվող ղեկուղու առանցքագծային լույսերի անջատումը` «Կանգնիր» գծի լույսերի միացման դեպքում և հակառակը,
գ. «Կանգնիր» գծի լույսերի միացման դեպքում դրանցից հետո գտնվող ղեկուղու առանցքագծային լույսերի անջատումն առնվազն 90մ հեռավորության վրա:
6) Եթե «Կանգնիր» գծի լույսերը հանդիսանում են վերգետնյա երթևեկման կառավարման կատարելագործված համակարգի մաս, ապա սահմանված ինտենսիվության լամպերի փոխարեն կիրառվում են ավելի բարձր ինտենսիվությամբ լամպեր:
82. Եթե աերոդրոմը շահագործվում է ՎՈՒ վրա 350մ ցածր տեսանելիության պայմաններում, ղեկուղիների սպասման կետի մականշումը (Կարգի նկար 6) լրացվում է սպասման միջանկյալ կետի լույսերով, բացառությամբ այն հատվածների, որտեղ տեղադրված են «Կանգնիր» գծի լույսերը:
1) Սպասման միջանկյալ կետի լույսերը կիրառվում են այն դեպքերում, երբ երթևեկման դադարեցման և վերսկսման անհրաժեշտություն չկա:
2) Սպասման միջանկյալ կետի լույսերը կազմվում են միաուղղված դեղին գույնի լույս ճառագայթող խորացված 3 լուսարձակից, որոնք տեղադրվում են ղեկուղու առանցքագծին ուղղահայաց գծանշանից 0.3մ հեռավորության վրա: Լուսարձակների միջև հեռավորությունը պետք է կազմի 1.5մ:
83. Օդաչուներին կամ աերոդրոմում շահագործվող տրանսպորտային միջոցների վարորդներին վազքուղուն մոտենալու մասին նախազգուշացնելու համար նախատեսվում են վազքուղու պաշտպանման լույսեր, որոնք տեղադրվում են «Վազքուղի/ղեկուղի» հատման գոտիներում և կիրառվում են, եթե`
ա. աերոդրոմը շահագործվում է ՎՈՒ վրա 550մ ցածր տեսանելիության պայմաններում, որտեղ տեղադրված չեն «Կանգնիր» գծի լույսեր,
բ. աերոդրոմը շահագործվում է ՎՈՒ վրա 550-1200մ տեսանելիության պայմաններում, երթևեկության զգալի ինտենսիվության դեպքում:
1) Վազքուղու պաշտպանման լույսերը տեղադրվում են ՎՈՒ առանցքագծից Կարգի 33-րդ կետի «3» ենթակետի աղյուսակում ներկայացված հեռավորության վրա և կարող են կազմված լինել երկու տարբերակով`
ա. տարբերակ «Ա»-վերգետնյա լուսարձակների երկու զույգից, որոնք տեղադրվում են ղեկուղու աջ և ձախ կողմերում: Լուսարձակների միջև և ղեկուղու եզրից հեռավորությունները պետք է կազմեն 3մ կամ
բ. տարբերակ «Բ»-խորացված լուսարձակներից, որոնք տեղադրվում են ղեկուղու առանցքագծին ուղղահայաց` իրարից 3մ հեռավորության վրա:
2) Վազքուղու պաշտպանման լույսերը հանդիսանում են փոփոխաբար առկայծվող լույսեր` րոպեում 30-60 առկայծում հաճախականությամբ, ընդ որում, «Ա» տարբերակի դեպքում փոփոխաբար առկայծվում են յուրաքանչյուր զույգի լուսարձակները, իսկ «Բ» տարբերակի դեպքում միաժամանակ առկայծվում են յուրաքանչյուր երկրորդ լուսարձակները, իսկ փոփոխաբար` հարևան լուսարձակները:
3) Արևի ճառագայթների ազդեցությունը բացառելու նպատակով վերգետնյա լուսարձակների («Ա» տարբերակ) վրա կարող են տեղադրվել պաշտպանիչ միջոցներ:
Գ լ ու խ IX
Վայրէջքագծի ցուցանշման տեսողական համակարգերը
84. Վայրէջքագծի ցուցանշման տեսողական համակարգը (այսուհետ` Վայրէջքագծային համակարգ) ապահովում է օդանավերի վայրէջքը և, անկախ վազքուղու վայրէջքի տեսողական կամ ոչ տեսողական այլ միջոցներով սարքավորվածությունից, պետք է նախատեսվի, եթե`
1) Վազքուղին շահագործվում է տուրբոռեակտիվ կամ այն օդանավերի կողմից,
որոնց վայրէջքի ժամանակ անհրաժեշտ է այդպիսի ուղղորդում,
2) Վայրէջքի ընթացքում օդաչուի մոտ կարող է առաջանալ անհրաժեշտություն` վերահսկելու իր գործողությունները հետևյալ պայմանների արդյունքում`
ա. տեղանքը միապաղաղ է և բացակայում են տեսողական կողմնորոշիչներ կամ
բ. վազքուղու կամ դրան կից տեղանքի ռելիեֆը և թեքությունները կարող են ապակողմնորոշել օդաչուին,
3) վայրէջքի գոտում առկա են խոչընդոտներ, որոնք վայրէջքագծի սահմանված ուղղության խախտման դեպքում կարող են սպառնալ թռիչքների անվտանգությանը,
4) վազքուղու ճակատներին կից գոտիների մակերևույթի ֆիզիկական վիճակը կարող է սպառնալ օդանավի անվտանգությանը` թերի կամ գերվայրէջքի արդյունքում,
5) տեղանքը կամ գերակայող օդերևութաբանական պայմանները այնպիսին են, որ վայրէջքի ընթացքում օդանավը կարող է ընկնել բարձր մրրկային գոտի:
85. Վայրէջքագծային համակարգերը դասակարգվում են երկու հիմնական համակարգերի և դրանց մեկական պարզեցված ձևերի`
ա. Տ-ՎԱՍԻՍ (T-VASIS) ու ԱՏ-ՎԱՍԻՍ (AT-VASIS),
բ. ՊԱՊԻ (PAPI) ու ԱՊԱՊԻ (APAPI), համաձայն Կարգի նկար 10-ի:
1) ՊԱՊԻ (PAPI), Տ-ՎԱՍԻՍ (T-VASIS) կամ ԱՏ-ՎԱՍԻՍ (AT-VASIS) համակարգերը պետք է նախատեսվեն «3» կամ «4» ծածկագրով նշված վազքուղիների համար, իսկ ՊԱՊԻ (PAPI) և ԱՊԱՊԻ (APAPI) համակարգերը` «1» կամ «2» ծածկագրով նշված վազքուղիների համար:
2) Վազքուղու շեմի ժամանակավոր շեղման դեպքում առաջարկվում է կիրառել PAPI համակարգը, բացառությամբ «1» կամ «2» ծածկագրով նշված վազքուղիների, որոնց համար կարող է նախատեսվել ԱՊԱՊԻ (APAPI) համակարգ:
3) Վայրէջքագծային համակարգերը պետք է նախատեսված լինեն օրվա բոլոր ժամերին շահագործման համար:
86. Եթե վազքուղին սարքավորված է ILS և/կամ MLS ռադիոնավիգացիոն համակարգով, վայրէջքագծային լուսարձակների տեղադրման տեղը և անկյուններն ընտրվում են այնպես, որպեսզի հնարավորության սահմաններում ապահովվի տեսողական և ռադիոնավիգացիոն Վայրէջքագծային համակարգերի կողմից ներկայացվող տեղեկատվության համապատասխանությունը:
87. Տ-ՎԱՍԻՍ (T-VASIS) Վայրէջքագծային համակարգը (նկար 10, «Ա» տարբերակ) կազմվում է 20 լուսարձակներից, որոնք տեղադրվում են ՎՈՒ առանցքագծին համաչափ երկու խմբերով:
1) Յուրաքանչյուր խմբում նախատեսվում են 10 լուսարձակ, որոնցից 6-ը տեղադրվում են ՎՈՒ առանցքագծին զուգահեռ շարքով, ՎՈՒ կողային եզրից 30մ հեռավորության վրա, իսկ 4-ը` թևային հորիզոնի ձևով ՎՈՒ առանցքագծին ուղղահայաց` ՎՈՒ շեմից 280մ հեռավորության վրա, որի կենտրոնը պետք է համընկնի զուգահեռ շարքի հետ:
2) Զուգահեռ շարքի լուսարձակների տեղադրման համար սահմանվում են, համապատասխանաբար, հետևյալ հեռավորությունները` 45մ, 90մ և 90մ, հաշված թևային հորիզոնի լուսարձակներից: ՎՈՒ շեմից մինչև թևային հորիզոնը տեղադրված լուսարձակների խումբը կոչվում է «Թռչեք ցածր», իսկ թևային հորիզոնից հետո տեղադրված խումբը` «Թռչեք բարձր»:
3) Թևային հորիզոն կազմող լուսարձակների շարքի ընդհանուր լայնությունը պետք է կազմի 24մ: Լուսարձակները տեղադրվում են իրար և շարքի կենտրոնի նկատմամբ 6մ հեռավորության վրա:
4) ԱՏ-ՎԱՍԻՍ (AT-VASIS) Վայրէջքագծային համակարգը հանդիսանում է Տ-ՎԱՍԻՍ (T-VASIS) համակարգի պարզեցված տեսակը (առանցքագծի նկատմամբ լուսարձակների մի խումբը) և տեղադրվում է վայրէջքի ուղղությամբ վազքուղու միայն ձախ կողմից:
88. Տ-ՎԱՍԻՍ (T-VASIS) և ԱՏ-ՎԱՍԻՍ (AT-VASIS) Վայրէջքագծային համակարգերի լուսարձակների տեղադրման անկյունները պետք է ապահովեն օդաչուի համար տեսանելի հետևյալ պատկերները, ելնելով վայրէջքագծի նկատմամբ օդանավի գտնվելու դիրքից`
ա. եթե օդանավը գտնվում է վայրէջքագծի վրա, ապա օդաչուին պետք է տեսանելի լինեն սպիտակ գույնի լույս ճառագայթող միայն թևային հորիզոնի լուսարձակները,
բ. եթե օդանավը գտնվում է վայրէջքագծից բարձր, ապա օդաչուին պետք է տեսանելի լինեն սպիտակ գույնի լույս ճառագայթող թևային հորիզոնի և «Թռչեք ցածր» խմբի մեկ, երկու կամ երեք լուսարձակները, ընդ որում, ինչքան բարձր է գտնվում օդանավը վայրէջքագծի նկատմամբ, այնքան շատ «Թռչեք ցածր» լուսարձակներ պետք է տեսանելի լինեն,
գ. եթե օդանավը գտնվում է վայրէջքագծից ցածր, ապա օդաչուին պետք է տեսանելի լինեն սպիտակ գույնի լույս ճառագայթող թևային հորիզոնի և «Թռչեք բարձր» խմբի մեկ, երկու կամ երեք լուսարձակները, ընդ որում, ինչքան ցածր է գտնվում օդանավը վայրէջքագծի նկատմամբ, այնքան շատ «Թռչեք բարձր» լուսարձակներ պետք է տեսանելի լինեն: Եթե օդանավի դիրքը վայրէջքագծի նկատմամբ զգալի ցածր է, ապա սույն ենթակետում նշված լուսարձակները պետք է տեսանելի լինեն որպես կարմիր գույնի լույս ճառագայթող լուսարձակներ,
դ. եթե օդանավը գտնվում է վայրէջքագծի վրա, «Թռչեք բարձր» և «Թռչեք ցածր» խմբերի լուսարձակների ճառագայթվող լույսը պետք է տեսանելի չլինի: Եթե օդանավը գտնվում է վայրէջքագծից բարձր կամ ցածր, պետք է տեսանելի չլինեն համապատասխանաբար «Թռչեք բարձր» և «Թռչեք ցածր» խմբերի լուսարձակների ճառագայթվող լույսը:
89. ՊԱՊԻ (PAPI) Վայրէջքագծային համակարգը (նկար 10, «Բ» տարբերակ) կազմվում է 4 լուսարձակներից, որոնք տեղադրվում են ՎՈՒ առանցքագծին ուղղահայաց ՎՈՒ շեմից համապատասխան հեռավորության վրա, որը հաշվարկվում է` ելնելով աերոդրոմի սարքավորվածությունից ILS և/կամ/ MLS ռադիոնավիգացիոն համակարգով, ինչպես նաև շահագործվող օդանավերի տիպերից:
1) Վայրէջքագծային համակարգի առաջին լուսարձակը տեղադրվում է ՎՈՒ կողային եզրից 15±1մ հեռավորության վրա, իսկ մյուսներն իրարից 9±1մ հեռավորության վրա:
2) ՊԱՊԻ (PAPI) Վայրէջքագծային համակարգերի լուսարձակների տեղադրման անկյունները պետք է ապահովեն օդաչուի համար տեսանելի հետևյալ պատկերները, ելնելով վայրէջքագծի նկատմամբ օդանավի գտնվելու դիրքից`
ա. եթե օդանավը գտնվում է վայրէջքագծի վրա, ապա ՎՈՒ կողային եզրին մոտ առաջին երկու լուսարձակը օդաչուի համար պետք է տեսանելի լինի որպես կարմիր գույնի լույս ճառագայթող, իսկ մյուս երկու լուսարձակը` որպես սպիտակ գույնի լույս ճառագայթող,
բ. եթե օդանավը գտնվում է վայրէջքագծից բարձր, ապա ՎՈՒ կողային եզրին մոտ առաջին լուսարձակը օդաչուի համար պետք է տեսանելի լինի որպես կարմիր գույնի լույս ճառագայթող, իսկ մյուս երեք լուսարձակը` որպես սպիտակ գույնի լույս ճառագայթող: Եթե օդանավի դիրքը վայրէջքագծի նկատմամբ զգալի բարձր է, ապա բոլոր 4 լուսարձակը պետք է տեսանելի լինեն որպես սպիտակ գույնի լույս ճառագայթող,
գ. եթե օդանավը գտնվում է վայրէջքագծից ցածր, ապա ՎՈՒ կողային եզրին մոտ առաջին երեք լուսարձակը օդաչուի համար պետք է տեսանելի լինի որպես կարմիր գույնի լույս ճառագայթող, իսկ չորրորդ (վերջին) լուսարձակը` որպես սպիտակ գույնի լույս ճառագայթող: Եթե օդանավի դիրքը վայրէջքագծի նկատմամբ զգալի ցածր է, ապա բոլոր 4 լուսարձակը պետք է տեսանելի լինի որպես կարմիր գույնի լույս ճառագայթող:
90. ԱՊԱՊԻ (APAPI) Վայրէջքագծային համակարգը (նկար 10, «Գ» տարբերակ) կազմվում է 2 լուսարձակներից, որոնք տեղադրվում են ՎՈՒ առանցքագծին ուղղահայաց. ՎՈՒ շեմից համապատասխան հեռավորության վրա, որը հաշվարկվում է` ելնելով աերոդրոմի սարքավորվածությունից ILS և/կամ/ MLS ռադիոնավիգացիոն համակարգով, ինչպես նաև շահագործվող օդանավերի տիպերից:
1) Վայրէջքագծային համակարգի առաջին լուսարձակը տեղադրվում է ՎՈՒ կողային եզրից 10±1մ հեռավորության վրա, իսկ երկրորդը` առաջինից 6±1մ հեռավորության վրա:
2) ԱՊԱՊԻ (APAPI) Վայրէջքագծային համակարգերի լուսարձակների տեղադրման անկյունները պետք է ապահովեն օդաչուի համար տեսանելի հետևյալ պատկերները, ելնելով վայրէջքագծի նկատմամբ օդանավի գտնվելու դիրքից`
ա. եթե օդանավը գտնվում է վայրէջքագծի վրա, ապա ՎՈՒ կողային եզրին մոտ լուսարձակը օդաչուի համար պետք է տեսանելի լինի որպես կարմիր գույնի լույս ճառագայթող, իսկ երկրորդը` որպես սպիտակ գույնի լույս ճառագայթող,
բ. եթե օդանավը գտնվում է վայրէջքագծից բարձր, ապա երկու լուսարձակներն էլ օդաչուի համար պետք է տեսանելի լինեն որպես սպիտակ գույնի լույս ճառագայթող,
գ. եթե օդանավը գտնվում է վայրէջքագծից ցածր, ապա երկու լուսարձակներն էլ օդաչուի համար պետք է տեսանելի լինեն որպես կարմիր լույս ճառագայթող:
91. Վայրէջքագծային համակարգը պետք է ապահովված լինի խոչընդոտներից պաշտպանված հարթությամբ, որի գծապատկերը և երկրաչափական չափերը ներկայացված են Կարգի նկար 11 և հետևյալ աղյուսակում`
| Հարթության տարրերը, դրանց չափերը և թեքությունները |
Չսարքավորված վազքուղի | Սարքավորված վազքուղի | ||||||
| Վազքուղու թվային ծածկագիրը | Վազքուղու թվային ծածկագիրը | |||||||
| 1 | 2 | 3 | 4 | 1 | 2 | 3 | 4 | |
| Ներքին սահմանի երկարությունը, մ |
60 | 80ա | 150 | 150 | 150 | 150 | 300 | 300 |
| Հեռավորությունը ՎՈՒ շեմից, մ |
30 | 60 | 60 | 60 | 60 | 60 | 60 | 60 |
| Յուրաքանչյուր կողմի շեղվածությունը |
10% | 10% | 10% | 10% | 15% | 15% | 15% | 15% |
| Ըհդհանուր երկարությունը, մ |
7500 | 7500բ | 15000 | 15000 | 7500 | 7500բ | 15000 | 15000 |
| Հարթության թեքություններն ըստ համա- կարգերի՝ |
||||||||
|
ա) (Ա)Տ-ՎԱՍԻՍ |
-գ | 1.90 | 1.90 | 1.90 | -գ |
1.90 |
1.90 | 1.90 |
|
բ) ՊԱՊԻ |
- | 1.43030' | 1.43030' | 1.43030' | 1.43030' | 1.43030' | 1.43030' | 1.43030' |
|
գ) ԱՊԱՊԻ |
1.1045' | 1.1045' | - | - | 1.1045' | 1.1045' | - | - |
որտեղ`
ա. Տ-ՎԱՍԻՍ (T-VASIS) և ԱՏ-ՎԱՍԻՍ (AT-VASIS) Վայրէջքագծային համակարգերի տվյալ ցուցանիշն անհրաժեշտ է ավելացնել մինչև 150մ,
բ. Տ-ՎԱՍԻՍ (T-VASIS) և ԱՏ-ՎԱՍԻՍ (AT-VASIS) Վայրէջքագծային համակարգերի տվյալ ցուցանիշն անհրաժեշտ է ավելացնել մինչև 15000մ,
գ. թեքությունները սահմանված չեն, քանի որ տվյալ վազքուղիների համար թռիչքագծային լույսերի համակարգեր չեն օգտագործվում:
Նոր կառուցվող կամ վերակառուցվող օբյեկտների բարձրությունները չպետք է գերազանցեն Վայրէջքագծային համակարգերի խոչընդոտներից պաշտպանված հարթության սահմանները, բացառությամբ այն դեպքերի, երբ դրանք ստվերարկված են այլ օբյեկտներով:
92. Վայրէջքագծային համակարգերի խոչընդոտներից պաշտպանված հարթության սահմանները գերազանցող առկա խոչընդոտները ենթակա են վերացման, եթե դրանք ստվերարկված չեն այլ անշարժ օբյեկտներով:
93. Եթե ուսումնասիրությունների արդյունքում արձանագրվում է, որ Վայրէջքագծային համակարգերի խոչընդոտներից պաշտպանված հարթության սահմաններում առկա են օբյեկտներ, որոնք կարող են բացասաբար ազդել թռիչքերի անվտանգությանը`
ա. համապատասխանաբար մեծացվում է վայրէջքագծի թեքության անկյունը,
բ. նվազեցվում է համակարգի ճառագայթի ճյուղավորման ազիմուտալ անկյունը այնպես, որ օբյեկտը գտնվի ճառագայթի տիրույթից դուրս,
գ. համակարգի առանցքը և խոչընդոտներից պաշտպանված հարթությունը շեղվում են 50 ոչ ավելի անկյան վրա,
դ. ՎՈւ շեմը տեղափոխվում է դեպի վազքուղու կենտրոն` համապատասխան հեռավորության վրա կամ
ե. եթե սույն կետի «դ» ենթակետում նշված միջոցառումը գործնականորեն իրագործելի չէ, ՎՈՒ շեմի նկատմամբ համապատասխանաբար տեղափոխվում է Վայրէջքագծային համակարգը, որպեսզի ՎՈՒ շեմի հատման ժամանակ ապահովվի անվտանգ բարձրության լրացուցիչ պաշար:
Գ լ ու խ X
Տեսողական լրացուցիչ միջոցներ
94. Կարգի իմաստով լրացուցիչ տեսողական միջոցներ են համարվում`
ա. աերոնավիգացիոն փարոսները,
բ. առբերիչ լույսերը,
գ. շրջանով թռիչքի կառավարման լույսերը:
1) Աերոնավիգացիոն փարոսները նախատեսվում են գիշերային ժամերին շահագործվող աերոդրոմների համար, որտեղ, ելնելով շրջակա տեղանքի պայմաններից, առաջանում է անհրաժեշտություն` հստակեցնել աերոդրոմի գտնվելու վայրը: Որպես աերոնավիգացիոն փարոս աերոդրոմում կարող է տեղադրվել աերոդրոմային կամ ճանաչողական փարոս:
2) Աերոդրոմային փարոսը նախատեսվում է հետևյալ պայմաններից մեկի կամ մի քանիսի դեպքում`
ա. օդանավերի կողմից նավիգացիան հիմնականում իրականացվում է տեսողական միջոցների օգնությամբ,
բ. սահմանափակ տեսանելիության պայմանները համարվում են հաճախակի երևույթ,
գ. աերոդրոմի շրջակա տեղանքի առանձնահատկությունները և կողմնակի լույսերի առկայությունը դժվարացնում են աերոդրոմի դիրքի որոշումը:
3) Աերոդրոմային փարոսը հանդիսանում է առկայծիչ լուսարձակ կամ միայն սպիտակ կամ սպիտակ և կանաչ փոփոխական գույնի առկայծումներով, որոնց հաճախականությունը պետք է կազմի 20-30 հատ մեկ րոպեում: Աերոդրոմային փարոսի լույսը պետք է տեսանելի լինի բոլոր ուղղություններով և նրա ինտենսիվությունը պետք է լինի առնվազն 2000կդ:
4) Աերոդրոմային փարոսը կարող է տեղադրվել աերոդրոմում կամ դրան կից գոտիներում, որտեղ շրջակա լուսավորվածության ընդհանուր ֆոնը նվազագույնն է: Աերոդրոմային փարոսը չպետք է ստվերարկված լինի այլ օբյեկտներով և չպետք է կուրացնի վայրէջք կատարող օդանավերի օդաչուներին:
95. Տարբերիչ փարոսը նախատեսվում է այն աերոդրոմներում, որոնց դժվար է տարբերել այլ միջոցների օգնությամբ:
1) Տարբերիչ փարոսը հանդիսանում է կանաչ գույնի առկայծիչ լուսարձակ, որի առկայծումներն իրականացվում են «Մորզե» միջազգային այբուբենի ազդանշաններին համապատասխան, ընդ որում, ազդանշանների փոխանցման արագությունը պետք է կազմի 6-8 բառ մեկ րոպեում` հաշվի առնելով, որ 1 նշանի փոխանցման տևողությունը կազմում է 0.15-0.2 վայրկյան:
2) Տարբերիչ փարոսը տեղադրվում է աերոդրոմի սահմաններում` որտեղ շրջակա լուսավորվածության ընդհանուր ֆոնը նվազագույնն է և նա տեսանելի է բոլոր ուղղություններով: Փարոսը չպետք է ստվերարկված լինի այլ օբյեկտներով և նա չպետք է կուրացնի վայրէջք կատարող օդանավերի օդաչուներին:
96. Եթե աերոդրոմի շրջակայքի ռելիեֆի բնութագրի պատճառով կամ օդանավերի աղմուկի նվազեցման նպատակով առաջանում է անհրաժեշտություն շրջանցելու շրջակայքի որոշ վտանգավոր հատվածներ կամ բնակավայրեր, աերոդրոմներում կարող է սահմանվել վայրէջքի ուղղության համապատասխան հետագիծ, որն ապահովվում է առբերիչ լույսերով:
1) Առբերիչ լույսերը կազմվում են խմբերից, որոնք տեղադրվում են իրարից 1600 մ չգերազանցող հեռավորության վրա այնպես, որպեսզի մեկ խմբի վրայով անցնելիս օդաչուին տեսանելի լինի հաջորդ խումբը:
2) Յուրաքանչյուր խումբ պետք է կազմված լինի առնվազն երեք առկայծիչ կամ մշտական սպիտակ գույնի լույս ճառագայթող լուսարձակներից: Հնարավորության սահմաններում, առկայծիչ լուսարձակների կիրառման դեպքում, ցանկալի է ապահովել խմբերի հաջորդաբար առկայծումը հեռավոր խմբից դեպի վազքուղի:
97. Եթե աերոդրոմի լուսաազդանշանային համակարգի մոտեցման լույսերի ենթահամակարգը բավարար ձևով չի ապահովում աերոդրոմի շրջանով թռիչք կատարող օդանավերի առբերումը դեպի վայրէջքագիծ, ապա աերոդրոմում կարող են տեղադրվել շրջանով թռիչքների կառավարման լույսեր, որոնց քանակը և տեղակայման սխեման պետք է օդաչուին տա հնարավորություն`
ա. թռիչքային շրջանի երկրորդ և երրորդ շրջադարձերի հատվածում ճշտել օդանավի ուղղությունը և վազքուղու շեմից համապատասխան հեռավորության վրա տեսնել այն,
բ. տեսադաշտում պահել վազքուղու շեմը և/կամ այլ նշանակալի որոշակետեր, որոնք թույլ կտան օդաչուին ընդունել որոշում երրորդ շրջադարձը ավարտելու և վայրէջքի վերջնական փուլ անցնելու վերաբերյալ:
2) Շրջանով թռիչքների կառավարման լույսերը կազմված են լույսերի հետևյալ խմբերից`
ա. լույսեր, որոնք ցուցանշում են վազքուղու առանցքագծի և/կամ մոտեցման լույսերի շարունակությունը կամ
բ. լույսեր, որոնք ցուցանշում են վազքուղու շեմի դիրքը կամ
գ. լույսեր, որոնք ցուցանշում են վազքուղու ուղղությունը և դիրքը:
3) Շրջանով թռիչքների կառավարման լույսերը հանդիսանում են մշտական ճառագայթման կամ առկայծիչ սպիտակ գույնի լույսեր, որոնց ինտենսիվությունը պետք է ապահովի դրանց տեսանելիությունը աերոդրոմի շրջակայքում:
Գ լ ու խ XI
Կառամատուցային տեսողական միջոցներ
98. Կարգի իմաստով կառամատուցային տեսողական միջոցներ են համարվում`
ա. կառամատույցների լուսավորման լուսարձակները,
բ. տելեսկոպիկ շարժասանդուղքի հետ օդանավի կցման տեսողական համակարգը,
գ. կայանատեղում օդանավի մանևրման կառավարման լույսերը:
1) Եթե աերոդրոմը նախատեսված է գիշերային ժամերին շահագործման համար, ապա դրա կառամատույցը, օդանավերի հակասառցակալման ապահովման գոտում և մեկուսացված կայանատեղը պետք է ապահովված լինեն կառամատույցների լուսավորման լուսարձակներով:
2) Կառամատույցի լուսավորման լուսարձակները պետք է տեղադրվեն այնպիսի գոտիներում և անկյունների տակ, որ բացառվի թռչող կամ գետնավարող օդանավերի օդաչուների, աերոդրոմի կառավարման կետի կարգավարների, ինչպես նաև կառամատույցում օդանավերը սպասարկող անձնակազմի կուրացումը, միաժամանակ ապահովվի կառամատույցի բոլոր սպասարկվող գոտիների համապատասխան լուսավորությունը:
3) Վերը նշված պայմանները բավարարելու նպատակով առաջարկվում է կառամատույցի լուսավորությունն իրականացնել երկու և ավելի կողմերից:
4) Կառամատույցի լուսավորման լուսարձակների ճառագայթային սպեկտրը պետք է ապահովի կառամատույցի մականշման գծանշանների գույների ճիշտ ցուցանշումը:
5) Ըստ կառամատույցի գոտիների սահմանվում են լուսավորվածության հետևյալ արժեքները`
ա. օդանավերի կայանատեղերում.
հորիզոնական հարթությունում-20լկ, եթե միջին և նվազագույն ինտենսիվությունների հարաբերական գործակիցը չի գերազանցում 4:1,
ուղղաձիգ հարթությունում-20լկ. գետնից 2մ բարձրության վրա,
բ. կառամատույցի այլ գոտիներում հորիզոնական հարթությունում լուսավորվածությունը պետք է համապատասխանի օդանավերի կայանատեղերի հորիզոնական հարթության լուսավորվածության 50%:
6) Եթե օդանավերի հակասառցակալման ապահովման գոտին գտնվում է ՎՈՒ անմիջական մոտակայքում և դրա լուսարձակային լուսավորումը կարող է կուրացնել օդաչուին, ապա կիրառվում են գոտու լուսավորման այլ միջոցներ:
99. Տելեսկոպիկ շարժասանդուղքի հետ օդանավի կցման տեսողական համակարգը (այսուհետ` Համակարգ) նախատեսվում է ապահովելու օդանավի ճշգրիտ կայանումը կայանատեղում` առանց այլընտրանքային միջոցների օգտագործման կամ ազդանշորդների աջակցման:
1) Համակարգի անհրաժեշտության գնահատման դեպքում հաշվի առնվող փաստեր են համարվում` կոնկրետ կանգառ օգտագործվող օդանավերի քանակը և տիպը, եղանակային պայմանները, կառամատույցի վրա հատկացված մակերեսը և օդանավերի, ուղևորների շարժասանդուղքի և այլ սպասարկման սարքերի տեղաբաշխումը:
2) Համակարգը կազմվում է ազիմուտալ առբերման բլոկով և կայանման տեղի ցուցիչով, որոնք ապահովում են օդանավի ազիմուտալ առբերումը դեպի կայանատեղ և նշում նրա կայանման տեղը:
3) Համակարգը կարող է օգտագործվել ցանկացած եղանակային և տեսանելիության պայմաններում, շրջակայքի լուսավորվածության և ծածկույթի ցանկացած վիճակի դեպքում` ինչպես ցերեկային, այնպես էլ գիշերային ժամերին:
4) Համակարգի կառավարման սխեման պետք է.
ա. օդաչուին ապահովի տեղեկատվությամբ ցուցիչներից մեկի կամ երկուսի անսարքության վերաբերյալ,
բ. կարողանա անջատել այն:
5) Համակարգը տեղադրվում է այնպես, որպեսզի ապահովի օդանավի մանևրումը կայանատեղում, համաձայն կայանատեղի մականշանների:
6) Ազիմուտալ առբերման բլոկը տեղադրվում է կայանատեղի առանցքագծի շարունակության վրա կամ շարունակությանը մոտ, այնպես, որ նրա ազդանշանները տեսանելի լինեն օդաչուներին կամ ծայրահեղ դեպքում օդաչուական խցիկի ձախ նստատեղը զբաղեցնող օդաչուին` տելեսկոպիկ շարժասանդուղքի հետ կցման մանևրի ամբողջ ընթացքում:
7) Ազիմուտալ առբերման բլոկը պետք է ապահովի ձախ/աջ ուղղությունների միանշանակ կառավարում:
8) Այն դեպքերում, երբ ազիմուտալ առբերումն իրականացվում է լուսաազդանշանների գույների փոփոխման միջոցով, կանաչ գույնն օգտագործվում է առանցքագծի նշման համար, իսկ կարմիրը` առանցքագծից շեղումները նշելու համար:
9) Կայանման տեղի ցուցիչը տեղադրվում է ազիմուտալ առբերման բլոկի հետ կամ նրան բավական մոտ, այնպես, որ օդաչուն կարողանա առանց գլուխը շրջելու հետևել Համակարգի ազդանշաններին:
10) Կայանման տեղի ցուցիչը նշում է օդանավի կայանման տեղը և օդանավի անձնակազմին հուշում է օդանավի գետնավարման անհրաժեշտ արագություն: Արագության մասին տեղեկատվությունը պետք է տրամադրվի առնվազն 10մ հեռավորությունից սկսած:
11) Այն դեպքերում, երբ կայանման տեղի նշումն իրականացվում է լուսաազդանշանների գույների փոխման միջոցով, կանաչ գույնը թույլատրում է օդանավերի գետնավարումը, իսկ կարմիրը, որ օդանավը գտնվում է կայանատեղում: Եթե մինչև կայանատեղ հեռավորությունը փոքր է` կարող է օգտագործվել երրորդ գույնը, կայանատեղի մոտիկ լինելը նախազգուշացնելու համար:
100. Կայանատեղում օդանավի մանևրման կառավարման լույսերը նախատեսվում են սահմանափակ տեսանելիության պայմաններում ծածկույթով կառամատույցում կամ հակասառցակալման ապահովման գոտում օդանավերի տեղավորումը հեշտացնելու համար, բացառությամբ, եթե դա ապահովվում է այլ միջոցներով:
1) Կայանատեղում օդանավի մանևրման կառավարման լույսերը համատեղվում են օդանավի կայանատեղի մականշման գծանշանների հետ:
2) Կայանատեղում օդանավի մանևրման կառավարման լույսերը, բացառությամբ կայանատեղը նշող լույսերի, հանդիսանում են մշտական ճառագայթման դեղին գույնի լույսեր, որոնք պետք է տեսանելի լինեն միայն այն կայանատեղի սահմաններում, որի համար դրանք նախատեսված են:
3) Գետնավարման ուղու կորագծային հատվածներում լույսերը պետք է տեղադրվեն իրարից 7.5 մ ոչ ավելի հեռավորության վրա, իսկ ուղղագծային հատվածներում` 15 մ ոչ ավելի:
4) Կայանատեղը նշող լույսերը հանդիսանում են մշտական ճառագայթման կարմիր գույնի միաուղղված լույսեր, որոնց ինտենսիվությունը պետք է համապատասխանի տեսանելիության և լուսավորվածության պայմաններին, որոնց դեպքում նախատեսվում է օգտագործել տվյալ կայանատեղը:
101. Եթե աերոդրոմը շահագործվում է ՎՈՒ վրա 350մ ցածր տեսանելիության հեռավորության պայմաններում Կարգի 33-րդ կետով սահմանված սպասման հրապարակները և/կամ տեղերը պետք է ապահովվեն սպասման տեղի լույսեր:
1) Սպասման տեղի լույսեր առաջարկվում է նախատեսել նաև այն աերոդրոմներում, որոնք շահագործվում են ՎՈՒ վրա 350-550 մ տեսանելիության հեռավորության պայմաններում:
2) Սպասման տեղի լույսը տեղադրվում է երթևեկման համար նախատեսված գոտու աջ կողմից. եզրից 1.5 մ (± 0.5 մ) հեռավորության վրա և հանդիսանում է միաուղղված լույս, որը տեսանելի է միայն սպասման տեղին մոտեցող տրանսպորտային միջոցի վարորդին:
3) Սպասման տեղի լույսը կարող է լինել`
ա. կարմիր և կանաչ լուսացույցի ձևով, որը համապատասխանաբար արգելում կամ թույլատրում է երթևեկումը և որի կառավարումն իրականացվում է օդային երթևեկության կառավարման մարմնի կողմից կամ
բ. առկայծվող կարմիր լուսարձակ, որի առկայծման հաճախականությունը պետք է կազմի 30-60 առկայծում մեկ րոպեում:
4) Սպասման լույսի ինտենսիվությունը համապատասխանեցվում է տեղի պայմաններին:
Գ լ ու խ XII
Նշաններ
102. Օդանավերի և տրանսպորտային միջոցների վերգետնյա երթևեկության կառավարումը և անվտանգությունն ապահովելու նպատակով աերոդրոմներում պետք է նախատեսվի նշանների համակարգ, որի միջոցով օդաչուները կամ վարորդները կարող են որոշել իրենց գտնվելու վայրը և հետագա երթևեկման ուղղությունները:
103. Նշանները հանդիսանում են աերոնավիգացիոն տեսողական միջոցներ, որոնք ներկայացնում են մշտական կամ փոփոխական տեղեկատվություն կամ հրահանգ:
104. Փոփոխական տեղեկատվություն ներկայացնող նշանները նախատեսվում են այն դեպքերում, երբ`
ա. տեղեկատվությունը կամ հրահանգը նախատեսվում է ներկայացնել միայն որոշ ժամանակահատվածի համար և/կամ/
բ. տեղեկատվության կամ հրահանգի ներկայացման մասին որոշումն ընդունվում է օդային երթևեկության կառավարման մարմնի կողմից:
1) Տեղեկատվության փոփոխման ժամանակահատվածը պետք է հնարավորության սահմաններում լինի կարճ և չգերազանցի 5 վայրկայնը:
2) Փոփոխական տեղեկատվություն ներկայացնող նշանները որևիցէ տեղեկատվություն չպետք է ցուցանշեն, եթե դրանք չեն օգտագործվում կամ անսարք են:
105. Նշանները պետք է տեղադրվեն դյուրաբեկ ամրանների վրա և, հնարավորության սահմաններում, գետնից նվազագույն բարձրության վրա: Նշանների չափերը, ձևը և դրանց վրայի նշագրումները պետք է համապատասխանեն միջազգային ստանդարտներով սահմանված չափանիշներին:
106. Նշանները պետք է լինեն լուսավորվող, եթե դրանք նախատեսված են շահագործման հետևյալ պայմաններում`
ա. ՎՈՒ վրա տեսանելիության հեռավորությունը քիչ է 800մ կամ
բ. ՎՈՒ սարքավորված է և շահագործվում է գիշերային ժամերին կամ
գ. ՎՈՒ համարվում է «3» կամ «4» ծածկագրով նշված չսարքավորված վազքուղի և շահագործվում է գիշերային ժամերին:
1) Եթե նշանները նախատեսված են «1» կամ «2» ծածկագրով նշված չսարքավորված վազքուղիների համար, ապա դրանք պետք է լինեն առնվազն լուսաանդրադարձիչ:
107. Ըստ իրենց նշանակության նշանները դասակարգվում են երկու խմբի`
ա. հրահանգավորող, որոնց ներկայացվող տեղեկատվությունը կամ հրահանգը ենթակա են պարտադիր կատարման,
բ. ցուցիչ, որոնց ներկայացվող տեղեկատվությունը նշում է օդանավի կամ տրանսպորտային միջոցի գտնվելու վայրը, երթևեկման հնարավոր ուղիները:
108. Հրահանգավորող և ցուցիչ նշանների նշագրումներն իրականացվում են համապատասխանաբար սպիտակ գույնով. կարմիր ֆոնի վրա և սև գույնով. դեղին ֆոնի վրա:
109. Նշանները տեղադրվում են վազքուղու կամ ղեկուղու կողային եզրերում և եթե առկա է գծային մականշում, ապա դրա ուղղությամբ հետևյալ հեռավորությունների վրա`
ա. 5-11 մ և 3-10մ համապատասխանաբար ղեկուղու և վազքուղու արհեստական ծածկույթի կողային եզրից, եթե ՎՈՒ նշված է «1» կամ «2» ծածկագրով և
բ. 11-21 մ և 8-15մ համապատասխանաբար ղեկուղու և վազքուղու արհեստական ծածկույթի կողային եզրից, եթե ՎՈՒ նշված է «3» կամ «4» ծածկագրով:
Գ լ ու խ XIII
Խոչընդոտների մականշումները
110. Աերոդրոմի շրջանի օդային տարածքի վերելքի ընթացքում բարձրություն հավաքելու և վայրէջքի հարթությունների ներքին սահմանից 3000մ սահմաններում դրանց կամ անցումային և հորիզոնական հարթությունների մակերեսը հատող խոչընդոտները ենթակա են ցերեկային մականշման, իսկ եթե աերոդրոմը շահագործվում է նաև գիշերային ժամերին, խոչընդոտներն ապահովվում են գիշերային մականշմամբ` լուսաազդանշանային միջոցներով:
111. Խոչընդոտի ցերեկային և գիշերային մականշումները կարող են չիրականացվել, եթե այն ստվերարկված է այլ խոչընդոտով:
112. Խոչընդոտի ցերեկային մականշումը կարող է չիրականացվել եթե`
ա. խոչընդոտի բարձրությունը գետնի մակերևույթի նկատմամբ չի գերազանցում 150մ և այն ցերեկային ժամերին լուսավորված է միջին ինտենսիվությամբ լույսերով,
բ. ցերեկային ժամերին խոչընդոտը լուսավորված է բարձր ինտենսիվությամբ լույսերով:
113. Խոչընդոտի գիշերային մականշում կարող է չիրականացվել, եթե խոչընդոտ է հանդիսանում է լուսափարոսը, որի լուսարձակի առկայությունն աերոնավիգացիոն ուսումնասիրությունների արդյունքում համարվում է բավարար:
114. Աերոդրոմի սահմաններում տեղակայված աերոնավիգացիոն լույսերը պետք է ապահովված լինեն ցերեկային մականշմամբ:
115. Ցերեկային և, եթե աերոդրոմը շահագործվում է գիշերային ժամերին, նաև գիշերային մականշմամբ պետք է ապահովված լինեն`
ա. թռիչքագծային լույսերի համակարգի խոչընդոտներից պաշտպանված հարթությունը գերազանցող խոչընդոտները. այն իրենից ներկայացնում է երկրաչափական սեղան վազքուղու շեմից համապատասխան հեռավորության վրա, որի չափերը և թեքությունները ներկայացված են Կարգի 11-րդ կետի աղյուսակում,
բ. ղեկուղիների գոտիներում, կառամատույցում կամ օդանավերի կայանատեղերում գտվող խոչընդոտները,
գ. Կարգի 37-րդ կետում ներկայացված հարթություններից դուրս գտնվող, սակայն ծովի մակերևույթի նկատմամբ 150մ և ավելի բարձրություն ունեցող խոչընդոտները:
116. Խոչընդոտների մականշումն իրականացվում է գծանշման (ներկման) եղանակով: Խոչընդոտները կարող են չմականշվել, եթե իրենց ձևով, չափսերով և գույնով ցայտուն արտահայտված են շրջակա միջավայրում:
117. Խոչընդոտները պետք է մականշվեն արտահայտիչ գույներով` կարմիր-սպիտակ կամ նարնջագույն-սպիտակ: Եթե ուղղաձիգ մակերեսում խոչընդոտի ստվերագծի երկարությունը և լայնությունը քիչ է 1.5 մետրից, խոչընդոտը կարող է մականշվել մեկ գույնով` կարմիր կամ նարնջագույն, ելնելով միջավայրի պայմաններից:
118. Ելնելով ձևից և չափսերից խոչընդոտները կարող են մականշվել վանդակաձև, հորիզոնական կամ ուղղաձիգ շերտագծերով:
1) Եթե ուղղաձիգ մակերեսում խոչընդոտի ստվերագծի երկարությունը և լայնությունը հավասար կամ գերազանցում են 4.5 մետրը, խոչընդոտը մականշվում է վանդակաձև. կազմված ուղղանկյուններից, որոնց կողմերի չափսերը պետք լինեն ոչ պակաս 1.5մ և ոչ ավելի 4.5 մետրից:
2) Եթե ուղղաձիգ մակերեսում խոչընդոտի ստվերագծի կողմերից մեկը (երկարությունը կամ լայնությունը) գերազանցում է 1.5 մետրը, իսկ մյուսը քիչ է 4.5 մետրից կամ խոչընդոտն իրենից ներկայացնում է կարկասային կառույց, մականշումն իրականացվում է շերտագծերով:
3) Շերտագծերը գծանշվում են ուղղաձիգ. խոչընդոտի առավել մեծ կողմի նկատմամբ և դրանց լայնությունը պետք է լինի տվյալ կողմի 1/7 սահմաններում:
4) Խոչընդոտների անկյունները կամ եզրերը մականշվում են ընտրված գույնի մուգ երանգներով:
119. Եթե գործնականում խոչընդոտների գծանշում իրականացնելն անհնար է, խոչընդոտները կարող են մականշվել դրոշակներով կամ տեղանիշներով:
1) Դրոշակները տեղադրվում են խոչընդոտի կամ դրա առավելագույն բարձր կետի շուրջը: Եթե դրոշակներն օգտագործվում են երկարավուն խոչընդոտների մականշման համար, դրանք տեղադրվում են իրարից առնվազն 15մ հեռավորության վրա:
2) Դրոշակները կարող են լինել միաերանգ, նարնջագույն կամ երկերանգ, կազմված երկու նարնջագույն և սպիտակ եռանկյունաձև մասերից: Դրոշակների յուրաքանչյուր կողմի չափսերը պետք է լինեն ոչ պակաս 0.6 մետրից:
3) Տեղանիշները խոչընդոտների վրա կամ դրանց շրջակայքում պետք է տեղադրվեն այնպես, որպեսզի ընդհանուր պատկերացում տան դրանց ձևի և չափսերի մասին և պարզ եղանակին երկնքից և գետնից տեսանելի լինեն համապատասխանաբար 1000մ և 300մ հեռավորությունների վրա:
4) Էլեկտրահաղորդագծերի վրա տեղադրվող տեղանիշները պետք է լինեն գնդաձև, առնվազն 60սմ տրամագծով: Ըստ տրամագծի մեծության տեղանիշները տեղակայվում են հետևյալ հեռավորությունների վրա`
ա. 30մ, եթե տեղանիշի տրամագիծը հավասար է 60սմ,
բ. 35մ, եթե տեղանիշի տրամագիծը հավասար է 80սմ,
գ. 40մ, եթե տեղանիշի տրամագիծը հավասար է 130սմ:
5) Տեղանիշները կարող են լինել միաերանգ` սպիտակ, կարմիր կամ նարնջագույն:
120. Խոչընդոտների գիշերային մականշումն իրականացվում է արգելափակիչ ցածր, միջին կամ բարձր ինտենսիվության լույսերով: Ըստ նշանակության արգելափակիչ լույսերը դասակարգվում են`
ա. «A» և «B» տիպերի լույսերի, որոնք տեղադրվում են անշարժ խոչընդոտների վրա,
բ. «C» տիպի լույսերի, որոնք տեղադրվում են շարժական խոչընդոտների (տրանսպորտային միջոցներ) վրա,
գ. «D» տիպերի լույսերի, որոնք տեղադրվում են օդանավերն ուղեկցող մեքենաների վրա:
1) Երկարավուն և գետնի մակերևույթի նկատմամբ մինչև 45մ բարձրությամբ խոչընդոտները մականշվում են «A» կամ «B» տիպի ցածր ինտենսիվության լույսերով: Եթե անհրաժեշտ է խոչընդոտի հատուկ մականշում, օգտագործվում են «A» կամ «B» տիպի միջին կամ բարձր ինտենսիվության լույսեր:
2) Աերոդրոմի տարածքում շահագործվող շարժական խոչընդոտները, բացառությամբ օդանավերի, մականշվում են «C» տիպի ցածր ինտենսիվության լույսերով:
3) Երկարավուն և գետնի մակերևույթի նկատմամբ 45մ ավելի բարձրությամբ խոչընդոտները մականշվում են «A» կամ «B» տիպի միջին ինտենսիվության լույսերով:
4) Գետնի մակերևույթի նկատմամբ 150մ ավելի բարձրությամբ խոչընդոտները մականշվում են «A» տիպի բարձր ինտենսիվության լույսերով:
5) «B» տիպի բարձր ինտենսիվության լույսերով մականշվում են գետնի մակերևույթի նկատմամբ 45 մ ավելի բարձրությամբ խոչընդոտները և էլեկտրահաղորդագծերի հենասյուները:
6) «A» կամ «B» տիպի բարձր ինտենսիվության լույսերը կարող են փոխարինվել «B» կամ «C» տիպի միջին ինտենսիվության լույսերով, եթե գիշերային ժամերին դրանց օգտագործումն աերոդրոմի շրջանում (10000մ շառավղով) կարող է շլացնել օդաչուներին:
7) Արգելափակիչ լույսերը տեղադրվում են հնարավորինս մոտ խոչընդոտի առավել բարձր կետին այնպես, որպեսզի նշվեն սույն Հավելվածի 3-րդ գլխում ներկայացված հարթությունները գերազանցող խոչընդոտի հատվածները:
8) Եթե գետնի մակերևույթի նկատմամբ խոչընդոտի բարձրությունը գերազանցում է 45մ, պետք է տեղադրվեն լրացուցիչ արգելափակիչ լույսեր` միջանկյալ մակարդակների և իրարից հավասար հեռավորությունների վրա: Եթե խոչընդոտի բարձրությունը կազմում է 45-105 =մ, արգելափակիչ լույսերը տեղադրվում են 52մ ոչ ավելի հեռավորությունների վրա, իսկ եթե գերազանցում է 105 մետրը` 105մ ոչ ավելի հեռավորությունների վրա:
9) Յուրաքանչյուր մակարդակի վրա տեղակայվող արգելափակիչ լույսերի քանակը պետք է ապահովի խոչընդոտի մականշումը բոլոր ուղղություններով և տա ընդհանուր պատկերացում խոչընդոտի ձևի ու չափսերի մասին:
10) Ծխնելույզների վրա արգելափակիչ լույսերը տեղադրվում են այնպես, որպեսզի բացառվի լուսարձակների աղտոտումը:
11) Եթե երկարավուն կամ իրար մոտ տեղակայված խոչընդոտները մականշվում են ցածր ինտենսիվության լույսերով, դրանց միջև հեռավորությունը չպետք է գերազանցի 45մ, իսկ միջին ինտենսիվության լույսերվ մականշման դեպքում` 90մ:
121. Ելնելով արգելափակիչ լույսերի տեղադրման բարձրությունից սահմանվում են լուսարձակների հետևյալ անկյունները հորիզոնական հարթության նկատմամբ`
ա. մինչև 92մ - 300,
բ. 92-121մ - 200,
գ. 122 - 151մ - 100,
դ. 151մ ավելի - 000:
1) Ըստ տիպերի և ինտենսիվության արգելափակիչ լույսերը կարող են լինել մշտական լուսարձակման կամ առկայծիչ և չորս գույնի` կարմիր, սպիտակ, դեղին, կապույտ`
ա. «A» կամ «B» տիպի ցածր ինտենսիվության լույսերը հանդիսանում են կարմիր գույնի մշտական լուսարձակման լույսեր,
բ. «C» տիպի ցածր ինտենսիվության լույսերը հանդիսանում են դեղին կամ կապույտ գույնի առկայծիչ լույսեր,
գ. «D» տիպի ցածր ինտենսիվության լույսերը հանդիսանում են դեղին գույնի առկայծիչ լույսեր,
դ. «A» տիպի միջին ինտենսիվության լույսերը հանդիսանում են սպիտակ գույնի առկայծիչ լույսեր,
ե. «B» տիպի միջին ինտենսիվության լույսերը հանդիսանում են կարմիր գույնի առկայծիչ լույսեր,
զ. «C» տիպի միջին ինտենսիվության լույսերը հանդիսանում են կարմիր գույնի մշտական լուսարձակման լույսեր,
է. «A» կամ «B» տիպի բարձր ինտենսիվության լույսերը հանդիսանում են սպիտակ գույնի առկայծիչ լույսեր:
122. Տելեսկոպիկ շարժասանդուղքի եզրագծերը մականշվում են ցածր ինտենսիվության կարմիր գույնի մշտական լուսարձակող լույսերով:
Գ լ ու խ XIV
Աերոդրոմի էներգամատակարարման համակարգը
123. Թռիչքների անվտանգության ապահովման նպատակով աերոդրոմում տեղակայված աերոնավիգացիոն համակարգերը պետք է ապահովված լինեն անխափան էներգամատակարարմամբ:
1) Տեսողական միջոցների էներգամատակարարման համակարգը պետք է բացառի օդանավի օդաչուի և աերոդրոմում տեղակայված տեսողական կողմնորոշիչների միջև կապի ընդհատումը կամ տեղեկատվությունների աղավաղված ներկայացումը:
124. Կարգի 123-րդ կետում սահմանված պայմանների ապահովման նպատակով տեսողական միջոցների էներգամատակարարման համակարգը պետք է ապահովված լինի էներգասնուցման պահուստային էներգաաղբյուրներով:
1) Որպես պահուստային էներգաաղբյուրներ կարող են օգտագործվել`
ա. էներգասնուցման առանձնացված անկախ հաղորդահամակարգ` հաղորդագիծ և ավտոնոմ ենթակայան,
բ. պահուստային էլեկտրաագրեգատներ (դիզել-գեներատորներ) կամ էլեկտրաէներգիայի քիմիական աղբյուրներ (կուտակիչներ):
125. Պահուստային և հիմնական էներգաաղբյուրների միացումներն էներգակիրներին պետք է ապահովեն պահուստային էներգաաղբյուրների ավտոմատ միացումը` հիմնական էներգաաղբյուրի խափանման դեպքում:
126. Աերոդրոմի լուսաազդանշանային և էներգամատակարարման համակարգերի կառավարման սխեմաները պետք է ապահովված լինեն վերահսկման համակարգով, որը վթարների կամ խափանումների ժամանակ ավտոմատ ձևով լուսաազդարարում է դրանց մասին. օդային երթևեկության կառավարման մարմիններին և նշված համակարգերի սպասարկող ծառայություններին:
1) Ավտոմատ լուսաազդարարման ժամանակը տեսողական միջոցների համար, բացառությամբ «Կանգնիր» գծի լույսերից, չպետք է գերազանցի 5 վայրկյանից, իսկ «Կանգնիր» գծի լույսերի համար` 2 վայրկյանից:
127. Լուսաազդանշանային համակարգի էներգասնուցման ընդհատումների և էներգաաղբյուրների (հիմնական և պահուստային) ավտոմատ փոխարկումների թույլատրելի առավելագույն տևողությունները ներկայացված են հետևյալ աղյուսակում`
| Վազքուղու կարգախումբը |
Լուսաազդանշանային համակարգի ենթահամակարգեր |
Էներգա- սնուցման ընդհատման առավելագույն ժամանակը |
| Սարքավորված ոչ ճշգրիտ վայրէջքի համար |
Մոտեցման լույսեր | 15վ |
| Վայրէջքագծային լույսեր | 15վ | |
| Վայրէջքային լույսեր | 15վ | |
| Մուտքային լույսեր | 15վ | |
| Սահմանափակիչ լույսեր | 15վ | |
| Արգելափակիչ լույսեր | 15վ | |
| Ճշգրիտ վայրէջքի համար սարքա- վորված I կարգախմբի |
||
| Մոտեցման լույսեր | 15վ | |
| Վայրէջքային լույսեր | 15վ | |
| Վայրէջքագծային լույսեր | 15վ | |
| Մուտքային լուսեր | 15վ | |
| Սահմանափակիչ լույսեր | 15վ | |
| Ղեկուղու լույսեր | 15վ | |
| Արգելափակիչ լույսեր | 15վ | |
| Ճշգրիտ վայրէջքի համար սարքա- վորված II/III կարգախմբերի |
Վազքուղու շեմքից 300մ հեռավորության վրա տեղակայված մոտեցման լույսեր |
1 վ |
| Մոտեցման լույսերի ենթահամակարգի մնացած լույսեր |
15վ | |
| Արգելափակիչ լույսեր | 15վ | |
| Վայրէջքագծային լույսեր | 15վ | |
| Մուտքային լուսեր | 1 վ | |
| Սահմանափակիչ լույսեր | 1 վ | |
| Վայրէջքային գոտու լույսեր | 1 վ | |
| Սահմանափակիչ լույսեր | 1 վ | |
| «Ստոպ» նշանների լույսեր | 1 վ | |
| Ղեկուղու լույսեր | 15վ | |
| 800մ պակաս տեսանելիության պայմանների համար նախատեսված վազքուղի |
Վայրէջքային լույսեր | 15վ |
| Սահմանափակիչ լույսեր | 15վ | |
| Վայրէջքային գոտու լույսեր | 1 վ | |
| «Ստոպ» նշանների լույսեր | 1 վ | |
| Ղեկուղու լույսեր | 15վ | |
| Արգելափակիչ լույսեր | 15վ |
որտեղ` չսարքավորված վազուղիների համար էներգասնուցման ընդհատումների առավելագույն ժամանակները պետք է հնարավորության սահմաններում հասցվեն նվազագույնի:
128. Եթե լուսաազդանշանային համակարգն ապահովված չէ էներգասնուցման պահուստային էներգաաղբյուրներով, ապա աերոդրոմում պետք է նախատեսվի վթարային լուսաազդանշանային համակարգ, որն էներգասնուցման խափանման դեպքում հնարավոր կլինի տեղադրել առնվազն վազքուղու վրա և որի համալրվածությունը և տեղադրման սխեման պետք է համապատասխանի չսարքավորված վազքուղիների լուսաազդանշանային համակարգին:
129. Տեսողական միջոցներից բացի, պահուստային էներգասնուցմամբ պետք է ապահոված լինեն նաև աերոդրոմային հետևյալ միջոցները և համակարգերը`
ա. խոչընդոտների արգելափակիչ լույսերը,
բ. օդերևութաբանական սարքավորումները,
գ. աերոդրոմի պարագծային ցանկապատի լուսավորության համակարգը,
դ. կառամատույցի լուսավորության համակարգը,
ե. օդանավերի մեկուսացված կայանատեղի լուսարձակները,
զ. օդանավերի վերգետնյա էներգասնուցման համակարգը:
130. Աերոդրոմի էներգամատակարարման համակարգի կառավարման սխեման պետք է ապահովի վթարների և խափանումների ավտոմատ լուսաազդարարումը, ընդ որում, տեսողական միջոցների համար, բացառությամբ «Կանգնիր» գծի լույսերից, դրա ժամանակը չպետք է գերազանցի 5 վայրկյանից, իսկ «Կանգնիր» գծի լույսերի համար` 2 վայրկայնից:
Գ լ ու խ XV
Աերոդրոմներում վթարափրկարարական եվ հակահրդեհային անվտանգության միջոցառումների ապահովումը
131. Աերոդրոմները պետք է ապահովված լինեն վթարափրկարարական և հրշեջ միջոցներով: Ըստ վթարափրկարարական և հակահրդեհային անվտանգության ապահովման մակարդակի աերոդրոմները դասակարգվում են 10 կատեգորիաների, որոնք սահմանվում են ելնելով աերոդրոմում շահագործվող օդանավերի հիմնամասի առավելագույն չափսերին (երկարություն, լայնություն) համապատասխան` համաձայն հետևյալ աղյուսակի`
| Աերոդրոմի կատեգորիան |
Շահագործվող օդանավերի | |
| Ընդհանուր երկարությունը | Հիմնամասի լայնությունը | |
| 1 | մինչև 9 մետր (9մ չներառած) | 2 մետր |
| 2 | 9 մետրից մինչև 12 մետր (12մ չներառած) | 2 մետր |
| 3 | 12 մետրից մինչև 18 մետր (18մ չներառած) | 3 մետր |
| 4 | 18 մետրից մինչև 24 մետր (24մ չներառած) | 4 մետր |
| 5 | 24 մետրից մինչև 28 մետր (28մ չներառած) | 4 մետր |
| 6 | 28 մետրից մինչև 39 մետր (39մ չներառած) | 5 մետր |
| 7 | 39 մետրից մինչև 49 մետր (49մ չներառած) | 5 մետր |
| 8 | 49 մետրից մինչև 61 մետր (61մ չներառած) | 7 մետր |
| 9 | 61 մետրից մինչև 76 մետր (76մ չներառած) | 7 մետր |
| 10 | 76 մետրից մինչև 90 մետր (90մ չներառած) | 8 մետր |
1) Եթե օդանավի հիմնամասի առավելագույն երկարությունը և լայնությունը չեն համապատասխանում սույն կետի աղյուսակում ներկայացված ցուցանիշերին` լայնությունը գերազանցում է սահմանված մեծությունը, աերոդրոմի կատեգորիան ընտրվում է մեկ աստիճան բարձր առավելագույն երկարությամբ ընտրված կատեգորիայի նկատմամբ:
132. Աերոդրոմը պետք է ապահովված լինի հիմնական և լրացուցիչ հրդեհաշիջման նյութերով:
1) Հիմնական հրդեհաշիջման նյութեր են համարվում`
ա. փրփուրը, որը պետք է համապատասխանի «A» որակի նվազագույն բնութագրերին,
բ. փրփուրը, որը պետք է համապատասխանի «B» որակի նվազագույն բնութագրերին,
գ. սույն կետի «ա» և «բ» ենթակետերում նշված նյութերի զուգակցումը:
1) Լրացուցիչ նյութեր են համարվում չոր փոշենման նյութերը, որոնք նախատեսված են ածխաջրածնային հրդեհների մարման համար:
133. Աերոդրոմի կատեգորիային համապատասխան սահմանվում են լրացուցիչ հրդեհաշիջման նյութերի և փրփրագոյացման համար անհրաժեշտ ջրի քանակները, որոնցով պետք է ապահովված լինեն աերոդրոմի վթարափրկարար և հրշեջ տրանսպորտային միջոցները և որոնց նվազագույն քանակները ներկայացված են հետևյալ աղյուսակում`
| Աերոդրոմի կատեգորիան |
«A» որակի փրփուր | «B» որակի փրփուր | Լրացուցիչ նյութ (կգ) | ||
| Ջուր (լ) | Փրփուրի ծախս (լ/ր) |
Ջուր (լ) | Փրփուրի ծախս (լ/ր) | ||
| 1 | 350 | 350 | 230 | 230 | 45 |
| 2 | 1000 | 800 | 670 | 550 | 90 |
| 3 | 1800 | 1300 | 1200 | 900 | 135 |
| 4 | 3600 | 2600 | 2400 | 1800 | 180 |
| 5 | 8100 | 4500 | 5400 | 3000 | 225 |
| 6 | 11800 | 6000 | 7900 | 4000 | 225 |
| 7 | 18200 | 7900 | 12100 | 5300 | 450 |
| 8 | 27300 | 10800 | 18200 | 7200 | 450 |
| 9 | 36400 | 13500 | 24300 | 9000 | 450 |
| 10 | 48200 | 16600 | 32300 | 11200 | 450 |
1) Առաջին և երկրորդ կատեգորիայի աերոդրոմներում թույլատրվում է լրացուցիչ հրդեհաշիջման նյութերի սահմանված քանակը փոխարինել 100% չափով ջրով:
2) Երրորդից բարձր կատեգորիայի աերոդրոմներում հրդեհաշիջման նյութերը թուլատրվում է փոխարինել ջրով` սահմանված քանակի մինչև 30% չափով:
3) Հրդեհաշիջման նյութերը ջրով փոխարինման դեպքերում պետք է ապահովվեն հետևյալ հարաբերակցությունները`
ա. 1կգ հրդեհաշիջման նյութը-1.0լ ջուր` «A» որակի փրփրագոյացման համար;
բ. 1կգ հրդեհաշիջման նյութը-0.66լ ջուր` «B» որակի փրփրագոյացման համար:
134. Աերոդրոմի վթարափրկարար և հրշեջ տրանսպորտային միջոցները պետք է ապահովված լինեն փրփրագոյացուցիչ խտանյութերով, որոնց քանակը պետք է համապատասխանի Կարգի 133-րդ կետի աղյուսակով սահմանված ջրի քանակի չափին, ինչպես նաև հիմնական և լրացուցիչ հրդեհաշեջ նյութերի պահուստային պաշարներով` սահմանված քանակների 200%-ի չափով:
135. Փրփուրի ծախսի չափաքանակները սահմանված են Կարգի 133-րդ կետի աղյուսակով:
136. Հրշեջ-փրկարարական հաշվարկները և տրանսպորտային միջոցներն Աերոդրոմ շահագործողի կողմից ապահովվում են վթարափրկարարական կայանով, որն աերոդրոմի տարածքում տեղադրվում է այնպես, որ թռիչքադաշտը լինի առավելագույն չափով տեսանելի և հրշեջ-փրկարարական հաշվարկների բացազատման ժամանակը վազքուղու յուրաքանչյուր վերջնագոտի եղանակի բարենպաստ պայմաններում (չոր, բավարար տեսանելիություն) չգերազանցի 3 րոպեն` առաջին հաշվարկի համար և 4 րոպեն` հաջորդ հաշվարկների համար:
1) Կարգի իմաստով բացազատման ժամանակ է համարվում առաջին կանչի պահից մինչև այն պահը, երբ հաշվարկի կողմից արդեն իսկ օգտագործվել է փրփուրի սահմանված ծախսի առնվազն 50%-ը:
2) Եթե մեկ վթարափրկարարական կայանով հնարավոր չէ ապահովել սույն կետի առաջին պարբերությունով սահմանված ժամանակահատվածները` աերոդրոմում պետք է նախատեսվեն լրացուցիչ վթարափրկարարական կայաններ:
137. Աերոդրոմներում անհրաժեշտ է նախատեսել վթարային մերձատար ճանապարհներ, որոնց ծածկույթը պետք է ապահովի առավել ծանր հրշեջ միջոցների շահագործումը:
1) Վազքուղուց 90մ սահմաններում վթարային մերձատար ճանապարհների ծածկույթի որակը պետք է բացառի վազքուղու աղտոտումը:
138. Վթարափրկարարական կայանը(ները), հրշեջ-փրկարարական հաշվարկները և տրանսպորտային միջոցները պետք է ապահովված լինեն կապի (հեռախոսային, ռադիո) և ազդարարման միջոցներով:
139. Աերոդրոմը պետք է ապահովված լինի հրշեջ-փրկարարական տրանսպորտային միջոցների հետևյալ նվազագույն քանակներով`
ա. 1-ից - 5 կատեգորիաների վազքուղիների համար` 1 հատ,
բ. 6-րդ և 7-րդ կատեգորիաների վազքուղիների համար` 2 հատ,
գ. 8-ից-10 կատեգորիաների վազքուղիների համար` 3 հատ:
|
Հավելված 1 |
Հայաստանի Հանրապետության
կառավարությանն առընթեր
քաղաքացիական ավիացիայի
գլխավոր վարչության պետ
|
______________________ |
Հ Ա Յ Տ
Խնդրում եմ ___________________________________________ սեփականության
(օդանավակայանի /աերոդրոմի/ սեփականատիրոջ անվանումը)
իրավունքով պատկանող ___________________________________ աերոդրոմին տալ
(օդանավակայանի /աերոդրոմի/ անվանումը)
«ԱԵՐՈԴՐՈՄԻ ՍԵՐՏԻՖԻԿԱՏ»:
Սահմանված կարգի համաձայն կից ներկայացվում են հետևյալ փաստաթղթերը`
1.______________________________
2.______________________________
3.______________________________
|
_____________________ |
_______________ | |
|
(ղեկավարի ստորագրությունը) |
(ղեկավարի Ա.Ա.) |
Հայտը տպագրվում է Աերոդրոմը
շահագործողի ձևաթղթի վրա
|
Հավելված 2 |
Պ Ա Ր Տ Ա Վ Ո Ր ԱԳ Ի Ր
Սույնով հաստատում եմ, որ____________________________ աերոդրոմի և այնտեղ
(օդանավակայանի /աերոդրոմի/ անվանումը)
տեղադրված ու շահագործվող համակարգերի ցուցանիշները համապատասխանում են միջազգային ստանդարտներով սահմանված չափանիշներին և
ՊԱՐՏԱՎՈՐՎՈՒՄ ԵՄ`
1. Աերոդրոմը և այնտեղ տեղադրված ու շահագործվող համակարգերը պահպանել և շահագործել միջազգային ստանդարտներով սահմանված և «Աերոդրոմի ձեռնարկում» ներկայացված չափանիշների համաձայն:
2. Ապահովել աերոդրոմի և այնտեղ տեղադրված ու շահագործվող համակարգերի փաստացի և աերոնավիգացիոն տեղեկագրում հրապարակված ցուցանիշների համապատասխանությունը:
3. Աերոդրոմի և այնտեղ տեղադրված ու շահագործվող համակարգերի փաստացի ցուցանիշների և միջազգային ստանդարտներով սահմանված ու «Աերոդրոմի ձեռնարկում» ներկայացված չափանիշների միջև անհամապատասխանության դեպքում, թռիչքների անվտանգությունն ապահովելու նպատակով կիրառել անհրաժեշտ սահմանափակումներ և այդ մասին տեղեկացնել Հայաստանի Հանրապետության կառավարությանն առընթեր քաղաքացիական ավիացիայի գլխավոր վարչությանը:
|
Կ.Տ. |
_______________________________ _______________________________ _______________________________ |
|
Հավելված 3 |
|
Հավելված 4 |
Հայաստանի Հանրապետության
կառավարությանն առընթեր
քաղաքացիական ավիացիայի
գլխավոր վարչության պետ
|
______________________ |
Հ Ա Յ Տ
Խնդրում եմ ___________________________________________ սեփականության
(օդանավակայանի /աերոդրոմի/ սեփականատիրոջ անվանումը)
իրավունքով պատկանող ___________________________________ աերոդրոմին տալ
(օդանավակայանի /աերոդրոմի/ անվանումը)
միջազգային ստանդարտներով սահմանված__________________________ կարգախումբ:
(կարգախմբի աստիճանը)
Սահմանված կարգի համաձայն կից ներկայացվում են հետևյալ փաստաթղթերը`
1.______________________________
2.______________________________
3.______________________________
|
_____________________ |
_______________ | |
|
(ղեկավարի ստորագրությունը) |
(ղեկավարի Ա.Ա.) |
Հայտը տպագրվում է Աերոդրոմը
շահագործողի ձևաթղթի վրա