ԵՎՐԱՍԻԱԿԱՆ ՏՆՏԵՍԱԿԱՆ ՀԱՆՁՆԱԺՈՂՈՎ
ԿՈԼԵԳԻԱ
Ո Ր Ո Շ ՈՒ Մ
|
7 սեպտեմբերի 2018 թվականի |
թիվ 151 |
քաղ. Մոսկվա |
Դեղապատրաստուկի որակի վերաբերյալ նորմատիվ փաստաթուղթ կազմելու մասին ուղեցույցի հաստատման մասին
«Եվրասիական տնտեսական միության մասին» 2014 թվականի մայիսի 29-ի պայմանագրի 30-րդ հոդվածին և «Եվրասիական տնտեսական միության շրջանակներում դեղամիջոցների շրջանառության միասնական սկզբունքների և կանոնների մասին» 2014 թվականի դեկտեմբերի 23-ի համաձայնագրի 4-րդ և 13-րդ հոդվածներին համապատասխան՝ Եվրասիական տնտեսական հանձնաժողովի կոլեգիան որոշեց.
1. Հաստատել կից ներկայացվող՝ Դեղապատրաստուկի որակի վերաբերյալ նորմատիվ փաստաթուղթ կազմելու մասին ուղեցույցը։
2. Սույն որոշումն ուժի մեջ է մտնում դրա պաշտոնական հրապարակման օրվանից 6 ամիսը լրանալուց հետո։
|
Եվրասիական տնտեսական հանձնաժողովի կոլեգիայի նախագահ՝ |
Տ. Սարգսյան |
|
ՀԱՍՏԱՏՎԱԾ Է Եվրասիական տնտեսական հանձնաժողովի կոլեգիայի 2018 թվականի սեպտեմբերի 7-ի թիվ 151 որոշմամբ |
ՈՒՂԵՑՈՒՅՑ
դեղապատրաստուկի որակի վերաբերյալ նորմատիվ փաստաթուղթ կազմելու մասին
I. Ընդհանուր դրույթները
1. Սույն ուղեցույցը մշակվել է՝ հաշվի առնելով Եվրասիական տնտեսական հանձնաժողովի խորհրդի 2016 թվականի նոյեմբերի 3-ի թիվ 78 որոշմամբ հաստատված՝ Բժշկական կիրառության դեղամիջոցների գրանցման և փորձաքննության կանոնների թիվ 3 հավելվածը, և դրանով սահմանվում է դեղապատրաստուկի որակի վերաբերյալ նորմատիվ փաստաթուղթ կազմելու կարգը (այսուհետ՝ որակի վերաբերյալ նորմատիվ փաստաթուղթ)։
2. Սույն ուղեցույցը տարածվում է դեղապատրաստուկների վրա՝ անկախ դրանց ծագումից (քիմիական, կենսաբանական, բուսական և այլն)։
3. Որակի վերաբերյալ նորմատիվ փաստաթղթով սահմանվում են դեղապատրաստուկի որակի հսկողությանը ներկայացվող պահանջները (այն պարունակում է փորձարկումների մեթոդիկաների մասնագիրը և նկարագրությունը կամ դրանց կատարվող հղումները, ինչպես նաև որակի ցուցանիշների ընդունելիության համապատասխան չափորոշիչները և այլն)՝ դեղապատրաստուկի անցկացված փորձաքննության հիման վրա, այդ նորմատիվ փաստաթուղթը հաստատվում է Եվրասիական տնտեսական միության անդամ պետության (այսուհետ համապատասխանաբար՝ Միություն, անդամ պետություն) լիազորված մարմնի կողմից դեղապատրաստուկի գրանցման դեպքում և նախատեսված է հետգրանցումային շրջանում անդամ պետությունների տարածքներում դեղապատրաստուկի որակի հսկողության համար։
4. Որակի վերաբերյալ նորմատիվ փաստաթուղթը կազմվում է բացառապես դեղապատրաստուկի առնչությամբ։ Ակտիվ դեղագործական բաղադրամասի առնչությամբ որակի վերաբերյալ նորմատիվ փաստաթուղթ կազմել չի պահանջվում։
5. Որակի վերաբերյալ նորմատիվ փաստաթուղթը պարունակում է դեղապատրաստուկի որակի մասին տեղեկություններ, որոնք ներառված են դեղապատրաստուկի գրանցման դոսյեի մոդուլ 3-ի 3.2.Р.1, 3.2.Р.5.1, 3.2.Р.5.2, 3.2.Р.7 և 3.2.Р.8.1 բաժիններում (Կանոնների թիվ 4 հավելված) և անդամ պետությունների՝ մոդուլ 3-ին հասանելիություն չունեցող հսկիչ լաբորատորիաների կողմից օգտագործվում են դեղապատրաստուկների որակի հսկողությունն իրականացնելու համար։ Դեղապատրաստուկի գրանցման դոսյեի մոդուլ 3-ում պարունակվող տեղեկություններն առաջնահերթ նշանակություն ունեն։ Որակի վերաբերյալ նորմատիվ փաստաթղթում պարունակվող տեղեկությունները չեն կարող հակասել դեղապատրաստուկի գրանցման դոսյեի մոդուլ 3-ում պարունակվող տեղեկություններին։
6. Որակի վերաբերյալ նորմատիվ փաստաթուղթը կազմվում է՝ հաշվի առնելով Կանոնների թիվ 3 հավելվածով նախատեսված ցուցումները։
7. Քիմիական սինթեզի ճանապարհով ստացված ակտիվ դեղագործական բաղադրամասերի և դրանք պարունակող դեղապատրաստուկների մասնագրերը կազմվում են թիվ 1 հավելվածի պահանջներին համապատասխան։
8. Սույն ուղեցույցը կիրառվում է հետևյալ դեղաձևերի առնչությամբ.
ներքին ընդունման համար պինդ դեղաձևեր
ներքին ընդունման համար հեղուկ դեղաձևեր
պարենտերալ դեղաձևեր (մեծ և փոքր ծավալների)։
Նշված դեղաձևերի առնչությամբ որակի վերաբերյալ նորմատիվ փաստաթուղթը և մասնագրերը կազմելու կարգը կարող են կիրառվել այլ դեղաձևերի համար։
9. Կենսաբանական ծագման ակտիվ դեղագործական բաղադրամասերի և դեղապատրաստուկների մասնագրերը կազմելուն ներկայացվող ընդհանուր պահանջները սահմանված են Եվրասիական տնտեսական հանձնաժողովի խորհրդի 2016 թվականի նոյեմբերի 3-ի թիվ 89 որոշմամբ հաստատված՝ Եվրասիական տնտեսական միության կենսաբանական դեղամիջոցների հետազոտությունների անցկացման կանոնների 6-րդ գլխում։
10. Դեղաբուսական պատրաստուկների մասնագրերը կազմելուն ներկայացվող ընդհանուր պահանջները սահմանվում են Եվրասիական տնտեսական հանձնաժողովի կողմից հաստատվող՝ դեղաբուսական հումքից պատրաստուկների մասնագրերը կազմելու համար ընդունելիության չափորոշիչների և թեստերի ընտրության մասին ուղեցույցում։
11. Առանձին տեսակների դեղապատրաստուկների և դրանց կազմի մեջ մտնող ակտիվ դեղագործական բաղադրամասերի մասնագրերը կազմելուն ներկայացվող պահանջները, կախված դրանց դեղաձևից կամ ազդող նյութի հատկություններից, որոշվում են Միության իրավունքի մաս կազմող համապատասխան ակտերով։
12. Սույն ուղեցույցի 8-10-րդ կետերում նշված դեղապատրաստուկների, ինչպես նաև ռադիոդեղագործական պատրաստուկների առնչությամբ սույն ուղեցույցը պարունակում է բացառապես որակի վերաբերյալ նորմատիվ փաստաթղթի ձևակերպմանը ներկայացվող պահանջները։
II. Որակի վերաբերյալ նորմատիվ փաստաթղթի կառուցվածքը
13. Որակի վերաբերյալ նորմատիվ փաստաթղթի կառուցվածքը պետք է համապատասխանի Կանոնների թիվ 3 հավելվածին և պարունակի 8 բաժին՝ հետևյալ կարգով
ա) տիտղոսաթերթը՝ ըստ թիվ 2 հավելվածի ձևի,
բ) դեղապատրաստուկի կազմը,
գ) մասնագիրը,
դ) փորձարկումների մեթոդիկաների նկարագիրը,
ե) փաթեթվածքի նկարագիրը,
զ) մականշվածքը,
է) պահպանման պայմանները,
ը) պիտանիության (պահպանման) ժամկետը։
14. Որակի ցուցանիշները և կանոնակարգվող նորմերը ներկայացվում են պիտանիության (պահպանման) ժամկետի ավարտին՝ արտադրողի մասնագրի համաձայն։ Պիտանիության (պահպանման) ժամկետի ավարտին թողարկման մասնագրերում որակի միևնույն ցուցանիշի առկայության դեպքում այդ ցուցանիշի համար կանոնակարգվող նորմերը ներկայացվում են որակի վերաբերյալ նորմատիվ փաստաթղթում պիտանիության (պահպանման) ժամկետի ավարտին՝ արտադրողի մասնագրի համաձայն։
1. Տիտղոսաթերթը
15. Որակի վերաբերյալ նորմատիվ փաստաթղթի տիտղոսաթերթի ձևում նշվում են՝
ա) անդամ պետության լիազորված մարմնի կողմից համաձայնեցված և գրանցման հավաստագրում ներառված դեղապատրաստուկի առևտրային բոլոր անվանումները և դեղաձևը՝ Եվրասիական տնտեսական հանձնաժողովի կոլեգիայի 2015 թվականի դեկտեմբերի 22-ի թիվ 172 որոշմամբ հաստատված Դեղաձևերի անվանացանկին համապատասխան
բ) դեղաչափը՝ Եվրասիական տնտեսական հանձնաժողովի խորհրդի 2016 թվականի նոյեմբերի 3-ի թիվ 88 որոշմամբ հաստատված՝ Դեղապատրաստուկների բժշկական կիրառության ցուցումներին և բժշկական կիրառության համար նախատեսված դեղապատրաստուկների ընդհանուր բնութագրին ներկայացվող պահանջներում (այսուհետ՝ ցուցումներին ներկայացվող պահանջներ) նշված սկզբունքներին համապատասխան
գ) գրանցման հավաստագրի իրավատիրոջ լրիվ և (կամ) կրճատ անվանումը և երկիրը։
16. Անհրաժեշտ է նախատեսել հատուկ դաշտեր՝ որակի վերաբերյալ նորմատիվ փաստաթղթի համարը և համաձայնեցման գրիֆը նշելու համար։ Որակի վերաբերյալ նորմատիվ փաստաթղթի համարը նշելուն ներկայացվող պահանջները ներկայացվում են Կանոնների թիվ 3 հավելվածում։ Չի թույլատրվում որակի վերաբերյալ նորմատիվ փաստաթղթում թվարկել դեղապատրաստուկի արտադրության գործընթացի մասնակիցներին։
2. Դեղապատրաստուկի կազմը
17. Դեղապատրաստուկի կազմը ներկայացվում է դեղապատրաստուկի գրանցման դոսյեի մոդուլ 3-ի 3.2.Р.1 բաժնին համապատասխան (առանց նշելու օժանդակ նյութերի գործառութային նշանակությունը)՝ որակի վերաբերյալ նորմատիվ փաստաթղթի առանձին բաժնում, ակտիվ դեղագործական բաղադրամասերի և օժանդակ նյութերի որակական և քանակական կազմը նշելու միջոցով (նշելով Միության դեղագրքին կատարվող, իսկ դրանում առկա չլինելու դեպքում՝ անդամ պետությունների դեղագրքերին կամ դրանց որակը կանոնակարգող նորմատիվ փաստաթղթերին կատարվող հղումները)։
18. Դեղապատրաստուկի գրանցման դոսյեի մոդուլ 3-ի 3.2.Р.1 բաժնի շարադրման կարգը ներկայացված է Կանոնների թիվ 1 հավելվածում։
3. Մասնագիրը
19. Մասնագիրը պետք է լինի դեղապատրաստուկի գրանցման դոսյեի մոդուլ 3-ի 3.2.Р.5.1 բաժնում պարունակվող փաստաթղթի կրկնօրինակը։ Մասնագիրը ներկայացվում է աղյուսակի տեսքով, որը բաղկացած է 3 սյունակից՝
ա) որակի ցուցանիշները,
բ) նորմաները (թույլատրելի սահմանաչափերը),
գ) փորձարկումների մեթոդներին կատարվող հղումները։
20. Որակի ցուցանիշները սահմանվում են Միության դեղագրքի ընդհանուր դեղագրքային հոդվածների (մենագրությունների) պահանջներին, իսկ դրանում առկա չլինելու դեպքում՝ անդամ պետությունների դեղագրքերի ընդհանուր դեղագրքային հոդվածների (մենագրությունների) պահանջներին համապատասխան՝ հաշվի առնելով դեղապատրաստուկի կոնկրետ դեղաձևի առանձնահատկությունները՝ կախված ակտիվ դեղագործական բաղադրամասի ֆիզիկաքիմիական (կենսաբանական) հատկություններից և սույն ուղեցույցին համապատասխան։
21. Որակի ցուցանիշների անվանումները մասնագրում նշվում են Միության դեղագրքին, իսկ դրանում առկա չլինելու դեպքում՝ ռեֆերենտ պետության դեղագրքին համապատասխան։
4. Փորձարկումների մեթոդիկաների նկարագիրը
22. Մասնագրում նշված որակի բոլոր ցուցանիշների մասով դեղապատրաստուկի փորձարկումների մեթոդիկաների նկարագիրը՝ Միության դեղագրքին կատարվող, իսկ դրանում առկա չլինելու դեպքում՝ անդամ պետությունների դեղագրքերին կատարվող հղումներով, ներկայացվում է դեղապատրաստուկի գրանցման դոսյեի մոդուլ 3-ի 3.2.Р.5.2 բաժնին համապատասխան։
5. Փաթեթվածքի նկարագիրը
23. Որակի վերաբերյալ նորմատիվ փաստաթղթի 5-րդ բաժնում անհրաժեշտ է նկարագրել՝
ա) առաջնային փաթեթվածքը (սրվակիկներ, սրվակներ, բանկաներ, փաթեթներ և այլն)
բ) առաջնային փաթեթվածքում արտադրանքի միավորների քանակը (օրինակ՝ եզրագծային բջջային կամ ոչ բջջային փաթեթվածքի մեջ հաբերի քանակը)
գ) միջանկյալ, երկրորդային (սպառողական) փաթեթվածքը և դրա մեջ առաջնային փաթեթվածքների քանակը (օրինակ՝ երկրորդային փաթեթվածքում եզրագծային բջջային փաթեթվածքների քանակը)
դ) խոնավության կլանիչի, թերթիկ-ներդիրի (բժշկական կիրառության ցուցումների) առկայությունը, լրակազմությունը (ասեղ, կաթոցիչ, սեղմակ և այլն) և դեղապատրաստուկի գրանցման դոսյեի մոդուլ 3-ի 3.2.Р.1 բաժնին համապատասխան այլ տեղեկություններ։ Բացի այդ, փաթեթվածքի բնույթի և պարունակության նկարագրին ներկայացվող պահանջները սահմանված են ցուցումներին ներկայացվող պահանջների 65 բաժնում։ Փաթեթվածքի բնութագիրը չի պահանջվում ներկայացնել, սակայն եթե այդ տեղեկությունները պարտադիր են, դրանք չպետք է հակասեն դեղապատրաստուկի գրանցման դոսյեի մոդուլ 3-ի 3.2.Р.7 բաժնին։
6. Մականշվածքը
24. Որակի վերաբերյալ նորմատիվ փաստաթղթի 6-րդ բաժնում անհրաժեշտ է նշել դեղապատրաստուկի գրանցման դոսյեի մոդուլ 1-ի 1.3.2 բաժնին կատարվող հղումը։
7. Պահպանման պայմանները
25. Պահպանման պայմանների մասին տեղեկությունները չպետք է հակասեն դեղապատրաստուկի գրանցման դոսյեի մոդուլ 3-ի 3.2.Р.8 բաժնում պարունակվող տեղեկություններին։
26. Պահպանման պայմանների նկարագրին ներկայացվող ընդհանուր պահանջները ներկայացվում են ցուցումներին ներկայացվող պահանջների թիվ 6 հավելվածում։
8. Պիտանիության (պահպանման) ժամկետը
27. Որակի վերաբերյալ նորմատիվ փաստաթղթի 8-րդ բաժնում ներառվող տեղեկությունները չպետք է հակասեն դեղապատրաստուկի գրանցման դոսյեի մոդուլ 3-ի 3.2.Р.8 բաժնում պարունակվող տեղեկություններին։ Պիտանիության (պահպանման) ժամկետները նշելուն ներկայացվող ընդհանուր պահանջները ներկայացված են ցուցումներին ներկայացվող պահանջների 63 բաժնում։
III. Որակի վերաբերյալ նորմատիվ փաստաթղթի ձևակերպումը
28. Որակի վերաբերյալ նորմատիվ փաստաթղթի տեքստը պետք է լինի համառոտ, առանց կրկնությունների և բացառի երկակի մեկնաբանության հնարավորությունը։ Տեքստում, նկարների և սխեմաների անվանումներում բառերի հապավում չի թույլատրվում, բացառություն են կազմում մասնագրում պարունակվող և Միության դեղագրքով սահմանված, իսկ դրանում առկա չլինելու դեպքում՝ անդամ պետությունների դեղագրքերով սահմանված հապավումները։
29. Դեղապատրաստուկի որակին ներկայացվող պահանջները շարադրվում են հրամայական ձևով, իսկ փորձարկումների մեթոդիկաները՝ հոգնակի թվի երրորդ դեմքով։
30. Եթե որակի վերաբերյալ նորմատիվ փաստաթղթում նշված փորձարկման մեթոդիկան, որակի ցուցանիշներին ներկայացվող պահանջները, դրանց նորմաները և դրանցից շեղումները սահմանված են Միության դեղագրքով, իսկ դրանում առկա չլինելու դեպքում՝ անդամ պետությունների դեղագրքերում, հարկավոր է նշել աղբյուրին կատարվող հղումը՝ առանց փորձարկման մեթոդիկան նկարագրելու։ Երրորդ պետությունների դեղագրքերով սահմանված՝ որակի ցուցանիշները և պահանջները նշելու դեպքում հարկավոր է ներկայացնել օգտագործվող փորձարկման մեթոդիկաների նկարագիրը՝ աղբյուրին կատարվող հղումով։
31. Եզրույթները, նշագրումները և սահմանումները պետք է համապատասխանեն Միության դեղագրքին, իսկ դրանում առկա չլինելու դեպքում՝ անդամ պետությունների դեղագրքերին։ Դեղամիջոցների շրջանառության ոլորտում Միության մարմինների ակտերով (այդ թվում՝ Միության դեղագրքով) կամ անդամ պետությունների դեղագրքերով չսահմանված և համընդհանուր ճանաչում չունեցող եզրույթներ և նշագրումներ օգտագործելու դեպքում հարկավոր է տեքստում ներկայացնել դրանց սահմանումները։
32. Տեքստում չի թույլատրվում՝
ա) խոսակցական լեզվի դարձվածների կիրառումը
բ) միևնույն հասկացության համար իմաստով մոտ տարբեր եզրույթների (հոմանիշների), ինչպես նաև օտար բառերի և եզրույթների կիրառումը՝ ռուսերենում համանշանակ բառերի և եզրույթների առկայության դեպքում
գ) չափման միավորների նշագրումների կրճատումը, եթե դրանք կիրառվում են առանց թվերի
դ) բառերը տառային նշագրումներով փոխարինելը (բացառությամբ աղյուսակների և բանաձևերի)
ե) մաթեմատիկական նշանների կիրառումը՝ առանց թվերի։
33. Կիրառվող ռեակտիվներին, ստանդարտ լուծույթներին, բուֆերային լուծույթներին և նյութերին առնչվող վերլուծական մեթոդիկաները նկարագրելու դեպքում անհրաժեշտ է նշել ստանդարտների նշագրումները կամ տեխնիկական պայմանները, ինչպես նաև իրավաբանական անձ հանդիսացող արտադրողի լրիվ և (կամ) կրճատ անվանումը։ Միության դեղագրքում կամ անդամ պետությունների դեղագրքերում փորձարկումների ժամանակ կիրառվող ռեակտիվների, ստանդարտ լուծույթների, բուֆերային լուծույթների և նյութերի նկարագրի առկայության դեպքում դրանց անվանումներն առանձնացվում են շեղագրով, և դրանցից հետո նշվում է «Р» նշագիրը։ Միության դեղագրքում կամ անդամ պետությունների դեղագրքերում կիրառվող ռեակտիվների, ստանդարտ լուծույթների, բուֆերային լուծույթների և նյութերի նկարագրի բացակայության դեպքում անհրաժեշտ է նշել ստանդարտների նշագրերը կամ դրանք կանոնակարգող տեխնիկական պայմանները, ինչպես նաև իրավաբանական անձ հանդիսացող արտադրողի անվանումը։ Շեղագրով առանձնացվում են նաև Միության դեղագրքում կամ անդամ պետությունների դեղագրքերում նկարագրված տիտրված լուծույթների անվանումները՝ առանց «Р» նշագիրը նշելու։ Օգտագործվող չափանոթի համար նշվում է դրա տարողությունը։
34. Հաշվարկի բանաձևերը պետք է ներկայացվեն մանրամասն ու կրճատ ձևերով և ուղեկցվեն դրանց մեջ նշված ֆիզիկական մեծությունների բացատրությամբ։ Ֆիզիկական մեծությունների նշագրումները պետք է ներկայացվեն Միության դեղագրքի պահանջներին համապատասխան, իսկ դրանում առկա չլինելու դեպքում՝ անդամ պետությունների դեղագրքերի պահանջներին համապատասխան։ Հաշվարկի բանաձևի մի մասը մյուս տող փոխադրել չի թույլատրվում։
35. Որակի վերաբերյալ նորմատիվ փաստաթղթում նշված ֆիզիկական մեծությունների չափման համար կիրառվում են Միավորների միջազգային համակարգով (ՍԻ) նախատեսված չափման միավորները և դրանց հավասար օգտագործվող չափման միավորները։
36. Որակի վերաբերյալ նորմատիվ փաստաթղթի տեքստը ձևակերպվում է՝ հաշվի առնելով կարգաբերման հետևյալ պարամետրերը՝
դաշտերի չափսերը ձախ դաշտը՝ 30 մմ, աջ դաշտը՝ 15 մմ, վերևի և ներքևի դաշտերը՝ 20 մմ,
պարբերության տողագլուխը՝ 12,5 մմ,
տառատեսակը՝ Times New Roman՝ 14 տառաչափի (որակի վերաբերյալ նորմատիվ փաստաթղթի համարի համար՝ 16)։
Դեղապատրաստուկի վերնագրերը և անվանումներն սկսվում են մեծատառով և առանձնացվում են կիսաթավ տառատեսակով։
Հիմնական տեքստը տպվում է 1,5 միջտողային միջակայքով, տեքստը մասնագրում և ծանոթագրություններում՝ 1 միջտողային միջակայքով, տեքստը վերնագրերում և որակական ու քանակական կազմի նկարագրում՝ 1 միջտողային միջակայքով (տարբեր անվանումներ նշելու դեպքում՝ 1,5 միջտողային միջակայքով)։
37. Որակի վերաբերյալ նորմատիվ փաստաթղթի էջերը պետք է լինեն համարակալված։ Ընդ որում, առաջին էջի վրա համար չի դրվում։
38. Նկարները, սխեմաները, դիագրամները, գծագրերը, տարրապատկերները և քրոմատագրերը կարող են լինել որակի վերաբերյալ նորմատիվ փաստաթղթի տեքստում կամ առանձին էջերում։
|
ՀԱՎԵԼՎԱԾ ԹԻՎ 1 Դեղապատրաստուկի որակի վերաբերյալ նորմատիվ փաստաթուղթ կազմելու մասին ուղեցույցի |
ՊԱՀԱՆՋՆԵՐ
մասնագրեր կազմելուն ներկայացվող քիմիական սինթեզի ճանապարհով ստացված դեղագործական բաղադրամասերի և դրանք պարունակող դեղապատրաստուկների վերլուծական մեթոդիկաների և ընդունելիության չափորոշիչների
I. Ընդհանուր բնութագիրը
1. Սույն պահանջները պարունակում են ակտիվ դեղագործական բաղադրամասերի (ազդող նյութերի) և (կամ) դեղապատրաստուկների մասնագրերի միասնական համալիրի մշակման նկատմամբ մոտեցումների նկարագիրը, այդ թվում՝ քիմիական սինթեզի ճանապարհով ստացված ակտիվ դեղագործական բաղադրամասերի և դրանք պարունակող դեղապատրաստուկների ընդունելիության չափորոշիչների (թույլատրելի նորմերի) մշակմանն ու հիմնավորմանը և վերլուծական մեթոդիկաների ընտրությանն առնչվող առաջարկությունները։
2. Մասնագրով սահմանվում է այն չափորոշիչների ամբողջությունը, որոնց պետք է համապատասխանեն ակտիվ դեղագործական բաղադրամասերը և (կամ) դեղապատրաստուկները, որպեսզի համարվեն իրենց նպատակային նշանակության համար պիտանի։ Համապատասխանությունը մասնագրին նշանակում է, որ ակտիվ դեղագործական բաղադրամասը և (կամ) դեղապատրաստուկը համապատասխանում են ընդունելիության ներկայացված չափորոշիչներին՝ պայմանով, որ փորձարկումներն անցկացվել են դրա մեջ նշված վերլուծական մեթոդիկաների համաձայն։ Մասնագրերը որակի այն առանցքային չափանիշներն են, որոնք առաջարկում և հիմնավորում է արտադրողը և հաստատում է Եվրասիական տնտեսական միության անդամ պետության (այսուհետ համապատասխանաբար՝ Միություն, անդամ պետություններ) լիազորված մարմինը՝ դեղապատրաստուկի գրանցման ժամանակ։
Մասնագրերն ակտիվ դեղագործական բաղադրամասերի և (կամ) դեղապատրաստուկների հսկողության այն ընդհանուր ռազմավարության տարրերից են, որը մշակվել է դրանց որակը և բնութագրերի մշտականությունն ապահովելու նպատակով։ Այդ ռազմավարության մյուս տարրերը ներառում են դեղապատրաստուկի մշակման գործընթացում ակտիվ դեղագործական բաղադրամասերի, միջանկյալ արտադրանքի և (կամ) դեղապատրաստուկների (այսուհետ՝ արդյունքներ) բոլոր բնութագրերի մանրակրկիտ սահմանումը, ինչպես նաև Եվրասիական տնտեսական հանձնաժողովի խորհրդի 2016 թվականի նոյեմբերի 3-ի թիվ 77 որոշմամբ հաստատված՝ Եվրասիական տնտեսական միության պատշաճ արտադրական գործելակերպի կանոնների (այսուհետ՝ պատշաճ արտադրական գործելակերպի կանոններ) խստագույն պահպանումը, օրինակ՝ համապատասխան տարածքները և սարքավորումները, դեղապատրաստուկի արտադրության վալիդացված գործընթացը, վալիդացված վերլուծական մեթոդիկաները, ելանյութերի և հումքի փորձարկումը, ներարտադրական փորձարկումները, կայունության փորձարկումը և այլն։ Մասնագրերը նախատեսված են ակտիվ դեղագործական բաղադրամասի և դեղապատրաստուկի որակի հավաստման համար։ Դրանց նպատակը բնութագրերի ամբողջական սահմանումը չէ, և հետևաբար դրանք պետք է հիմնվեն այն բնութագրերի վրա, որոնց առնչությամբ հաստատվել է ակտիվ դեղագործական բաղադրամասի և դեղապատրաստուկի անվտանգության ու արդյունավետության ապահովման համար պիտանիությունը։
II. Կիրառության ոլորտը
3. Ակտիվ դեղագործական բաղադրամասերի և (կամ) դեղապատրաստուկների որակը որոշվում է մշակման մակարդակով, ներարտադրական հսկողությամբ, պատշաճ արտադրական գործելակերպի կանոնների պահպանման նկատմամբ հսկողությամբ, արտադրության գործընթացի վալիդացմամբ, ինչպես նաև մշակման և արտադրության գործընթացում դրանց համար կիրառվող մասնագրերով։ Սույն պահանջներում սահմանվում են այն պահանջները, որոնք ներկայացվում են մասնագրին, այսինքն՝ այն փորձարկումներին, մեթոդիկաներին և ընդունելիության չափորոշիչներին, որոնք ապահովում են ակտիվ դեղագործական բաղադրամասի և դեղապատրաստուկի որակը թողարկման պահին և պիտանիության (պահպանման) ժամկետի ողջ ընթացքում։ Մասնագրերն ակտիվ դեղագործական բաղադրամասերի և դեղապատրաստուկների որակի ապահովման կարևոր, սակայն ոչ միակ բաղադրիչն են։
4. Սույն պահանջները կիրառվում են գրանցման փուլում գտնվող դեղապատրաստուկների (այդ թվում՝ դրանց կազմի մեջ մտնող ակտիվ դեղագործական բաղադրամասերի) առնչությամբ։ Սույն պահանջներում չեն դիտարկվում կլինիկական մշակման փուլում գտնվող ակտիվ դեղագործական բաղադրամասերը և (կամ) դեղապատրաստուկները։
Սույն պահանջները կարող են կիրառվել սինթետիկ և կիսասինթետիկ հակաբիոտիկների և ցածրամոլեկուլյար սինթետիկ պեպտիդների առնչությամբ, սակայն սույն պահանջների դրույթները բավարար չեն բարձրամոլեկուլյար պեպտիդների և պոլիպեպտիդների, ինչպես նաև կենսատեխնոլոգիական (կենսաբանական) պատրաստուկների մասնագրերի պատշաճ նկարագրության համար։
Ռադիոդեղագործական պատրաստուկները, ֆերմենտացման արդյունքները, օլիգոնուկլեոտիդները, բուսական պատրաստուկները և կենդանական ու բուսական ծագման չմշակված պատրաստուկները սույն պահանջներում չեն դիտարկվում։
5. Սույն պահանջներում ներկայացվում են առաջարկություններ ընդունելիության այն չափորոշիչների վերաբերյալ, որոնք անհրաժեշտ է մշակել բոլոր ակտիվ դեղագործական բաղադրամասերի և (կամ) դեղապատրաստուկների համար, այսինքն՝ ընդունելիության համընդհանուր չափորոշիչների, ինչպես նաև առանձին ակտիվ դեղագործական բաղադրամասերի և (կամ) դեղապատրաստուկների համար նախատեսված ընդունելիության հատուկ չափորոշիչների վերաբերյալ։ Սույն պահանջները հարկավոր է դիտարկել որպես մասնագրեր կազմելու և ընդունելիության չափորոշիչներ ընտրելու մասին հիմնական ուղեցույց։ Ընդ որում, նոր վերլուծական տեխնոլոգիաների ի հայտ գալու և գոյություն ունեցող տեխնոլոգիաները ձևափոխելու պարագայում բավարար հիմնավորման դեպքում հարկավոր է նաև օգտագործել դրանց տվյալները։
6. Սույն պահանջներում դիտարկվում են հետևյալ դեղաձևերը.
ներքին ընդունման համար պինդ դեղաձևեր
ներքին ընդունման համար հեղուկ դեղաձևեր
պարենտերալ դեղաձևեր (մեծ և փոքր ծավալների)։
7. Սույն պահանջների 6-րդ կետում նշված դեղաձևերը ծառայում են որպես այնպիսի մոդելներ, որոնք կարող են կիրառելի լինել այլ դեղաձևերի համար։ Այլ դեղաձևերի (օրինակ՝ ինհալացիոն (փոշիներ, լուծույթներ և այլն), տեղային կիրառության համար դեղաձևերի (կրեմներ, քսուքներ, նրբաքսուքներ) և տրանսդերմալ դեղաձևերի) մասնագրեր կազմելու դեպքում նպատակահարմար է դիմել սույն պահանջներում կիրառվող հայեցակետերի ընդլայնմանը։
8. Սույն պահանջներում ներկայացված է յուրաքանչյուր հայեցակետի համառոտ նկարագիրը, և նշված են այն հանգամանքները, որոնց դեպքում դրանք կարող են կիրառելի լինել։ Որպես կանոն, այդ հայեցակետերի կիրառության վերաբերյալ առաջարկները պետք է հիմնավորվեն հայտատուի կողմից և նախքան թողարկումը համաձայնեցվեն անդամ պետության լիազորված մարմնի հետ։
III. Սահմանումները
9. Սույն պահանջների նպատակներով գործածվում են հասկացություններ, որոնք ունեն հետևյալ իմաստը.
«արագ լուծվող դեղապատրաստուկներ»՝ արագ կապազերծմամբ ներքին ընդունման համար պինդ դեղապատրաստուկը համարվում է արագ լուծվող, եթե դեղագործական բաղադրամասի հայտագրված պարունակության առնվազն 80 %-ը լուծվում է 15 րոպեի ընթացքում հետևյալ միջավայրերից յուրաքանչյուրում՝ pH 1,2, 4,0 և 6,8 դեպքում
«ներարտադրական փորձարկումներ»՝ փորձարկումներ, որոնք անցկացվում են դեղագործական բաղադրամասի և (կամ) դեղապատրաստուկի արտադրության գործընթացում, այլ ոչ թե շրջանառության մեջ բացթողումից առաջ անցկացվող փորձարկումների համալիրի շրջանակներում
«համակցված պատրաստուկ»՝ մեկից ավելի դեղագործական բաղադրամաս պարունակող դեղապատրաստուկ
«արագ կապազերծում»՝ աղեստամոքսային պարունակության մեջ դեղապատրաստուկի լուծվելու գործընթաց՝ առանց դրա լուծվելը կամ կլանվելը հետաձգելու կամ երկարաձգելու միտումի
«ուշացած (հետաձգված) կապազերծում»՝ դեղագործական բաղադրամասի կապազերծումը ժամանակի այնպիսի պահի, որը չի համընկնում անմիջապես ներքին ընդունմանը հաջորդող ժամանակի հետ
«պոլիմորֆիզմ»՝ միևնույն դեղագործական բաղադրամասի հայտնաբերումը տարբեր բյուրեղային ձևերով, այդ թվում՝ սոլվատացման կամ հիդրատացման արդյունքների (կեղծ պոլիմորֆներ) և ամորֆ ձևերի տեսքով
«դեգրադացման արգասիք (քայքայման արգասիք)»՝ մոլեկուլ, որն առաջանում է դեղագործական բաղադրամասի մոլեկուլի քիմիական փոփոխության հետևանքով՝ ժամանակի ընթացքում և (կամ) լուսավորության, ջերմաստիճանի, pH-ի, խոնավության և այլնի ազդեցությամբ կամ օժանդակ նյութի և (կամ) փաթեթավորման (խցանափակման) համակարգի հետ փոխազդեցության դեպքում
«երկարաձգված կապազերծում»՝ դեղագործական բաղադրամասի կապազերծման ընթացքը՝ ներս ընդունումից հետո երկարատև ժամանակահատվածում
«լուծիչ»՝ անօրգանական կամ օրգանական հեղուկ, որը որպես միջավայր (կրող) օգտագործվում է լուծույթներ և կախույթներ պատրաստելու համար՝ դեղագործական բաղադրամասի սինթեզի կամ դեղապատրաստուկի արտադրության ժամանակ
«ռացեմատ»՝ երկու էնանտիոմերների էկվիմոլյար քանակների խառնուրդ (պինդ, հեղուկ, գազային) կամ լուծույթ։ Օպտիկական ակտիվություն չունի
«սպեցիֆիկ փորձարկում»՝ փորձարկում, որը կիրառելի է համարվում որոշակի դեղագործական բաղադրամասերի և (կամ) որոշակի դեղապատրաստուկների համար՝ կախված դրանց առանձնահատկություններից և (կամ) նպատակային նշանակությունից
«ստանդարտ նմուշ (ստանդարտ նյութ)»՝ նյութ, որն օգտագործվում է որպես չափանիշ (էտալոն) քանակական որոշման, նույնականացման կամ մաքրության փորձարկման դեպքում
«համընդհանուր փորձարկում»՝ փորձարկում, որը պոտենցիալ կիրառելի է համարվում բոլոր դեղագործական բաղադրամասերի և (կամ) բոլոր դեղապատրաստուկների համար (օրինակ՝ նկարագրման, նույնականացման, քանակական որոշման և խառնուկների որոշման ժամանակ իրականացվող փորձարկումներ)
«ջրում լավ լուծվող դեղագործական բաղադրամասեր»՝ pH 1,2-6,8 տիրույթում 250 մլ-ից պակաս կամ դրան հավասար «նյութի դոզա/նյութի լուծելիություն» հարաբերակցությամբ դեղագործական բաղադրամասեր (օրինակ՝ А միացությունն ունի նվազագույն լուծելիություն, որը 37 ± 0,5 °С ջերմաստիճանի և pH 6,8-ի դեպքում հավասար է 1 մգ/մլ-ի, ներկայացված է երեք դոզաներով՝ 100, 200 և 400 մգ։ Այդպիսի դեղապատրաստուկը համարվում է քիչ լուծվող, քանի որ դրա «նյութի դոզա/նյութի լուծելիություն» հարաբերակցությունը կազմում է 400 մլ (400 մգ ։ 1 մգ/մլ = 400 մլ) և դրանով գերազանցում է 250 մլ-ը)
«քիրալային»՝ հայելային արտացոլման դեպքում չհամընկնող, կիրառվում է մոլեկուլների, կոնֆորմացիաների և մակրոսկոպիկ օբյեկտների (օրինակ՝ բյուրեղների) առնչությամբ։ Եզրույթը նաև տարածվում է այն նյութերի նմուշների վրա, որոնց մոլեկուլները քիրալային են նույնիսկ այն դեպքում, եթե մոլեկուլների մակրոսկոպիկ բազմազանությունը ռացեմատ է
«էնանտիոմերներ»՝ իզոմերներ, որոնք ունեն միատեսակ կազմ և քիմիական կառուցվածք, սակայն տարբերվում են մոլեկուլի մեջ ատոմների տարածական տեղակայմամբ և անհամատեղելի հայելային արտացոլումներ են։
Սույն պահանջների նպատակներով «խառնուկ» հասկացությունը գործածվում է պատշաճ արտադրական գործելակերպի կանոններում սահմանված իմաստով, «ընդունելիության չափորոշիչներ» հասկացությունը գործածվում է «Դեղաբուսական պատրաստուկների որակի մասին» ուղեցույցում (Եվրասիական տնտեսական հանձնաժողովի կոլեգիայի 2018 թվականի մայիսի 10-ի թիվ 6 հանձնարարականի հավելված) սահմանված իմաստով, «ձևափոխված կապազերծում» հասկացությունը գործածվում է «Ձևափոխված կապազերծմամբ ներքին ընդունման համար դեղապատրաստուկների որակի մասին» ուղեցույցում (Եվրասիական տնտեսական հանձնաժողովի կոլեգիայի 2018 թվականի փետրվարի 16-ի թիվ 2 հանձնարարականի հավելված) սահմանված իմաստով։
IV. Փորձարկումների տեսակները
1. Պարբերական (ընտրողական) փորձարկումները
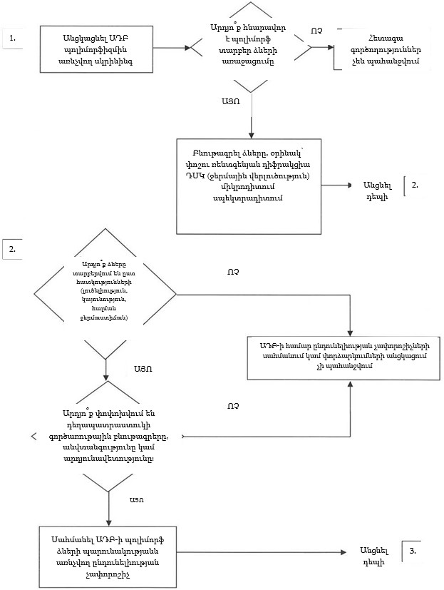
10. Պարբերական (ընտրողական) փորձարկումներն ակտիվ դեղագործական բաղադրամասի և (կամ) դեղապատրաստուկների՝ նախապես ընտրված սերիաների (այսուհետ՝ սերիաներ) որոշակի փորձարկումների անցկացումն են՝ շրջանառության մեջ բացթողման ժամանակ և (կամ) նախապես սահմանված ժամանակահատվածից հետո (այլ ոչ թե յուրաքանչյուր սերիայի համար)։ Ընդ որում, փորձարկումների չենթարկվող սերիաները ևս պետք է համապատասխանեն ակտիվ դեղագործական բաղադրամասի և (կամ) դեղապատրաստուկների համար նախատեսված ընդունելիության բոլոր չափորոշիչներին։ Այդ փորձարկման անցկացումը փորձարկումների ոչ ամբողջական ծրագիր է, և հետևաբար դա անհրաժեշտ է հիմնավորել և ներկայացնել անդամ պետության լիազորված մարմնի հաստատմանը նախքան անցկացումն սկսելը։ Այդ մոտեցումը կիրառելի է, օրինակ՝ մնացորդային լուծիչների և միկրոկենսաբանական մաքրության փորձարկումների համար՝ ներքին ընդունման համար պինդ դեղաձևերի առնչությամբ։ Դեղապատրաստուկի գրանցման դոսյեն ներկայացնելու ժամանակ հայտատուի տրամադրության տակ կարող են լինել միայն սահմանափակ տվյալներ, ուստի այդ մոտեցումը հարկավոր է իրականացնել հետգրանցումային փուլում։ Եթե պարբերական (ընտրողական) փորձարկումների ժամանակ հայտնաբերվում են անհամապատասխանություններ ընդունելիության հաստատված չափորոշիչներին, անհրաժեշտ է դրա մասին պատշաճ կերպով ծանուցել անդամ պետությունների լիազորված մարմիններին։ Եթե այդ անհամապատասխանությունները վկայում են ամենօրյա փորձարկումները վերսկսելու անհրաժեշտության մասին, հարկավոր է վերականգնել թողարկման ժամանակ փորձարկումները յուրաքանչյուր սերիայի համար։
2. Ընդունելիության չափորոշիչները՝ թողարկման ժամանակ և պիտանիության (պահպանման) ժամկետի ընթացքում
11. Թողարկման ժամանակ և պիտանիության (պահպանման) ժամկետի ընթացքում մասնագրերի համար ընդունելիության չափորոշիչների տարբերության հետ կապված մոտեցումը կիրառելի է միայն դեղապատրաստուկների համար։ Այդ մոտեցմամբ նախատեսվում է սահմանել դեղապատրաստուկի թողարկման ժամանակ ընդունելիության առավել խիստ չափորոշիչներ՝ պիտանիության (պահպանման) ժամկետի ընթացքում կիրառվող ընդունելիության չափորոշիչների համեմատությամբ։ Այդ մոտեցումը կիրառելու համար ցուցանիշների օրինակներ կարող են ծառայել քանակական որոշումը և հարակից խառնուկները։
12. Հայտատուն իրավունք ունի նախատեսելու թողարկման պահին ընդունելիության չափորոշիչների սեփական՝ առավել խիստ սահմաններ՝ ապահովելու այն համոզմունքը, որ դեղապատրաստուկի որակը պիտանիության (պահպանման) ողջ ժամկետի ընթացքում կմնա ընդունելիության կանոնակարգված չափորոշչի սահմաններում։
3. Ներարտադրական փորձարկումները
13. Ներարտադրական փորձարկումներն այնպիսի փորձարկումներ են, որոնք թույլատրվում է անցկացնել ակտիվ դեղագործական բաղադրամասի և (կամ) դեղապատրաստուկի արտադրության գործընթացում, այլ ոչ թե արտադրանքի թողարկումից առաջ անցկացվող փորձարկումների համալիրի շրջանակներում։
14. Մասնագրերում չեն ներառվում ներարտադրական այն փորձարկումները, որոնք կիրառվում են տվյալ տեխնոլոգիական գործընթացի համար սահմանված՝ շահագործման միջակայքի սահմաններում տեխնոլոգիական գործընթացի պարամետրերի շտկման համար (օրինակ՝ այն հաբերի միջուկների ամրությունը և փխրունությունը, որոնք պետք է պատվեն ծածկույթով, և առանձին հաբերի զանգվածը)։
15. Արտադրության գործընթացում անցկացվող որոշակի փորձարկումներ կարող են բավարար լինել մասնագրի պահանջներին համապատասխանությունը հավաստելու համար, եթե նմանատիպ փորձարկումներ ներառված են մասնագրում, իսկ ընդունելիության չափորոշիչը նույնական է թողարկման դեպքում կիրառվող մասնագրում սահմանված պահանջին կամ առավել խիստ է (օրինակ՝ լուծույթի pH-ը)։
16. Դրա հետ մեկտեղ՝ այս մոտեցումն անհրաժեշտ է վալիդացնել՝ ապացուցելու համար այն, որ նախատեսվող ստացվելիք արտադրանքի գործառութային բնութագրերը կամ արտադրության գործընթացում դրա փորձարկումների արդյունքները չեն փոխվել պատրաստի արտադրանքի համեմատությամբ։
4. Նախագծման (դիզայնի) և մշակման հարցերը
17. Մասնագրերը հարկավոր է կազմել ակտիվ դեղագործական բաղադրամասի և (կամ) դեղապատրաստուկի մշակման գործընթացում կուտակված փորձի և տվյալների հիման վրա։ Այդ տվյալների հիման վրա կարելի է ներկայացել առաջարկներ՝ որոշակի փորձարկումներ բացառելու, ավելացնելու կամ փոխարինելու մասին։ Օրինակ՝ բացառել՝
ա) ակտիվ դեղագործական բաղադրամասերի և (կամ) պինդ դեղաձևերի համար միկրոկենսաբանական մաքրության փորձարկումները, որոնց մշակման գործընթացում հաստատվել է միկրոօրգանիզմների կենսունակությունն ու աճը պահպանելու դրանց անկարողությունը (որոշումների սխեմաներ թիվ 6 և թիվ 8)
բ) փաթեթվածքից արտազատվող նյութերը որոշելը, եթե վերարտադրելի արդյունքների օգնությամբ ապացուցվել է, որ արտազատվող նյութերը դեղապատրաստուկի մեջ չեն հայտնաբերվում, կամ դրանց պարունակությունը բավարարում է անվտանգության պահանջները և ընդունելիության չափորոշիչները
գ) մասնիկների չափի որոշման փորձարկում՝ կախված արտադրանքի գործառութային բնութագրերի համար ներկայացված կարևորությունից (կարելի է անցկացնել որպես փորձարկում՝ արտադրության գործընթացում կամ թողարկման ժամանակ)։
18. Ջրում լավ լուծվող ակտիվ դեղագործական բաղադրամասեր պարունակող՝ արագ կապազերծմամբ ներքին ընդունման համար պինդ դեղաձևերի լուծման փորձարկումը թույլատրվում է փոխարինել տրոհելիության փորձարկմամբ, եթե մշակման ընթացքում այդ դեղապատրաստուկները դրսևորել են դեղագործական բաղադրամասի մշտական արագ կապազերծում (որոշումների սխեմաներ թիվ 7(1) և թիվ 7(2))։
5. Դեղապատրաստուկի գրանցման դոսյեի ներկայացման դեպքում որակին առնչվող տվյալների սահմանափակ լինելու խնդիրները
19. Դեղապատրաստուկի գրանցման դոսյեի ներկայացման պահին դրա որակին առնչվող տվյալները կարող են լինել սահմանափակ, ինչը կարող է ազդեցություն ունենալ ընդունելիության չափորոշիչների սահմանման գործընթացի վրա։ Այդ կապակցությամբ որոշակի ակտիվ դեղագործական բաղադրամասի և (կամ) դեղապատրաստուկի արտադրության ժամանակ փորձի կուտակմանը զուգընթաց կարող է պահանջվել ընդունելիության չափորոշիչների (օրինակ՝ սպեցիֆիկ խառնուկի պարունակության ընդունելիության չափորոշիչների) վերանայում։ Դեղապատրաստուկի գրանցման դոսյեի ներկայացման պահին ընդունելիության չափորոշիչները հարկավոր է սահմանել արդյունավետության և անվտանգության պահանջների հիման վրա։
20. Փորձարկումների և ընդունելիության չափորոշիչների հաստատման պահին դեղապատրաստուկի որակին առնչվող միայն սահմանափակ տվյալների առկայության դեպքում նախկինում հաստատված փորձարկումները և ընդունելիության չափորոշիչներն անհրաժեշտ է վերանայել տեղեկությունների կուտակմանը զուգընթաց՝ հաշվի առնելով փորձարկումների և ընդունելիության չափորոշիչների հնարավոր ձևափոխումը։ Կարող են սահմանվել ինչպես պակաս խիստ, այնպես էլ առավել խիստ ընդունելիության չափորոշիչներ։
6. Ըստ պարամետրերի թողարկումը
21. Ըստ պարամետրերի թողարկումը, որպես թողարկման ժամանակ ամենօրյա փորձարկումներին այլընտրանք, կարող է կիրառվել սահմանափակ դեպքերում և բացառապես լիազորված մարմնից հավանություն ստանալու պայմանով (օրինակ՝ եզրափակիչ (տերմինալ) մանրէազերծման ենթարկվող դեղապատրաստուկների համար մանրէազերծության փորձարկման փոխարինումը՝ ըստ պարամետրերի դրանց թողարկմամբ)։ Մանրէազերծության փորձարկումն ըստ պարամետրերի թողարկմամբ փոխարինելու դեպքում յուրաքանչյուր սերիայի թողարկում իրականացվում է որոշակի պարամետրերի (դեղապատրաստուկի արտադրության ընթացքում տերմինալ մանրէազերծման ջերմաստիճանի, ճնշման և փուլերի (փուլի) տևողության) մոնիթորինգի բավարար արդյունքների հիման վրա։ Այս պարամետրերը, որպես կանոն, կարելի է վերահսկել և չափել առավել մեծ ճշգրտությամբ, ուստի մանրէազերծության ապահովման դեպքում դրանք առավել հուսալի են, քան վերջնական արդյունքի մանրէազերծության փորձարկումը։ Ըստ պարամետրերի թողարկման ծրագրում կարող են ներառվել համապատասխան լաբորատոր փորձարկումներ (օրինակ՝ քիմիական կամ ֆիզիկական ցուցիչի կիրառումը)։ Նախքան ըստ պարամետրերի թողարկում ներդնելը՝ մանրէազերծման գործընթացն անհրաժեշտ է պատշաճ կերպով վալիդացնել։ Հարկավոր է նաև հաստատել վալիդացված վիճակի պահպանումը՝ սահմանված ընդմիջումներով վերավալիդացում անցկացնելու միջոցով։ Ըստ պարամետրերի թողարկում իրականացնելու դեպքում անհրաժեշտ է մասնագրում ներառել անուղղակի կերպով վերահսկվող որակի ցուցանիշը (օրինակ՝ մանրէազերծությունը), ինչպես նաև դրա հետ կապված վերլուծական մեթոդիկային կատարվող հղումը։
7. Փորձարկումների այլընտրանքային մեթոդիկաները
22. Փորձարկումների այլընտրանքային մեթոդիկաներն այն մեթոդիկաներն են, որոնք թույլատրվում է օգտագործել որակի ցուցանիշը որոշելու համար, եթե դրանք թույլ են տալիս ակտիվ դեղագործական բաղադրամասի և (կամ) դեղապատրաստուկի որակը վերահսկել նույն չափով, ինչ պաշտոնապես հաստատված մեթոդիկան, կամ ավելի մեծ չափով։ Օրինակ՝ այն հաբերի համար, որոնք ինչպես ապացուցվել է, չեն քայքայվում արտադրության գործընթացում, որակի թողարկման հսկողության նպատակներով թույլատրվում է կիրառել սպեկտրալուսաչափական մեթոդիկան, այլ ոչ թե պաշտոնապես հաստատված քրոմատագրական մեթոդիկան։ Այնուամենայնիվ, դեղապատրաստուկի պիտանիության (պահպանման) ժամկետի ընթացքում ընդունելիության չափորոշիչներին համապատասխանության հավաստման նպատակներով անհրաժեշտ է կիրառել քրոմատագրական մեթոդիկան։
8. Դեղագրքային փորձարկումները և ընդունելիության չափորոշիչները
23 Միության դեղագրքում, իսկ դրանում առկա չլինելու դեպքում՝ անդամ պետությունների դեղագրքերում ներկայացված են որոշակի մեթոդիկաներ (այսուհետ՝ դեղագրքային մեթոդիկաներ) կամ դրանց կատարվող հղումներ։ Բոլոր դեպքերում (եթե նպատակահարմար է) հարկավոր է կիրառել դեղագրքային մեթոդիկաները։
9. Զարգացող տեխնոլոգիաները
24. Քանի որ անընդհատ մշակվում են նոր վերլուծական տեխնոլոգիաներ, և գոյություն ունեցող տեխնոլոգիաներում կատարվում են փոփոխություններ, հարկավոր է օգտագործել զարգացող տեխնոլոգիաներ, եթե դրանք թույլ են տալիս ապահովել որակի լրացուցիչ երաշխիք, կամ դրանց կիրառումը հիմնավորված է այլ պատճառներով՝ դեղապատրաստուկի որակի կամ անվտանգության ապահովման առումով։
10. Ակտիվ դեղագործական բաղադրամասի ազդեցությունը դեղապատրաստուկի մասնագրերի վրա
25. Որպես կանոն, անհրաժեշտ չէ դեղապատրաստուկի փորձարկումներն անցկացնել ըստ որակի այն ցուցանիշների, որոնք բնորոշ են բացառապես ակտիվ դեղագործական բաղադրամասերին։ Օրինակ՝ չի պահանջվում դեղապատրաստուկը փորձարկել այն խառնուկների առկայության առումով, որոնց հսկողությունն իրականացվում է ակտիվ դեղագործական բաղադրամասի մեջ, և որոնք կապված են սինթեզի գործընթացի հետ, այլ ոչ թե դեգրադացման արգասիքներ են։ Առավել մանրամասն տեղեկություններ են ներկայացված Եվրասիական տնտեսական հանձնաժողովի (այսուհետ՝ Հանձնաժողով) կողմից հաստատվող՝ դեղամիջոցների մեջ խառնուկների ուսումնասիրման և մասնագրերում դրանց ներկայացվող պահանջների սահմանման կանոններում։
11. Ստանդարտ նմուշը
26. Ստանդարտ նմուշի որակը պետք է համապատասխանի դրա նշանակությանը։ Ստանդարտ նմուշը հաճախ բնութագրվում և գնահատվում է լրացուցիչ մեթոդիկաների և մեթոդների օգնությամբ՝ նպատակային նշանակության համար պիտանիության մասով։ Ակտիվ դեղագործական բաղադրամասի՝ քանակական որոշման փորձարկումներում օգտագործման համար նախատեսված ստանդարտ նմուշներում անհրաժեշտ է պատշաճ կերպով նույնականացնել և (կամ) վերահսկել խառնուկները և քանակական մեթոդիկայի օգնությամբ որոշել մաքրությունը։
V. Մասնագրերին ներկայացվող պահանջները
1. Մասնագրեր սահմանումը և հիմնավորումը
Մասնագրերի սահմանումը
27. Ի լրումն թողարկման ժամանակ անցկացվող փորձարկումների՝ մասնագիրը կարող է պարունակել արտադրության գործընթացում փորձարկումների, պարբերական (ընտրողական) փորձարկումների և այլ այնպիսի փորձարկումների ցանկ, որոնք ոչ միշտ են անցկացվում ըստ սերիաների։ Այդպիսի իրավիճակներում հայտատուն պետք է նշի, թե որ փորձարկումներն են անցկացվում ըստ սերիաների, իսկ որոնք՝ ոչ։
Ընդ որում, անհրաժեշտ է նշել և հիմնավորել փորձարկումների ընտրությունն ու հաճախականությունը։ Ակտիվ դեղագործական բաղադրամասը և (կամ) դեղապատրաստուկը փորձարկումների ենթարկվելու դեպքում պետք է բավարարեն ընդունելիության չափորոշիչները։ Հարկ է նշել, որ դեղապատրաստուկի գրանցման դոսյեն հաստատելուց հետո մասնագրերում փոփոխությունների կատարման համար կարող է պահանջվել նախնական փորձաքննություն անդամ պետության լիազորված մարմնի կողմից։
Մասնագրերի հիմնավորումը
28. Մասնագրի սկզբնական կազմման դեպքում անհրաժեշտ է հիմնավորել առաջարկվող յուրաքանչյուր վերլուծական մեթոդիկա և ընդունելիության յուրաքանչյուր չափորոշիչ։ Հիմնավորման դեպքում անհրաժեշտ է հղում կատարել մշակման վերաբերյալ համապատասխան տվյալներին, Միության դեղագրքի պահանջներին, իսկ դրանում համապատասխան տվյալների բացակայության դեպքում՝ անդամ պետությունների դեղագրքերի պահանջներին, թունաբանական և կլինիկական հետազոտություններում օգտագործված ակտիվ դեղագործական բաղադրամասերի և (կամ) դեղապատրաստուկների փորձարկումների արդյունքներին, ինչպես նաև կայունության արագացված և երկարաժամկետ փորձարկումների հետազոտությունների արդյունքներին։ Բացի այդ, անհրաժեշտ է հաշվի առնել վերլուծական մեթոդիկայի հավանական փոփոխականության և դեղապատրաստուկի արտադրության գործընթացի հավանական փոփոխականության ընդունելի տիրույթները։
29. Կարող են կիրառելի և ընդունելի լինել սույն պահանջներում չնկարագրված այլ մոտեցումներ։ Այդպիսի այլընտրանքային մոտեցումների կիրառման համար պահանջվում է հայտատուի հիմնավորումը։ Մասնագրերի հիմնավորման դեպքում անհրաժեշտ է ղեկավարվել ակտիվ դեղագործական բաղադրամասի սինթեզի արդյունքներով ստացված և (կամ) դեղապատրաստուկի արտադրության գործընթացի տվյալներով։ Ընդ որում, որպես հիմնավորում կարելի է դիտարկել կոնկրետ մեթոդիկայի կամ ընդունելիության կոնկրետ չափորոշչի տեսականորեն թույլատրելի սահմանաչափերը։ Սակայն, անկախ կիրառվող մոտեցումից, հիմնարար են փորձարարական փաստացի արդյունքները։
30. Մասնագրերը կազմելիս և հիմնավորելիս հարկավոր է հաշվի առնել կայունության փորձարկումների ծրագրում ներառված սերիաների, ինչպես նաև գործընթացի մասշտաբայնացման (վալիդացման) ժամանակ ստացված սերիաների փորձարկումների արդյունքները, անհրաժեշտ է հատուկ ուշադրություն դարձնել կայունության փորձարկումների համար օգտագործվող ելակետային սերիաներին։ Եթե պլանավորվում է օգտագործել մի քանի արտադրական հարթակ, ապա հիմնական փորձարկումների և ընդունելիության չափորոշիչների սկզբնական ընտրության ժամանակ նպատակահարմար է հաշվի առնել այդ հարթակներում ստացված տվյալները։ Դա անհրաժեշտ է այն դեպքում, երբ առկա է տվյալ արտադրական հարթակում ակտիվ դեղագործական բաղադրամասի և (կամ) դեղապատրաստուկի արտադրության սկզբնական ոչ բավարար փորձ։ Եթե փորձարկումների և ընդունելիության չափորոշիչների ընտրության համար օգտագործվում է 1 ներկայացուցչական արտադրական հարթակ, ապա մնացած հարթակներում արտադրված արդյունքը պետք է համապատասխանի այդ չափորոշիչներին։
31. Ընդունելիության առանձին չափորոշիչների հիմնավորման դեպքում առաջարկվում է փորձարկումների արդյունքները ներկայացնել գրաֆիկական (մասնավորապես՝ ակտիվ դեղագործական բաղադրամասի և հարակից խառնուկների քանակական պարունակության արժեքների) ձևով։ Արդյունքներն այդ կերպ ներկայացնելու դեպքում անհրաժեշտ է մասնագրում ներառել մշակման փուլում ստացված տվյալները, ինչպես նաև ակտիվ դեղագործական բաղադրամասի կամ դեղապատրաստուկի արտադրության առաջարկվող գործընթացի միջոցով արտադրված դեղապատրաստուկի սերիաների կայունության մասին առկա տվյալները։
32. Մասնագրից փորձարկման բացառումը հիմնավորելու դեպքում անհրաժեշտ է ղեկավարվել դեղապատրաստուկի արտադրության գործընթացի մշակման և վալիդացման մասին տվյալներով (եթե կիրառելի է)։
2. Համընդհանուր փորձարկումները (չափորոշիչները)
33. Սույն պահանջների 34-36-րդ կետերում նշված պահանջների կատարման դեպքում անհրաժեշտ է նաև հաշվի առնել Եվրասիական տնտեսական հանձնաժողովի կոլեգիայի 2018 թվականի հուլիսի 17-ի թիվ 113 որոշմամբ հաստատված՝ Դեղամիջոցների փորձարկումների անցկացման վերլուծական մեթոդիկաների վալիդացման ուղեցույցի պահանջները։
Դեղագործական բաղադրամասերը
34. Բոլոր ակտիվ դեղագործական բաղադրամասերի համար կիրառելի են հետևյալ փորձարկումներն ու ընդունելիության չափորոշիչները.
ա) նկարագիրը. ակտիվ դեղագործական բաղադրամասի ֆիզիկական վիճակի (օրինակ՝ պինդ նյութ, հեղուկ) և գույնի որակական բնութագիրը։ Եթե այս հատկություններից որևէ մեկը պահպանման դեպքում փոփոխվում է, այդ փոփոխությունը հարկավոր է ուսումնասիրել և անհրաժեշտ միջոցներ ձեռնարկել
բ) նույնականացումը. նույնականացման փորձարկումները պետք է հնարավորություն ընձեռեն լավագույնս տարբերակել միմյանց մոտ կառուցվածք ունեցող միացությունները, որոնք մեծ հավանականությամբ կարող են գոյություն ունենալ ակտիվ դեղագործական բաղադրամասի և (կամ) դեղապատրաստուկի մեջ։ Նույնականացման փորձարկումները պետք է սպեցիֆիկ լինեն ակտիվ դեղագործական բաղադրամասի համար (օրինակ՝ ինֆրակարմիր սպեկտրադիտում)։ Միայն պահման քրոմատագրական ժամանակի օգնությամբ կատարվող նույնականացումը սպեցիֆիկ չի համարվում։ Դրա հետ մեկտեղ՝ ընդունելի է քրոմատագրական 2 մեթոդիկաների օգտագործումը, որոնց դեպքում հայտնաբերվող նյութերի տարանջատումը հիմնված է տարբեր սկզբունքների վրա, կամ փորձարկումները 1 մեթոդիկայում (օրինակ՝ ԲԱՀՔ/ՈՒՄ՝ դիոդային մատրիցայով, ԲԱՀՔ/ԶՍ կամ ԳՔ/ԶՍ) միավորելը։ Եթե ակտիվ դեղագործական բաղադրամասն աղ է, նույնականացման փորձարկումը պետք է սպեցիֆիկ լինի իոններից յուրաքանչյուրի համար։ Կարող է բավարար լինել հենց աղի համար սպեցիֆիկ փորձարկումը։ Օպտիկապես ակտիվ դեղագործական բաղադրամասերի համար կարող է անհրաժեշտ լինել դրանց նույնականացման համար սպեցիֆիկ փորձարկման անցկացումը կամ քիրալային միացության համար սպեցիֆիկ քանակական որոշման իրականացումը
գ) քանակական որոշումը. վերլուծվող նմուշի մեջ ակտիվ դեղագործական բաղադրամասի պարունակությունը որոշելու համար անհրաժեշտ է մասնագրում ներառել սպեցիֆիկ մեթոդիկա, որը թույլ է տալիս կայուն արդյունքներ ստանալ։ Շատ դեպքերում թույլատրվում է կիրառել միևնույն մեթոդիկան (օրինակ՝ ԲԱՀՔ) ինչպես ակտիվ դեղագործական բաղադրամասի քանակական որոշման, այնպես էլ խառնուկների պարունակության որոշման համար։ Եթե քանակական որոշման ոչ սպեցիֆիկ մեթոդիկայի կիրառման հիմնավորում է ներկայացվել, ընդհանուր սպեցիֆիկությունն ապահովելու համար անհրաժեշտ է կիրառել փորձարկումները հաստատող այլ մեթոդիկաներ։ Օրինակ՝ եթե ակտիվ դեղագործական բաղադրամասի քանակական որոշման համար կիրառվում է տիտրում, անհրաժեշտ է կիրառել քանակական որոշման և խառնուկի պարունակության համապատասխան փորձարկման համակցությունը
դ) խառնուկները. մասնագրում նշվում են օրգանական և անօրգանական խառնուկները, մնացորդային լուծիչները։ Մշակման ընթացքում ստացված տվյալների հիման վրա խառնուկների պարունակության էական սահմանաչափերի արտարկումը նկարագրված է որոշումների թիվ 1 սխեմայում։ Քանի որ դեղապատրաստուկի գրանցման դոսյեն ներկայացնելու պահին գործընթացի մշտականությունը գնահատելու համար տվյալները կարող են բավարար չլինել, նպատակահարմար չէ սահմանել ընդունելիության այնպիսի չափորոշիչներ, որոնք ընդգրկում են սերիաների վերլուծության միայն այն տվյալները, որոնք առկա են դեղապատրաստուկի գրանցման դոսյեն ներկայացնելու պահին։
Դեղապատրաստուկները
35. Բոլոր դեղապատրաստուկների համար կիրառելի են հետևյալ փորձարկումներն ու ընդունելիության չափորոշիչները.
ա) նկարագիրը. մասնագրում ներկայացվում է դեղաձևի որակական բնութագրերի (օրինակ՝ չափ, ձև եւ գույն) նկարագիրը։ Եթե այս հատկություններից որևէ մեկը դեղապատրաստուկի արտադրության գործընթացի ժամանակ կամ դրա պահպանման դեպքում փոփոխվում է, այդ փոփոխությունն անհրաժեշտ է ուսումնասիրել և անհրաժեշտ միջոցներ ձեռնարկել։ Ընդունելիության չափորոշիչները պետք է ներառեն դեղապատրաստուկի արտաքին տեսքը։ Եթե դեղապատրաստուկի պահպանման դեպքում դրա արտաքին տեսքը փոխվում է գույնի առումով, ապա պահանջվում է մասնագրում ներառել քանակական գնահատման մեթոդիկան
բ) նույնականացումը. փորձարկումներով պետք է սահմանվի դեղապատրաստուկի մեջ ակտիվ դեղագործական բաղադրամասի իսկությունը, նաև դրանք պետք է հնարավորություն ընձեռեն տարբերակել միմյանց մոտ կառուցվածք ունեցող միացությունները, որոնք մեծ հավանականությամբ կարող են գոյություն ունենալ ակտիվ դեղագործական բաղադրամասի և (կամ) դեղապատրաստուկի կազմի մեջ։ Նույնականացման փորձարկումները պետք է սպեցիֆիկ լինեն ակտիվ դեղագործական բաղադրամասի համար (օրինակ՝ ինֆրակարմիր սպեկտրադիտում)։ Միայն պահման քրոմատագրական ժամանակի օգնությամբ կատարվող նույնականացումը սպեցիֆիկ չի համարվում։ Որպես կանոն, ընդունելի է քրոմատագրական 2 մեթոդիկաների օգտագործումը, որոնց դեպքում տարանջատումը հիմնված է տարբեր սկզբունքների վրա, կամ փորձարկումները 1 մեթոդիկայում (օրինակ՝ ԲԱՀՔ/ՈՒՄ՝ դիոդային մատրիցայով, ԲԱՀՔ/ԶՍ կամ ԳՔ/ԶՍ) միավորելը
գ) քանակական որոշումը. բոլոր դեղապատրաստուկների առնչությամբ պարունակությունը որոշելու համար անհրաժեշտ է մասնագրում ներառել քանակական որոշման սպեցիֆիկ մեթոդիկա, որը թույլ է տալիս կայուն արդյունքներ ստանալ։ Շատ դեպքերում թույլատրվում է կիրառել միևնույն մեթոդիկան (օրինակ՝ ԲԱՀՔ) ինչպես ակտիվ դեղագործական բաղադրամասի քանակական որոշման, այնպես էլ խառնուկների պարունակության որոշման համար։ Դեղապատրաստուկների մեջ ակտիվ դեղագործական բաղադրամասի քանակական որոշման համար կարող են օգտագործվել պարունակության միատարրության փորձարկումների արդյունքները, եթե պարունակության միատարրությունը որոշելու համար օգտագործվող մեթոդներն ընդունելի են նաև քանակական որոշման համար։ Եթե քանակական որոշման ոչ սպեցիֆիկ մեթոդիկայի կիրառման հիմնավորում է ներկայացվել, ընդհանուր սպեցիֆիկությունն ապահովելու համար անհրաժեշտ է կիրառել հաստատող այլ վերլուծական մեթոդիկաներ։ Օրինակ՝ եթե ակտիվ դեղագործական բաղադրամասի քանակական որոշման համար կիրառվում է տիտրում, անհրաժեշտ է կիրառել քանակական որոշման և խառնուկի պարունակության համապատասխան փորձարկման համակցությունը։ Եթե քանակական որոշման ոչ սպեցիֆիկ մեթոդիկայի կիրառման դեպքում առկա են վերլուծության արդյունքների վրա օժանդակ նյութերի ազդեցության մասին տվյալներ, անհրաժեշտ է կիրառել սպեցիֆիկ մեթոդիկան
դ) խառնուկները. մասնագրում նշվում են օրգանական և անօրգանական խառնուկները, դեգրադացման արգասիքները, մնացորդային լուծիչները։ Ակտիվ դեղագործական բաղադրամասի դեգրադացման ժամանակ առաջացող օրգանական խառնուկները և դեղապատրաստուկի արտադրության գործընթացում առաջացող խառնուկները ենթակա են հսկողության։ Հարկավոր է սահմանել դեգրադացման առանձին հատկորոշված արգասիքների պարունակության ընդունելի սահմանաչափեր, որոնք կարող են լինել դեգրադացման ինչպես նույնականացված, այնպես էլ չնույնականացված արգասիքներ, ինչպես նաև դեգրադացման արգասիքների հանրագումարային պարունակության սահմանաչափեր։ Ակտիվ դեղագործական բաղադրամասի սինթեզի գործընթացում առաջացող խառնուկները, որպես կանոն, վերահսկվում են դրա փորձարկման փուլում և չեն ներառվում խառնուկների հանրագումարի պարունակության սահմանաչափի մեջ։ Եթե տեխնոլոգիական խառնուկը նաև դեգրադացման արգասիք է, անհրաժեշտ է վերահսկել դրա պարունակությունը և ներառել դեգրադացման արգասիքների հանրագումարի պարունակության սահմանաչափի մեջ։ Եթե պատշաճ վերլուծական մեթոդիկայի օգնությամբ միանշանակ ապացուցվել է, որ կոնկրետ դեղապատրաստուկի կազմի մեջ մտնող ակտիվ դեղագործական բաղադրամասը դեղապատրաստուկի գրանցման դոսյեում նշված պահպանման կոնկրետ պայմաններում դեգրադացման չի ենթարկվում, ապա այդ դեղապատրաստուկի գրանցումից հետո լիազորված մարմնի հետ համաձայնեցմամբ թույլատրվում է կրճատել դեգրադացման արգասիքների փորձարկումների ծավալը կամ այն բացառել մասնագրից։
36. Որոշումների թիվ 2 սխեմայի մեջ նկարագրված է մշակման գործընթացում ստացված տվյալների հիման վրա դեգրադացման արգասիքների պարունակության էական սահմանաչափերի արտարկումը։ Դեղապատրաստուկի գրանցման դոսյեն ներկայացնելու պահին դեղապատրաստուկի արտադրության գործընթացի մշտականությունը գնահատելու համար տվյալները, որպես կանոն, բավարար չեն։ Այդ կապակցությամբ նպատակահարմար չէ սահմանել ընդունելիության այնպիսի չափորոշիչներ, որոնք ընդգրկում են սերիաների վերլուծության միայն այն տվյալները, որոնք առկա են դեղապատրաստուկի գրանցման դոսյեն ներկայացնելու պահին։
3. Սպեցիֆիկ փորձարկումները (չափորոշիչները)
37. Սույն պահանջների 34-36-րդ կետերում նշված համընդհանուր փորձարկումներից բացի՝ առանձին ակտիվ դեղագործական բաղադրամասերի և (կամ) դեղապատրաստուկների համար պահանջվում է անցկացնել հետևյալ լրացուցիչ փորձարկումները։ Եթե փորձարկումն ազդեցություն է ունենում ակտիվ դեղագործական բաղադրամասի և (կամ) դեղապատրաստուկի սերիաների որակի հսկողության վրա, անհրաժեշտ է մասնագրում ներառել առանձին փորձարկումներ (չափորոշիչներ)։ Առանձին դեպքերում (օրինակ՝ դեղապատրաստուկի որակի փոփոխությունների մասին տվյալներ կուտակելուց հետո) կարող է պահանջվել այլ փորձարկումների անցկացում։
Սպեցիֆիկ փորձարկումները (չափորոշիչները)՝ դեղագործական բաղադրամասերի համար
38. Բոլոր ակտիվ դեղագործական բաղադրամասերի համար կիրառելի են հետևյալ սպեցիֆիկ փորձարկումները (չափորոշիչները).
ա) ֆիզիկաքիմիական հատկությունները. ներառում են նաև ջրային լուծույթի pH-ը, հալման ջերմաստիճանը (ջերմաստիճանների տիրույթը) և բեկման ցուցանիշը։ Նշված հատկությունները որոշելու համար օգտագործվող մեթոդիկաները, որպես կանոն, եզակի են, և դրանց դեպքում բարդ չափումներ (օրինակ՝ հալման ջերմաստիճանը որոշելու կապիլյար մեթոդ, բեկումաչափություն՝ ըստ Աբբեի) չեն պահանջվում։ Ֆիզիկաքիմիական հատկությունները հաստատելու նպատակով կատարվող փորձարկումներն անհրաժեշտ է որոշել ակտիվ դեղագործական բաղադրամասի ֆիզիկական և քիմիական հատկությունների և դրա նպատակային նշանակության հիման վրա
բ) մասնիկների չափը. պինդ դեղապատրաստուկների կամ կախույթների մեջ օգտագործման համար նախատեսված որոշ ակտիվ դեղագործական բաղադրամասերի համար մասնիկների չափը կարող է զգալի ազդեցություն ունենալ լուծման արագության, կենսամատչելիության և (կամ) կայունության վրա։ Այդ դեպքերում հարկավոր է սահմանել ընդունելիության չափորոշիչներ և անցկացնել մասնիկների չափի որոշման փորձարկում՝ համապատասխան մեթոդիկայի կիրառմամբ։ Որոշումների թիվ 3 սխեմայում ներկայացված են մասնիկների չափի որոշման փորձարկումների անցկացման առկա դեպքերին առնչվող լրացուցիչ պարզաբանումներ
գ) պոլիմորֆ ձևերը. որոշ ակտիվ դեղագործական բաղադրամասեր գոյություն ունեն տարբեր բյուրեղային ձևերով, որոնք տարբերվում են իրենց ֆիզիկական հատկություններով։ Պոլիմորֆիզմը կարող է նաև ներառել սոլվատացման և հիդրատացման արդյունքներ (կեղծ պոլիմորֆներ) և ամորֆ ձևեր։ Նշված ձևերի պրոֆիլի տարբերությունները կարող են որոշ դեպքերում ազդեցություն ունենալ դեղապատրաստուկների որակի և գործառութային բնութագրերի վրա։ Եթե դեղապատրաստուկի գործառութային բնութագրերի, կենսամատչելիության կամ կայունության վրա ապացուցված ազդեցության տարբերություններ կան, ապա անհրաժեշտ է մասնագրում նշել պինդ նյութի համապատասխան վիճակը։ Ֆիզիկաքիմիական չափումներն ու մեթոդները սովորաբար կիրառվում են մի քանի պոլիմորֆ ձևերի առկայությունը որոշելու համար (օրինակ՝ հալման կետը (ներառյալ՝ մանրադիտումը բարձր ջերմաստիճանի տակ), ինֆրակարմիր սպեկտրադիտումը (ԻԿ)՝ պինդ վիճակում նյութերի համար, փոշու ռենտգենյան դիֆրակցիան, ջերմային վերլուծության մեթոդիկաները (ներառյալ՝ դիֆերենցիալ սկանավորող կալորիաչափումը (ԴՍԿ), ջերմային ծանրաչափական վերլուծությունը (ՋԾՎ) և դիֆերենցիալ ջերմային վերլուծությունը (ԴՋՎ)), Ռամանովի սպեկտրադիտումը, լուսային մանրադիտումը և միջուկային մագնիսառեզոնանսային (ՄՄՌ) սպեկտրադիտումը՝ պինդ վիճակում նյութերի համար)։ Որոշումների թիվ 4(1)-4(3) սխեմաներում ներկայացված են լրացուցիչ պարզաբանումներ այն մասին, թե երբ և ինչպես է հարկավոր հսկել և ստուգել պոլիմորֆ ձևերը։ Որոշումների նշված սխեմաները հարկավոր է կիրառել հետևողականորեն։ Որոշումների թիվ 4(1) և 4(2) սխեմաներում դիտարկվում է այն, թե արդյոք ակտիվ դեղագործական բաղադրամասը պոլիմորֆիզմ է դրսևորում, և արդյոք տարբեր պոլիմորֆ ձևեր կարող են ազդեցություն ունենալ դեղապատրաստուկի գործառութային բնութագրերի վրա։ Որոշումների թիվ 4(3) սխեման հարկավոր է օգտագործել այն դեպքում, եթե ակտիվ դեղագործական բաղադրամասը պոլիմորֆիզմ է դրսևորում և ազդեցություն է ունենում դեղապատրաստուկի գործառութային բնութագրերի վրա։ Որոշումների թիվ 4(3) սխեմայի օգնությամբ կարելի է վերլուծել դեղապատրաստուկի մեջ պոլիմորֆ ձևերի պրոֆիլի փոփոխության հնարավորությունը, ինչպես նաև դեղապատրաստուկի գործառութային բնութագրերի վրա այդ փոփոխության՝ ազդեցություն ունենալու ունակությունը։
Որպես կանոն, տեխնիկապես շատ բարդ է չափել դեղապատրաստուկներում պոլիմորֆ փոփոխությունները։ Դեղապատրաստուկի գործառութային բնութագրերի հսկողության նպատակներով, որպես կանոն, կիրառվում են կողմնակի փորձարկումներ (օրինակ՝ լուծում) (որոշումների թիվ 4(3) սխեմա), իսկ պոլիմորֆ ձևերի պարունակության որոշումը և այդ փորձարկման համար ընդունելիության չափորոշիչների սահմանումը հարկավոր է իրականացնել միայն ծայրահեղ դեպքում
դ) փորձարկումները՝ քիրալային ակտիվ դեղագործական բաղադրամասերի համար. եթե ակտիվ դեղագործական բաղադրամասը հիմնականում 1 էնանտիոմեր է, իսկ հակադիր էնանտիոմերի պարունակությունը ցածր է Հանձնաժողովի կողմից հաստատվող՝ դեղամիջոցների մեջ խառնուկների ուսումնասիրման և մասնագրերում դրանց ներկայացվող պահանջների սահմանման կանոններում ներկայացված որակավորման և նույնականացման շեմային արժեքներից, ապա հակադիր էնանտիոմերը չի որոշվում՝ դրա պարունակության ցածր մակարդակի դեպքում որոշելու գործնական բարդության պատճառով։ Սակայն քիրալային ակտիվ դեղագործական բաղադրամասի և դրան համապատասխանող դեղապատրաստուկների մեջ այդ խառնուկը հարկավոր է հսկել դեղամիջոցների մեջ խառնուկների ուսումնասիրման և մասնագրերում դրանց ներկայացվող պահանջների սահմանման կանոններին համապատասխան։ Որոշումների թիվ 5 սխեմայում ներկայացված է այն պայմանների ամփոփումը, որոնց դեպքում պահանջվում է քիրալային միացությունների նույնականացման փորձարկումների, խառնուկների պարունակության և քանակական որոշման փորձարկումների անցկացում ինչպես ակտիվ դեղագործական բաղադրամասերի, այնպես էլ դեղապատրաստուկների համար՝ հետևյալ հայեցակետերին համապատասխան։
Ակտիվ դեղագործական բաղադրամասերը. խառնուկներ։ Որպես առանձին էնանտիոմեր մշակված քիրալային ակտիվ դեղագործական բաղադրամասերի հակադիր էնանտիոմերի հսկողությունն իրականացվում է նույն կերպ, ինչ մյուս խառնուկների դեպքում։ Սակայն տեխնիկական սահմանափակումները կարող են խոչընդոտել քանակական պարունակության քանակավորման միևնույն սահմանաչափերի կամ որակավորման սահմանաչափերի կիրառումը։ Կիրառելով համապատասխան հիմնավորումը՝ հարկավոր է նաև ցույց տալ հսկողության հուսալիությունը սկզբնական հումքի կամ միջանկյալ արտադրանքի համապատասխան փորձարկումների օգնությամբ։
Քանակական որոշումը։ Մասնագրում պետք է ներառվի ակտիվ դեղագործական բաղադրամասի քանակական որոշման փորձարկումը, որը թույլ է տալիս ընտրողաբար սահմանել ակտիվ դեղագործական բաղադրամասի մեջ էնանտիոմերների պարունակությունը։ Այս պայմանների կատարման համար ընդունելի է համարվում քիրալային միացությանը բնորոշ քանակական որոշման մեթոդիկայի կիրառումը էնանտիոմերային խառնուկի հսկողության համապատասխան մեթոդների հետ միասին։
Նույնականացումը։ Որպես առանձին էնանտիոմեր մշակված ակտիվ դեղագործական բաղադրամասի համար նույնականացման փորձարկումները պետք է ապահովեն յուրաքանչյուր էնանտիոմեր և էնանտիոմերների ռացեմիկ խառնուրդ տարբերակելու հնարավորություն։ Առանձնացվում է 2 դեպք, երբ ռացեմիկ խառնուրդ հանդիսացող ակտիվ դեղագործական բաղադրամասի համար պահանջվում է ստերեոիզոմերների նույնականացման փորձարկման անցկացում թողարկման ժամանակ փորձարկումներ (պիտանիության փորձարկում) անցկացնելիս ռացեմատի՝ էնանտիոմերով տեղակալման բարձր հավանականության կամ այն ընտրողական բյուրեղացման հիմքերի առկայության դեպքում, որը կարող է հանգեցնել ոչ ռացեմիկ խառնուրդի չնախամտածված առաջացմանը։
Դեղապատրաստուկը դեգրադացման արգասիքներ։ Եթե բացակայում է հաստատում այն մասին, որ դեղաձևի արտադրության գործընթացում և դրա պահպանման ընթացքում ռացեմացումն աննշան է, անհրաժեշտ է իրականացնել դեղապատրաստուկի մեջ երկրորդ էնանտիոմերի պարունակության հսկողությունը։
Քանակակական որոշումը։ Եթե ապացուցվել է, որ դեղաձևի արտադրության գործընթացում և դրա պահպանման ընթացքում ռացեմացումն աննշան է, թույլատրվում է կիրառել քիրալային միացությանը ոչ բնորոշ՝ քանակական որոշման մեթոդիկան։ Այլ դեպքերում անհրաժեշտ է կիրառել քիրալային միացությանը բնորոշ մեթոդիկան կամ որպես այլընտրանք՝ ոչ սպեցիֆիկ մեթոդիկայի և հակադիր էնանտիոմերի պարունակության հսկողության վալիդացված մեթոդիկայի համակցությունը։
Նույնականացումը։ Դեղապատրաստուկի մասնագրի մեջ թողարկման պահին, որպես կանոն, չի ներառվում նույնականացման ստերեոսպեցիֆիկ փորձարկումը։ Եթե դեղաձևի արտադրության և դրա պահպանման ժամանակ ռացեմացումն աննշան է, ապա նույնականացման ստերեոսպեցիֆիկ փորձարկումը նպատակահարմար է ներառել ակտիվ դեղագործական բաղադրամասի մասնագրում։ Եթե դեղաձևի մեջ ռացեմացում է տեղի ունենում, ապա իսկությունը հավաստելու համար կիրառվում է քանակական որոշման քիրալային մեթոդիկան կամ դեղապատրաստուկի մեջ էնանտիոմերային խառնուկի փորձարկումը
ե) ջրի պարունակությունը. տվյալ փորձարկումն անցկացվում է այն դեպքում, երբ ակտիվ դեղագործական բաղադրամասը հիգրոսկոպիկ է, կամ խոնավությունն առաջացնում է դրա դեգրադացում, կամ ակտիվ դեղագործական բաղադրամասը ստեխիոմետրիկ [քանակաչափական] հիդրատ է։ Ընդունելիության չափորոշիչները կարող են հիմնավորվել հիդրատացման կամ խոնավության կլանման էֆեկտների մասին տվյալների օգնությամբ։ Որոշ դեպքերում բավարար է կիրառել չորացման դեպքում զանգվածի կորստի որոշման մեթոդիկան, սակայն նախընտրելի է կիրառել հայտնաբերման՝ ջրին բնորոշ մեթոդիկան (օրինակ՝ տիտրումը՝ Ֆիշերի մեթոդով)
զ) անօրգանական խառնուկները. դեղապատրաստուկի մշակման ժամանակ ստացված տվյալների և դեղապատրաստուկի արտադրության գործընթացի մասին գիտելիքների հիման վրա՝ հարկավոր է սահմանել անօրգանական խառնուկների (օրինակ՝ կատալիզատորները) փորձարկումները և ընդունելիության չափորոշիչները ներառելու անհրաժեշտությունը։ Սուլֆատային մոխրի (ընդհանուր մոխրի) համար մեթոդիկաներն ու ընդունելիության չափորոշիչները պետք է համապատասխանեն Միության դեղագրքի պահանջներին, իսկ դրա մեջ համապատասխան տվյալների բացակայության դեպքում՝ անդամ պետությունների դեղագրքերի պահանջներին։ Մյուս անօրգանական խառնուկները թույլատրվում է որոշել այլ համապատասխան մեթոդիկաների (օրինակ՝ ատոմային կլանման սպեկտրաչափման) օգնությամբ
է) միկրոկենսաբանական մաքրությունը. մասնագրում կարող է պահանջվել աերոբ միկրոօրգանիզմների ընդհանուր պարունակության, խմորասնկերի և բորբոսասնկերի ընդհանուր քանակի, ինչպես նաև այն բակտերիաների որոշ տեսակների իսպառ բացակայության մասին տեղեկատվության նշում, որոնց առկայությունը դեղապատրաստուկի մեջ չի թույլատրվում (օրինակ՝ Staphylococcus aureus, Escherichia coll, Salmonella spp., Pseudomonas aeruginosa)։ Միկրոօրգանիզմների առկայությունն անհրաժեշտ է որոշել՝ օգտագործելով դեղագրքային մեթոդիկաները։ Միկրոկենսաբանական փորձարկումների և ընդունելիության չափորոշիչների տարատեսակությունը հարկավոր է որոշել ակտիվ դեղագործական բաղադրամասի հատկությունների, դեղապատրաստուկի արտադրության և առաջարկվող կիրառության եղանակի հիման վրա։ Օրինակ՝ մանրէազերծ ակտիվ դեղագործական բաղադրամասերի համար նպատակահարմար է մանրէազերծության փորձարկման անցկացումը, իսկ էնդոտոքսինների փորձարկումը նպատակահարմար է անցկացնել այնպիսի ակտիվ դեղագործական բաղադրամասի հետ, որն օգտագործվում է դեղապատրաստուկների ներարկային ձևերի պատրաստման համար։ Որոշումների թիվ 6 սխեմայում ներկայացված են լրացուցիչ պարզաբանումներ այն մասին, թե որ դեպքերում է հարկավոր մասնագրում ներառել միկրոկենսաբանական մաքրության փորձարկումները։
Սպեցիֆիկ փորձարկումները (չափորոշիչները) դեղապատրաստուկների համար
39. Սույն պահանջների 40-րդ և 41-րդ կետերում նշված ցանկը դեղապատրաստուկների, ինչպես նաև այն փորձարկումների և ընդունելիության չափորոշիչների տարատեսակության ներկայացուցչական ցուցակն է, որոնք նպատակահարմար է ներառել դրանց մասնագրում։ Ցանկում դիտարկվում են ներքին ընդունման համար պինդ և հեղուկ դեղաձևերը և պարենտերալ դեղաձևերը (մեծ և փոքր ծավալների)։ Սույն պահանջների 40-րդ և 41-րդ կետերում նշված սկզբունքները կարող են կիրառվել այլ դեղաձևերի համար։
Հաբեր, թաղանթապատ հաբեր և դեղապատիճներ
40. Փափուկ դեղապատիճների և գրանուլների [հատիկների] համար կարող են կիրառելի լինել նկարագրված փորձարկումներից հետևյալները.
ա) լուծումը. ներքին ընդունման համար պինդ դեղաձևերի մասնագրում, որպես կանոն, ներառվում են դեղապատրաստուկից ակտիվ դեղագործական բաղադրամասի կապազերծումը որոշելու փորձարկումները։ Արագ կապազերծմամբ դեղաձևերի համար, որպես կանոն, բավարար են «միակետ» չափումները։ Ձևափոխված կապազերծմամբ դեղաձևերի համար անհրաժեշտ է ընտրել համապատասխան փորձարկումների պայմաններ և փորձանմուշների ընտրության մեթոդիկաներ։ Օրինակ՝ երկարաձգված կապազերծմամբ դեղաձևերի համար փորձանմուշների ընտրությունն անհրաժեշտ է իրականացնել ժամանակային մի քանի կետերում, իսկ հետաձգված կապազերծմամբ դեղաձևերի համար նպատակահարմար է անցկացնել երկփուլ փորձարկում (հաջորդաբար կամ զուգահեռաբար՝ իրավիճակից կախված տարբեր միջավայրերի օգտագործմամբ)։ Այսպիսի դեպքերում փորձարկումների ընտրության և ընդունելիության չափորոշիչների սահմանման դեպքում անհրաժեշտ է հաշվի առնել այն անձանց թվաքանակը, որոնց համար նախատեսվում է դեղապատրաստուկը (օրինակ՝ աքլորհիդրիայից տառապող տարեց մարդիկ)։ Որոշ դեպքերում լուծման փորձարկումը թույլատրվում է փոխարինել տրոհելիության փորձարկմամբ (որոշումների թիվ 7(1) սխեմա)։
Եթե արագ կապազերծմամբ դեղապատրաստուկների լուծման արագության փոփոխությունը կարող է զգալիորեն ազդել կենսամատչելության վրա, առաջարկվում է նախատեսել փորձարկումների այնպիսի պայմաններ, որոնք թույլ կտան հայտնաբերել անընդունելի կենսամատչելիությամբ սերիաներ։ Եթե դեղապատրաստուկի կազմում կամ դրա արտադրության գործընթացի պարամետրերում փոփոխություններն էապես ազդում են լուծման վրա, և այդ փոփոխությունները չեն վերահսկվում մասնագրում սահմանված այլ մեթոդի օգնությամբ, ապա նպատակահարմար է նախատեսել լուծման փորձարկման այնպիսի պայմաններ, որոնք թույլ կտան վերհանել նման փոփոխությունները (որոշումների թիվ 7(2) սխեմա)։
Եթե լուծումն էապես ազդում է կենսամատչելիության վրա, ապա նպատակահարմար է սահմանել լուծման փորձարկման համար ընդունելիության այնպիսի չափորոշիչներ, որոնք թույլ են տալիս խոտանել անընդունելի կենսամատչելիությամբ սերիաները։ Այլ դեպքերում անհրաժեշտ է ընտրել փորձարկման այնպիսի պայմաններ և ընդունելիության չափորոշիչներ, որոնք թույլ կտան ընտրել դեղապատրաստուկի այնպիսի սերիաներ, որոնք պիտանի են դեղապատրաստուկը բժշկական նպատակներով կիրառելու համար (որոշումների թիվ 7(2) սխեմա)։
Կապազերծման տարբեր արագություններ դրսևորող, տարբեր կազմեր ունեցող՝ երկարաձգված կապազերծմամբ դեղապատրաստուկների համար ընդունելիության չափորոշիչների սահմանման նպատակով թույլատրվում է դրանց հիմնավորման համար կիրառել in vivo (in vitro) ստուգաճշտում՝ մարդու մոտ այդպիսի դեղապատրաստուկների կենսամատչելիության մասին տվյալների առկայության դեպքում։ Եթե մարդու մոտ կենսամատչելիության մասին տվյալները բացակայում են, և հնարավոր չէ հաստատել, որ ակտիվ դեղագործական բաղադրամասի կապազերծումը կախված չէ in vitro փորձարկումների պայմաններից, ապա ընդունելիության չափորոշիչները սահմանվում են սերիաների փորձարկումների առկա արդյունքների հիման վրա։ Ժամանակային բոլոր կետերում կապազերծման միջին արագության թույլատրելի շեղումները չպետք է գերազանցեն ակտիվ դեղագործական բաղադրամասի հայտագրված պարունակության ±10 %-ը (այսինքն՝ ընդհանուր փոփոխականությունը՝ 20 %-ից ոչ ավելի 50+10 % պահանջը նշանակում է, որ ընդունելի տիրույթը հավասար է 40 - 60 %-ի), եթե միայն կենսահամարժեքության հետազոտման միջոցով ավելի լայն տիրույթ հիմնավորված չէ (որոշումների թիվ 7 (3) սխեմա)
բ) տրոհելիությունը. արագ լուծվող (> 80 %-ը լուծվում է 15 րոպեի ընթացքում՝ 1,2-ին, 4,0-ին և 6,8-ին հավասար pH-ի դեպքում) դեղապատրաստուկների համար, որոնք պարունակում են pH արժեքների ֆիզիոլոգիական տիրույթում լավ լուծվող (դեղաչափը լուծվում է 250 մլ-ից պակաս ծավալով միջավայրում՝ 1,2-ից 6,8 pH-ի դեպքում) ակտիվ դեղագործական բաղադրամասեր, թույլատրվում է լուծման փորձարկումը փոխարինել տրոհելիության փորձարկմամբ։ Տրոհելիության փորձարկման անցկացումն առավել նպատակահարմար է, եթե պարզվել է փոխադարձ կապը լուծման հետ, կամ ցույց է տրվել, որ տրոհելիության որոշումն ավելի համապատասխան է, քան լուծման փորձարկումը։ Այսպիսի դեպքերում լուծման փորձարկում կարող է չպահանջվել։ Լուծման կամ տրոհելիության փորձարկումների ընտրության դեպքում ենթադրվում է, որ դեղապատրաստուկի կազմի և արտադրության գործընթացի հուսալիության հաստատման համար կներկայացվի մշակման մասին տեղեկատվություն (որոշումների թիվ 7(1) սխեմա).
գ) կարծրության և (կամ) մաշելիության փորձարկումները. եթե կարծրության և (կամ) մաշելիության փորձարկումները կատարվում են դեղապատրաստուկի արտադրության գործընթացում, ապա չի պահանջվում որակի այս ցուցանիշները ներառել մասնագրում։ Եթե կարծրությունն ու մաշելիությունը կրիտիկական ազդեցություն ունեն դեղապատրաստուկի (օրինակ՝ ծամովի հաբերի) որակի վրա, ապա անհրաժեշտ է մասնագրում ներառել համապատասխան փորձարկումներ և ընդունելիության չափորոշիչներ
դ) դոզավորման միավորների միատարրությունը (զանգվածների փոփոխակման մեթոդով որոշվող դոզավորման միատարրությունը և դոզավորված ձևի միավորի մեջ ակտիվ դեղագործական բաղադրամասի պարունակության միատարրության մեթոդով որոշվող դոզավորման միատարրությունը). փորձարկումների դեպքում անհրաժեշտ է կիրառել դեղագրքային մեթոդիկաներ։ Մասնագրում ներառվում է այդ փորձարկումներից որևէ մեկը։ Եթե կիրառելի է, նշված փորձարկումներն անցկացվում են դեղապատրաստուկի արտադրության գործընթացում ընդ որում, անհրաժեշտ է մասնագրում ներառել ընդունելիության չափորոշիչներ։ Եթե դեղապատրաստուկների զանգվածի մեջ շեղումները գերազանցում են այն շեմային արժեքը, որի դեպքում պարունակության միատարրությունը կարելի է որոշել զանգվածի մեջ շեղումը որոշելու միջոցով, հայտատուները մշակման փուլում պետք է հավաստիանան, որ դեղապատրաստուկի համասեռությունը բավարար է
ե) ջրի պարունակությունը. անհրաժեշտության դեպքում մասնագրում ներառվում է ջրի պարունակության փորձարկումը։ Ընդունելիության չափորոշիչները թույլատրվում է հիմնավորել դեղապատրաստուկի կողմից ջրի կլանման կամ հիդրատացման ազդեցության մասին տվյալներով։ Որոշ դեպքերում բավարար է կիրառել չորացման դեպքում զանգվածի կորստի որոշման մեթոդիկան, սակայն նախընտրելի է կիրառել հայտնաբերման՝ ջրին բնորոշ մեթոդիկան (օրինակ՝ տիտրումը՝ Ֆիշերի մեթոդով)
զ) միկրոկենսաբանական մաքրությունը. միկրոկենսաբանական մաքրության փորձարկումներն անհրաժեշտ են պատշաճ արտադրական գործելակերպի կանոնների կատարումը հաստատելու և դեղապատրաստուկի որակն ապահովելու համար։ Թույլատրվում է դեղապատրաստուկների առնչությամբ այսպիսի փորձարկումներ չանցկացնել, եթե կատարվում է 2 պայման՝
դեղապատրաստուկի բաղադրիչները փորձարկումների են ենթարկվում նախքան արտադրությունն սկսելը,
դեղապատրաստուկի արտադրության գործընթացում, ըստ վալիդացման հետազոտությունների արդյունքների, առկա չէ մանրէային աղտոտման կամ պրոլիֆերացիայի [բջիջների բազմացման] զգալի ռիսկ։
Սույն պահանջների դրույթները տարածվում են օժանդակ նյութերի և դեղապատրաստուկների վրա։ Երկու դեպքում էլ թույլատրվում է կիրառել ընտրողական փորձարկումների անցկացման վրա հիմնված մոտեցումը (եթե դա կիրառելի է) (որոշումների թիվ 6 սխեմա)։
Մասնագրում անհրաժեշտ է ներառել աերոբ միկրոօրգանիզմների ընդհանուր քանակի պարունակության, խմորասնկերի և բորբոսասնկերի ընդհանուր քանակի համար ընդունելիության չափորոշիչները, ինչպես նաև այն բակտերիաների որոշ տեսակների իսպառ բացակայության մասին տեղեկատվությունը, որոնց առկայությունը դեղապատրաստուկի մեջ չի թույլատրվում (օրինակ՝ Staphylococcus aureus, Escherichia coli, Salmonella spp., Pseudomonas aeruginosa)։ Միկրոկենսաբանական մաքրությունը հարկավոր է որոշել համապատասխան դեղագրքային մեթոդիկաների օգնությամբ, ընդ որում, փորձանմուշների ընտրության հաճախականությունը կամ արտադրական գործընթացի ժամանակային կետերը պետք է հիմնավորված լինեն տվյալներով և կուտակված փորձով։ Ընդունելիության չափորոշիչների և միկրոկենսաբանական մաքրության փորձարկումների տեսակի ընտրության դեպքում հարկավոր է հաշվի առնել ակտիվ դեղագործական բաղադրամասի բնույթը, դեղապատրաստուկի արտադրության եղանակը և նշանակությունը։ Ներքին ընդունման համար հեղուկ դեղաձևերի առնչությամբ պատշաճ գիտական հիմնավորման դեպքում թույլատրվում է չանցկացնել միկրոկենսաբանական մաքրության փորձարկումներ։ Լրացուցիչ պարզաբանումներն այն մասին, թե որ դեպքերում է հարկավոր անցկացնել միկրոկենսաբանական փորձարկումներ, ներկայացված են որոշումների թիվ 8 սխեմայում։
Ներքին ընդունման համար հեղուկ դեղաձևերը
41. Ներքին ընդունման համար հեղուկ դեղաձևերի և ներքին ընդունման համար հեղուկ դեղաձևերի պատրաստման համար նախատեսված փոշիների համար կիրառվում են հետևյալ փորձարկումները.
ա) դոզավորման միավորների միատարրությունը. հասկացությունը ներառում է ինչպես զանգվածների փոփոխակման մեթոդով որոշվող դոզավորման միատարրությունը, այնպես էլ դեղապատրաստուկի մեջ ակտիվ դեղագործական բաղադրամասի պարունակության միատարրության մեթոդով որոշվող դոզավորման միատարրությունը։ Փորձարկումների դեպքում անհրաժեշտ է կիրառել դեղագրքային մեթոդիկաներ։ Մասնագրում, որպես կանոն, ներառվում է այդ փորձարկումներից որևէ մեկը, սակայն միաժամանակ ոչ երկուսը։ Եթե կիրառելի է, նշված փորձարկումներն անցկացվում են դեղապատրաստուկի արտադրության գործընթացում ընդ որում, անհրաժեշտ է մասնագրում ներառել ընդունելիության չափորոշիչներ։ Այս կանոնը տարածվում է ինչպես միադեղաչափ, այնպես էլ բազմադեղաչափ փաթեթվածքներով դեղամիջոցների վրա։ Եթե դեղապատրաստուկների զանգվածի մեջ շեղումները գերազանցում են այն շեմային արժեքը, որի դեպքում պարունակության միատարրությունը կարելի է որոշել զանգվածի մեջ շեղումը որոշելու միջոցով, հայտատուները մշակման փուլում պետք է հավաստիանան, որ դեղապատրաստուկի համասեռությունը բավարար է։
Դոզավորման միավորը պացիենտի կողմից 1 ընդունմամբ կիրառվող դեղաչափն է։ Եթե պացիենտի կողմից փաստացի կիրառվող դեղաչափը վերահսկվում է, այն կարելի է որոշել ուղղակիորեն կամ հաշվարկի միջոցով՝ դեղապատրաստուկի ընդհանուր չափված զանգվածը կամ ծավալը դեղաչափերի ենթադրվող թվի վրա բաժանելու միջոցով։ Եթե դոզավորման սարքը (օրինակ՝ բժշկական կաթոցիկը կամ սրվակների համար խցան-կաթոցիչը) փաթեթվածքի բաղկացուցիչ մաս է, ապա դեղաչափի որոշման նպատակով անհրաժեշտ է օգտագործել այդ սարքը։ Հակառակ դեպքում անհրաժեշտ է կիրառել ծավալի չափման ստանդարտ միավորները։ Դոզավորման սարքի ընտրությունը որոշվում է մշակման ընթացքում։ Լուծման համար նախատեսված փոշիների համար, որպես կանոն, ընդունելի է համարվում զանգվածի միատարրության փորձարկումը
բ) pH-ը. եթե կիրառելի է, անհրաժեշտ է ներկայացնել pH տիրույթին առնչվող ընդունելիության չափորոշիչները և դրա ընտրության հիմնավորումները
գ) միկրոկենսաբանական մաքրությունը, միկրոկենսաբանական մաքրության փորձարկումներն անհրաժեշտ են պատշաճ արտադրական գործելակերպի կանոնների կատարումը հաստատելու և դեղապատրաստուկի որակն ապահովելու համար։ Թույլատրվում է դեղապատրաստուկների առնչությամբ այսպիսի փորձարկումներ չանցկացնել, եթե կատարվում է 2 պայման՝
դեղապատրաստուկի բաղադրիչները փորձարկումների են ենթարկվում նախքան արտադրությունն սկսելը,
դեղապատրաստուկի արտադրության գործընթացում, ըստ վալիդացման հետազոտությունների արդյունքների, առկա չէ մանրէային աղտոտման կամ պրոլիֆերացիայի [բջիջների բազմացման] զգալի ռիսկ։
Սույն պահանջների դրույթները տարածվում են ինչպես օժանդակ նյութերի, այնպես էլ դեղապատրաստուկների վրա։ Երկու դեպքում էլ թույլատրվում է կիրառել ընտրողական փորձարկումների անցկացման վրա հիմնված մոտեցումը (եթե դա կիրառելի է) (որոշումների թիվ 6 սխեմա)։
Մասնագրում անհրաժեշտ է նշել աերոբ միկրոօրգանիզմների ընդհանուր քանակի պարունակության, խմորասնկերի և բորբոսասնկերի ընդհանուր քանակի համար ընդունելիության չափորոշիչները, ինչպես նաև այն բակտերիաների որոշ տեսակների իսպառ բացակայության մասին տեղեկատվությունը, որոնց առկայությունը դեղապատրաստուկի մեջ չի թույլատրվում (օրինակ՝ Staphylococcus aureus, Escherichia coli, Salmonella spp., Pseudomonas aeruginosa)։ Միկրոկենսաբանական մաքրությունը հարկավոր է որոշել համապատասխան դեղագրքային մեթոդիկաների օգնությամբ, ընդ որում, փորձանմուշների ընտրության հաճախականությունը կամ արտադրական գործընթացի ժամանակային կետերը պետք է հիմնավորված լինեն տվյալներով և կուտակված փորձով։ Ընդունելիության չափորոշիչների և միկրոկենսաբանական մաքրության փորձարկումների տեսակի ընտրության դեպքում հարկավոր է հաշվի առնել ակտիվ դեղագործական բաղադրամասի բնույթը, դեղապատրաստուկի արտադրության եղանակը և նշանակությունը։ Ներքին ընդունման համար հեղուկ դեղաձևերի առնչությամբ պատշաճ գիտական հիմնավորման դեպքում թույլատրվում է չանցկացնել միկրոկենսաբանական մաքրության փորձարկումներ։ Լրացուցիչ պարզաբանումներն այն մասին, թե որ դեպքերում է հարկավոր անցկացնել միկրոկենսաբանական փորձարկումները, ներկայացված են որոշումների թիվ 8 սխեմայում
դ) հակամանրէային կոնսերվանտի պարունակությունը. ներքին ընդունման համար հեղուկ դեղաձևերի առնչությամբ, որոնց դեպքում պահանջվում է հակամանրէային կոնսերվանտ ավելացնել, անհրաժեշտ է սահմանել դրա պարունակությանն առնչվող ընդունելիության չափորոշիչներ։ Հակամանրէային կոնսերվանտի պարունակության ընդունելիության չափորոշիչների ընտրության դեպքում հարկավոր է առաջնորդվել հակամանրէային կոնսերվանտի այն քանակով, որն անհրաժեշտ է դեղապատրաստուկի կիրառման բոլոր փուլերում և պիտանիության (պահպանման) ողջ ժամկետի ընթացքում դրա միկրոկենսաբանական մաքրությունը պահպանելու համար։ Անհրաժեշտ է դեղագրքային մեթոդիկաների կիրառմամբ ապացուցել միկրոօրգանիզմների աճի դանդաղման առումով հակամանրէային կոնսերվանտի արդյունավետությունը՝ մասնագրում նշված ամենացածր կոնցենտրացիայի դեպքում։ Հակամանրէային կոնսերվանտի պարունակության փորձարկումը, որպես կանոն, անհրաժեշտ է անցկացնել սերիայի թողարկման ժամանակ։ Որոշ դեպքերում թողարկման պահին փորձարկման փոխարեն կարող է բավարար լինել դեղապատրաստուկի արտադրության գործընթացում փորձարկման անցկացումը։ Այն դեպքում, երբ հակամանրէային կոնսերվանտի պարունակության փորձարկումը ներարտադրական է, դրա ընդունելիության չափորոշիչները ևս անհրաժեշտ է ներառել մասնագրում։ Չնայած այն բանին, որ հակամանրէային կոնսերվանտի պարունակության քիմիական փորձարկումը մասնագրում ներառվող ստանդարտ ցուցանիշ է, մշակման, մասշտաբայնացման ժամանակ և պիտանիության (պահպանման) ժամկետի ընթացքում (օրինակ՝ Եվրասիական տնտեսական հանձնաժողովի կոլեգիայի «Դեղապատրաստուկների և դեղագործական բաղադրամասերի կայունության հետազոտությանը ներկայացվող պահանջները հաստատելու մասին» 2018 թվականի մայիսի 10-ի թիվ 69 որոշման մեջ նկարագրված կայունության փորձարկման դեպքում) պետք է ապացուցվի հակամանրէային կոնսերվանտի արդյունավետությունը
ե) հակաօքսիդանտների պարունակությունը. հակաօքսիդանտների պարունակության փորձարկումն անհրաժեշտ է անցկացնել սերիայի թողարկման ժամանակ։ Որոշակի հանգամանքներում դեղապատրաստուկի մշակման տվյալների և կայունության փորձարկման արդյունքների հիման վրա թույլատրվում է փորձարկումը չանցկացնել պիտանիության (պահպանման) ժամկետի ավարտին, իսկ թողարկման ժամանակ փորձարկման փոխարեն անցկացնել դեղապատրաստուկի արտադրության գործընթացում փորձարկում (համապատասխան հիմնավորման առկայության դեպքում)։ Եթե հակաօքսիդանտների պարունակության փորձարկումն անցկացվում է դեղապատրաստուկի արտադրության գործընթացում, ապա ընդունելիության չափորոշիչներն անհրաժեշտ է ներառել մասնագրում։ Եթե հակաօքսիդանտների պարունակության փորձարկումն անցկացվում է բացառապես թողարկման ժամանակ, ապա տեխնոլոգիական գործընթացում կամ փաթեթավորման (խցանափակման) համակարգում փոփոխությունների կատարման դեպքում այդ մոտեցումը կիրառելու համար հարկավոր է անցկացնել կրկնակի փորձարկում
զ) լուծամզվող նյութերը. եթե ակտիվ դեղագործական բաղադրամասի և (կամ) դեղապատրաստուկի մշակման և կայունության փորձարկումների ընթացքում ստացված տվյալները վկայում են այն մասին, որ փաթեթավորման (խցանափակման) համակարգից արտազատվող նյութերի պարունակությունը մշտապես ցածր է պարունակության՝ ընդունելի և անվտանգ մակարդակներից, ապա թույլատրվում է մասնագրից հանել դրանց պարունակության փորձարկումը։ Դեղապատրաստուկի կազմում կամ փաթեթավորման (խցանափակման) համակարգում փոփոխությունների կատարման դեպքում այդ մոտեցումն անհրաժեշտ է վերանայել։ Եթե տվյալները վկայում են փաթեթավորման (խցանափակման) համակարգի բաղադրիչներից (օրինակ՝ ռետինե խցաններից, թասակի միջադիրներից, պլաստիկե սրվակներից և այլն) արտազատվող նյութերի համար ընդունելիության չափորոշիչները ներառելու և փորձարկումներ անցկացնելու անհրաժեշտության մասին, ապա այն դեղապատրաստուկների առնչությամբ, որոնց առաջնային փաթեթվածքը պատրաստված է ոչ ապակուց, կամ որոնք տեղադրված են ոչ ապակուց պատրաստված խցանափակման տարրերով ապակե սրվակներում, նպատակահարմար են արտազատվող նյութերի փորձարկումների անցկացումը և այդ փորձարկումների համար ընդունելիության չափորոշիչների սահմանումը։ Անհրաժեշտ է թվարկել փաթեթավորման (խցանափակման) համակարգի բաղադրիչները և ներկայացնել այդ բաղադրիչների մասին տվյալներ՝ սկսած մշակման ամենավաղ փուլից
է) սպիրտի պարունակությունը. եթե Եվրասիական տնտեսական հանձնաժողովի խորհրդի 2016 թվականի նոյեմբերի 3-ի թիվ 76 որոշմամբ հաստատված՝ Բժշկական կիրառման դեղամիջոցների և անասնաբուժական դեղամիջոցների մակնշմանը ներկայացվող պահանջներին համապատասխան՝ պիտակի վրա եղած տեղեկատվության մեջ նշվում է սպիրտի պարունակությունը, ապա դա անհրաժեշտ է ներառել մասնագրում։ Սպիրտի պարունակությունը որոշվում է ուղղակի քանակական որոշման մեթոդով կամ հաշվարկային մեթոդով
ը) լուծումը. ներքին ընդունման համար կախույթների և վերակախութավորման ենթակա՝ փոշենման չոր դեղապատրաստուկների համար, որակի վերոնշյալ ցուցանիշներից բացի, մասնագրում նպատակահարմար է ներառել (օրինակ՝ չլուծվող ակտիվ դեղագործական բաղադրամասերի համար) լուծման փորձարկումը և ընդունելիության չափորոշիչները։ Լուծման փորձարկումը հարկավոր է անցկացնել սերիայի թողարկման ժամանակ։ Դեղապատրաստուկի մշակման ընթացքում ստացված հիմնավորումների առկայության դեպքում փորձարկումը կարող է անցկացվել դեղապատրաստուկի արտադրության գործընթացում։ Փորձարկման անցկացման համար սարքերը, փորձարկման միջավայրերն ու պայմանները պետք է լինեն դեղագրքային, հակառակ դեպքում անհրաժեշտ է ներկայացնել համապատասխան հիմնավորում։
Դեղագրքային կամ ոչ դեղագրքային պայմանների և սարքերի կիրառմամբ լուծման մեթոդիկաներն անհրաժեշտ է վալիդացնել։
Արագ կապազերծմամբ դեղաձևերի համար, որպես կանոն, բավարար են «միակետ» չափումները։ Ձևափոխված կապազերծմամբ դեղաձևերի համար փորձանմուշների ընտրությունն անհրաժեշտ է իրականացնել բազմաթիվ կետերում՝ համապատասխան ժամանակային ընդմիջումներով։ Ընդունելիության չափորոշիչներն անհրաժեշտ է սահմանել շեղումների դիտվող միջակայքի հիման վրա, ընդ որում, հարկավոր է հաշվի առնել in vivo հետազոտությունների արդյունքներով ընդունելի համարված սերիաների լուծման պրոֆիլները։ Լուծման փորձարկման և ըստ չափի մասնիկների բաշխման փորձարկման միջև ընտրության դեպքում անհրաժեշտ է հաշվի առնել մշակման ընթացքում ստացված տվյալները
թ) ըստ չափի մասնիկների բաշխումը. մասնագրում նպատակահարմար է ներառել ընդունելիության քանակական չափորոշիչները և մասնիկների չափի որոշման մեթոդիկաները։ Լուծման փորձարկման և ըստ չափի մասնիկների բաշխման փորձարկման միջև ընտրության դեպքում անհրաժեշտ է հաշվի առնել մշակման ընթացքում ստացված տվյալները։ Ըստ չափի մասնիկների բաշխման փորձարկումը հարկավոր է իրականացնել թողարկման ժամանակ։ Դեղապատրաստուկի մշակման ընթացքում ստացված տվյալների տեսքով հիմնավորումների առկայության դեպքում փորձարկումը կարող է անցկացվել դեղապատրաստուկի արտադրության գործընթացում։ Եթե մշակման ընթացքում ապացուցվել է, որ դեղապատրաստուկին մշտապես բնորոշ է ակտիվ դեղագործական բաղադրամասի արագ կապազերծումը, ապա թույլատրվում է դիտարկել ըստ չափի մասնիկների բաշխման փորձարկումը մասնագրից հանելու հնարավորությունը։
Հիմնավորումների առկայության դեպքում թույլատրվում է լուծման փորձարկումը փոխարինել ըստ չափի մասնիկների բաշխման փորձարկմամբ։ Ընդունելիության չափորոշիչներում պետք է ներառվի ըստ չափի մասնիկների բաշխումը, որն արտահայտվում է որպես մասնիկների ընդհանուր թվի՝ տվյալ տիրույթում չափ ունեցող մասնիկների տոկոս։ Անհրաժեշտ է հստակ սահմանել մասնիկների միջին, վերին և (կամ) ստորին չափի համար շեմային արժեքներ։
Ընդունելիության չափորոշիչներն անհրաժեշտ է սահմանել շեղումների դիտվող միջակայքի հիման վրա։ Ընդ որում, հարկավոր է հաշվի առնել in vivo հետազոտությունների արդյունքներով ընդունելի համարված սերիաների լուծման պրոֆիլները, ինչպես նաև դեղապատրաստուկի ենթադրվող կիրառությունը։ Մշակման ընթացքում անհրաժեշտ է ուսումնասիրել մասնիկների չափերի մեծացման հնարավորությունը։ Նշված հետազոտությունների արդյունքները հարկավոր է հաշվի առնել ընդունելիության չափորոշիչների ընտրության դեպքում
ժ) վերակախութավորելիությունը. պահման ժամանակ դիսպերս ֆազի մասնիկների նստեցմամբ (նստվածքագոյացմամբ) բնորոշվող կախույթների համար նպատակահարմար է սահմանել վերակախութավորելիությանն առնչվող ընդունելիության չափորոշիչներ։ Համապատասխան մեթոդիկա կարող է ծառայել թափահարումը։ Մասնագրում նշվում է փորձարկման անցկացման մեթոդիկան (մեխանիկական կամ ձեռքով)։ Հարկավոր է հստակ սահմանել այն ժամանակը, որն անհրաժեշտ է վերակախութավորման համար՝ նշված մեթոդիկան կիրառելու դեպքում։ Սերիաների ընտրողական փորձարկումներ անցկացնելու կամ մասնագրից տվյալ ցուցանիշը հանելու հնարավորության հիմնավորման համար կարող են բավարար լինել դեղապատրաստուկի մշակման ընթացքում ստացված տվյալները
ժա) ռեոլոգիական հատկությունները. հարաբերականորեն մածուցիկ լուծույթների և կախույթների համար նպատակահարմար է մասնագրում ներառել ռեոլոգիական հատկությունների (մածուցիկություն, տեսակարար խտություն) փորձարկումները։ Անհրաժեշտ է նշել փորձարկման մեթոդիկան և ընունելիության չափորոշիչները։ Սերիաների ընտրողական փորձարկումներ անցկացնելու կամ մասնագրից տվյալ ցուցանիշը հանելու հնարավորության հիմնավորման համար բավարար են դեղապատրաստուկի մշակման ընթացքում ստացված տվյալները
ժբ) վերականգնման ժամանակը. օգտագործելուց առաջ նոսրացման համար նախատեսված փոշենման չոր դեղապատրաստուկների համար անհրաժեշտ է նշել վերականգնման ժամանակին առնչվող ընդունելիության չափորոշիչները։ Անհրաժեշտ է հիմնավորել լուծիչի ընտրությունը։ Սերիաների ընտրողական փորձարկումներ անցկացնելու կամ մասնագրից տվյալ ցուցանիշը հանելու հնարավորության հիմնավորման համար բավարար են դեղապատրաստուկի մշակման ընթացքում ստացված տվյալները
ժգ) ջրի պարունակությունը. նոսրացման համար նախատեսված՝ ներքին ընդունման դեղապատրաստուկների համար կիրառելիության դեպքում անհրաժեշտ է նշել մեթոդիկան և ջրի պարունակության ընդունելիության չափորոշիչը։ Եթե դեղապատրաստուկի մշակման ընթացքում կլանված խոնավության և հիդրատային ջրի ազդեցությունը լավ է բնութագրվում, ապա բավարար է համարվում չորացման դեպքում զանգվածի կորստի փորձարկման անցկացումը։ Հարկավոր է կիրառել հայտնաբերման՝ ջրին բնորոշ մեթոդիկան (օրինակ՝ տիտրումը՝ Ֆիշերի մեթոդով)։
Պարենտերալ կիրառության համար նախատեսված դեղապատրաստուկները
42. Պարենտերալ դեղապատրաստուկների համար կիրառվում են հետևյալ փորձարկումները.
ա) դոզավորման միավորների միատարրությունը. փորձարկումը մասնագրում ներառելու պայմանները ներկայացված են սույն պահանջների 41-րդ կետի «ա» ենթակետի առաջին պարբերության մեջ։ Ավելացված ակտիվ և օժանդակ այլ նյութեր չպարունակող՝ վերականգնման համար նախատեսված փոշիների, ինչպես նաև վերջնական կոնտեյներում լիոֆիլացված իսկական լուծույթներից ստացված՝ վերականգնման համար նախատեսված բազմաբաղադրիչ փոշիների համար ընդունելի է համարվում զանգվածի միատարրության փորձարկումը
բ) pH-ը. եթե կիրառելի է, անհրաժեշտ է ներկայացնել pH-ին առնչվող ընդունելիության չափորոշիչները և հիմնավորել առաջարկվող տիրույթը
գ) մանրէազերծությունը. պարենտերալ բոլոր դեղապատրաստուկների համար անհրաժեշտ է ներառել մանրէազերծության գնահատման համար ընդունելիության չափորոշիչը և փորձարկման մեթոդիկան։ Եթե մշակման և վալիդացման ընթացքում ստացված տվյալներով հիմնավորվում է ըստ պարամետրերի թողարկումը, թույլատրվում է այդ մոտեցումն առաջարկել տերմինալ (եզրափակիչ) մանրէազերծման ենթարկվող դեղապատրաստուկների համար
դ) բակտերիալ էնդոտոքսինները (պիրոգենները). անհրաժեշտ է մասնագրում ներառել բակտերիալ էնդոտոքսիններին առնչվող փորձարկման մեթոդիկան և ընդունելիության չափորոշիչները՝ կիրառելով պայտաձև ծովախեցգետնի ամեբոցիտների լիզատի օգտագործմամբ մեթոդիկան (ԼԱԼ-թեսթ)։ Հիմնավորումների առկայության դեպքում թույլատրվում է էնդոտոքսինների փորձարկումը փոխարինել պիրոգենության փորձարկմամբ
ե) մեխանիկական ներառումները. պարենտերալ դեղապատրաստուկների համար անհրաժեշտ է նախատեսել մեխանիկական ներառումներին առնչվող ընդունելիության պատշաճ չափորոշիչներ։ Դրանց թվին են դասվում ընդունելիության չափորոշիչները՝ տեսանելի մասնիկների համար, լուծույթի թափանցիկության համար և անհրաժեշտության դեպքում՝ անտեսանելի մասնիկների համար
զ) ջրի պարունակությունը. ոչ ջրային պարենտերալ դեղապատրաստուկների և վերականգնում պահանջող պարենտերալ դեղապատրաստուկների համար հարկավոր է նշել ջրի պարունակությանն առնչվող ընդունելիության չափորոշիչը և վերլուծական մեթոդիկան, ինչպես նշված է սույն պահանջների 41-րդ կետի «ժգ» ենթակետում
է) հակամանրէային կոնսերվանտի պարունակությունը. փորձարկումը մասնագրում ներառելու պայմանները ներկայացված են սույն պահանջների 41-րդ կետի «դ» ենթակետում
ը) հակաօքսիդանտների (հակաօքսիդանտային կոնսերվանտների) պարունակությունը. փորձարկումը մասնագրում ներառելու պայմանները ներկայացված են սույն պահանջների 41-րդ կետի «ե» ենթակետում
թ) լուծամզվող նյութերը. փորձարկումը մասնագրում ներառելու պայմանները ներկայացված են սույն պահանջների 41-րդ կետի «զ» ենթակետում
ժ) մատակարարման համակարգերի գործառութային բնութագրերի փորձարկումը. նախապես լցված ներարկիչների, քարթրիջ-աուտոինժեկտորների կամ դրանց համարժեքների մեջ փաթեթավորված պարենտերալ դեղաձևերն անհրաժեշտ է ենթարկել փորձարկումների՝ մատակարարման համակարգի գործառութային բնութագրերին առնչվող ընդունելիության չափորոշիչներին համապատասխան։ Դրանց թվին են դասվում ասեղի անցանելիության հսկումը, խցանափակիչի ճնշումը և հերմետիկությունը (արտահոսքը) և (կամ) այնպիսի պարամետրեր, ինչպիսիք են պտուտակավոր թասակը հանելու համար գործադրվող ճիգը, մխոցի տեղաշարժման համար գործադրվող ճիգը և ինժեկտորը գործի դնելու համար գործադրվող ճիգը։ Որոշակի հանգամանքներում նշված փորձարկումները կարող են անցկացվել դեղապատրաստուկի արտադրության գործընթացում։ Սերիաների ընտրողական փորձարկումներ անցկացնելու կամ մասնագրից որոշ կամ բոլոր բնութագրերը հանելու հնարավորության հիմնավորման համար բավարար են դեղապատրաստուկի մշակման ընթացքում ստացված տվյալները
ժա) օսմոլյարությունը. եթե դեղապատրաստուկի պիտակի վրա նշվում է դրա տոնիկությունը, անհրաժեշտ է իրականացնել օսմոլյարության պատշաճ հսկողություն։ Դեղապատրաստուկի արտադրության գործընթացում այս փորձարկումը, սերիաների ընտրողական փորձարկումներն անցկացնելու կամ այդ ցուցանիշը հաշվարկային մեթոդով որոշելու հիմնավորման համար կարող են բավարար լինել դեղապատրաստուկի մշակման ընթացքում և վալիդացման ժամանակ ստացված տվյալները
ժբ) ըստ չափի մասնիկների բաշխումը. փորձարկումը մասնագրում ներառելու պայմանները ներկայացված են սույն պահանջների 41-րդ կետի «թ» ենթակետում
ժգ) վերակախութավորելիությունը. փորձարկումը մասնագրում ներառելու պայմանները ներկայացված են սույն պահանջների 41-րդ կետի «ժ» ենթակետում
ժդ) վերականգնման ժամանակը. փորձարկումը մասնագրում ներառելու պայմանները ներկայացված են սույն պահանջների 41-րդ կետի «ժբ» ենթակետում։
Որոշումների թիվ 1 սխեմա
Ակտիվ դեղագործական բաղադրամասի մեջ վերահսկվող խառնուկի համար ընդունելիության չափորոշչի սահմանումը
1. Ռելեվանտ սերիաներ՝ սերիաներ, որոնք ստացվել են մշակման, փորձաարդյունաբերական և արդյունաբերական արտադրության փուլերում իրականացված հետազոտությունների ժամանակ։
2 Վերին վստահելի սահմանաչափը հավասար է սերիաների վերլուծության արդյունքների՝ 3-ով բազմապատկած ստանդարտ շեղմանը։
3 Որոշվում է Հանձնաժողովի կողմից հաստատվող՝ դեղամիջոցների մեջ խառնուկների ուսումնասիրման և մասնագրերում դրանց ներկայացվող պահանջների սահմանման կանոններին համապատասխան։
Որոշումների թիվ 2 սխեմա
Դեղապատրաստուկի մեջ դեգրադացման արգասիքի համար ընդունելիության չափորոշչի սահմանումը
1 Ռելեվանտ սերիաներ՝ սերիաներ, որոնք ստացվել են մշակման, փորձաարդյունաբերական և արդյունաբերական արտադրության փուլերում իրականացված հետազոտությունների ժամանակ։
2 А-ի և В-ի որոշման կարգը ներկայացված է որոշումների թիվ 1 սխեմայում։
3 Որոշվում է Հանձնաժողովի կողմից հաստատվող՝ դեղամիջոցների մեջ խառնուկների ուսումնասիրման և մասնագրերում դրանց ներկայացվող պահանջների սահմանման կանոններին համապատասխան։
Որոշումների թիվ 3 սխեմա
Ակտիվ դեղագործական բաղադրամասի (ԱԴԲ) մասնիկների չափին առնչվող ընդունելիության չափորոշիչների սահմանումը
Որոշումների թիվ 4 սխեմա
Ակտիվ դեղագործական բաղադրամասերի (ԱԴԲ) և դեղապատրաստուկների պոլիմորֆիզմին առնչվող ընդունելիության չափորոշիչների ներդրման անհրաժեշտության որոշումը
Ակտիվ դեղագործական բաղադրամասը
Դեղապատրաստուկ
չլուծված ակտիվ դեղագործական բաղադրամաս պարունակող պինդ կամ հեղուկ դեղաձևի տեսքով՝ դեղապատրաստուկի մեջ պոլիմորֆ ձևերի պարունակության չափման տեխնիկական հնարավորության առկայության դեպքում
Որոշումների թիվ 5 սխեմա
Մասնագրում քիրալային ակտիվ դեղագործական բաղադրամասերի (ԱԴԲ) և քիրալային ակտիվ դեղագործական բաղադրամասեր պարունակող դեղապատրաստուկների համար նույնականացման, քանակական որոշման և էնանտիոմեր-խառնուկների որոշման մեթոդիկաների ներառումը
1 Բնական ծագում ունեցող քիրալային բաղադրամասեր սույն ուղեցույցում չեն դիտարկվում։
2 Ինչպես և այլ խառնուկների առնչությամբ, որոնց աղբյուրն ակտիվ դեղագործական բաղադրամասերի սինթեզի դեպքում օգտագործվող սկզբնական հումքն է, հարկավոր է նախատեսել քիրալային նյութերի որակի հսկողություն՝ համապատասխան սկզբնական հումքի կամ միջանկյալ արտադրանքի համար սահմանելով սահմանաչափեր, եթե դա հիմնավորված է մշակման ընթացքում անցկացված հետազոտությունների արդյունքներով։ Հիմնականում դրանք այն դեպքերն են, երբ առկա են մի քանի (օրինակ՝ 3 և ավելի) քիրալային կենտրոններ, կամ նպատակահարմար է հսկողությունը՝ վերջնական ակտիվ դեղագործական բաղադրամասի սինթեզին նախորդող փուլում։
3 Քիրալային միացության նույնականացման մեթոդիկայի փոխարեն կարող է կիրառվել քանակական որոշման՝ քիրալային միացությանը բնորոշ մեթոդիկան կամ էնանտիոմեր-խառնուկների փորձարկման մեթոդիկան։
4 Քանակական որոշման՝ քիրալային միացությանը բնորոշ մեթոդիկայի փոխարեն կարող է կիրառվել քանակական որոշման՝ քիրալային միացությանը ոչ բնորոշ մեթոդիկան՝ հակադիր էնանտիոմերի հսկողության մեթոդիկայի հետ համակցությամբ։
5 Ակտիվ դեղագործական բաղադրամասի մեջ հակադիր էնանտիոմերի պարունակությունը կարելի է որոշել քանակական որոշման՝ քիրալային միացությանը բնորոշ մեթոդիկայի կամ առանձին մեթոդիկայի օգնությամբ ստացված տվյալների հիման վրա։
6 Դեղապատրաստուկի՝ ստերեոիզոմերներին բնորոշ փորձարկումները կարելի է չանցկացնել, եթե ցույց է տրվել, որ դեղապատրաստուկի արտադրության գործընթացում և պատրաստի դեղաձևի պահման ժամանակահատվածում ռացեմացումն աննշան է։
Որոշումների թիվ 6 սխեմա
Ակտիվ դեղագործական բաղադրամասերի (ԱԴԲ) և օժանդակ նյութերի միկրոկենսաբանական մաքրության ցուցանիշները
Որոշումների թիվ 7 սխեմա
Դեղապատրաստուկների «Լուծում» թեստի համար ընդունելիության չափորոշիչների սահմանումը
Որոշումների թիվ 8 սխեմա
Ոչ մանրէազերծ դեղապատրաստուկների միկրոկենսաբանական մաքրության ցուցանիշները
|
ՀԱՎԵԼՎԱԾ ԹԻՎ 2 Դեղապատրաստուկի որակի վերաբերյալ նորմատիվ փաստաթուղթ կազմելու մասին ուղեցույցի |
(ձև)
ՏԻՏՂՈՍԱԹԵՐԹ
որակի վերաբերյալ նորմատիվ փաստաթղթի
|
ՀԱՄԱՁԱՅՆԵՑՎԱԾ Է ________________________ (ճանաչման պետության լիազորված մարմնի անվանումը) ____________________________ ________________________ (Ա.Ա.Հ., պաշտոնը, ստորագրությունը)
« __ » ____________ 20__ թ. Կ.Տ. |
ՀԱՍՏԱՏՎԱԾ Է ________________________ (ռեֆերենտ պետության լիազորված մարմնի անվանումը) ____________________________ ________________________ (Ա.Ա.Հ., պաշտոնը, ստորագրությունը)
« __ » ____________ 20__ թ. Կ.Տ. |
ՀԱՄԱՁԱՅՆԵՑՎԱԾ Է
_______________________________
(հայտատուի կամ լիազորված
իրավաբանական անձի անվանումը)
_______________________________
_______________________________
(Ա.Ա.Հ., պաշտոնը, ստորագրությունը)
« __ » ____________ 20__ թ.
Կ.Տ.
ՆՈՐՄԱՏԻՎ ՓԱՍՏԱԹՈՒՂԹ
Դեղապատրաստուկի առևտրային անվանումը ____________________________________
Միջազգային չպատենտավորված անվանումը _____________________________________
(դրա բացակայության դեպքում՝ ընդունված (խմբավորող) անվանումը, վերջինիս բացակայության դեպքում՝ քիմիական անվանումը)
Դեղաձևը ___________________________________________________________________
Դեղաչափը __________________________________________________________________
Գրանցման հավաստագրի իրավատերը __________________________________________
(գրանցման հավաստագրի իրավատիրոջ անվանումը և երկիրը)
Նորմատիվ փաստաթղթի համարը և ամսաթիվը ____________________________________
(ռեֆերենտ պետության կողմից տրված գրանցման հավաստագրի համարը և ամսաթիվը)
________________
Պաշտոնական հրապարակման օրը՝ 6 մայիսի 2022 թվական: